GM Service Manual Online
For 1990-2009 cars only

Removal Procedure

  1. Lower the folding top halfway down and prop the top with a suitable support.
  2. Remove the outer arm weatherstrip.
  3. Remove the outer arm weatherstrip retainer. Refer to Front Side Door Window Upper Rear Weatherstrip Retainer Replacement .
  4. Remove the quarter window filler bolts (4).
  5. Remove the quarter window filler (2).
  6. Remove the cover from the outer arm (1) by removing the bolts and peeling the cover away from the adhesive.
  7. Remove the cover retainer cable.

  8. Object Number: 311079  Size: SH
  9. Remove the staples connecting the number 1, 2,  3, and  4 bow position pad (10) to the number  3 bow (9).
  10. Mark the location of the pad.


    Object Number: 311080  Size: SH
  11. Slide the plastic tackstrip along the channel in the number 3 bow in order to reveal the bolts.
  12. Remove the bolts (1) from the number 3 bow (2).


    Object Number: 311083  Size: SH
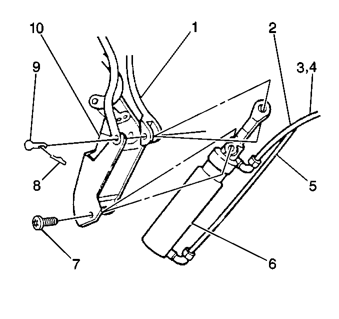
  13. Remove the bolts (13) and washers (4).
  14. Remove the side rail link (2) and the bushing (14) from the outer arm (12).
  15. Remove the front side rail link (11) and bushing (8) from the outer arm (12).

  16. Object Number: 311084  Size: SH
  17. Remove the pivot bracket locking pin (8) and cylinder pivot pin (9).
  18. Remove the cylinder (6) from the outer arm (1).

  19. Object Number: 311086  Size: LH
  20. Remove the bolt (8) attaching the outer arm (9) to the pivot bracket (2).
  21. Remove the outer arm pivot pin retainer (1).
  22. Remove the outer arm (9) with the inner arm link cam (12) attached.
  23. Remove the quarter inner rear trim finish panel. Refer to Cargo Area Side Trim Panel Replacement in Interior Trim.
  24. Remove the speakers. Refer to Radio Rear Speaker Replacement in Interior Trim.
  25. Remove the cylinder bolt.
  26. Remove the number 4 bow links. Refer to Folding Top Bow Link Replacement .
  27. Remove the side rail weatherstrip. Refer to Front Side Door Window Upper Rear Weatherstrip Retainer Replacement .
  28. Remove the side rail weatherstrip retainer. Refer to Front Weatherstrip Replacement .
  29. Remove the side rail garnish molding. Refer to Windshield Pillar Garnish Molding Replacement .

  30. Object Number: 311083  Size: SH
  31. Remove the bolts (10) and washers (4).
  32. Remove the side rail link (2) and the bushing (8) from the side rail (1).
  33. Remove the pivot bracket nuts.

  34. Object Number: 311084  Size: SH
  35. Remove the pivot bracket (10).
  36. Remove the old adhesive from the outer arm (1).

Disassembly Procedure


    Object Number: 311086  Size: LH
  1. Remove the side rail link pivot bolt (11), washer (10), and the rear side rail link nut (3).
  2. Remove the balance link part of the side rail link and the bushing (6) from the idler link part of the pivot bracket.

Assembly Procedure


    Object Number: 311086  Size: LH
  1. Install the balance link and bushing (6) to the idler link.
  2. Notice: Use the correct fastener in the correct location. Replacement fasteners must be the correct part number for that application. Fasteners requiring replacement or fasteners requiring the use of thread locking compound or sealant are identified in the service procedure. Do not use paints, lubricants, or corrosion inhibitors on fasteners or fastener joint surfaces unless specified. These coatings affect fastener torque and joint clamping force and may damage the fastener. Use the correct tightening sequence and specifications when installing fasteners in order to avoid damage to parts and systems.

  3. Install the side rail link pivot bolt (11), the washer (10), and the rear side rail link nut (3).
  4. Tighten
    Tighten the bolt (11) to 17 N·m (13 lb ft).

Installation Procedure

  1. Use Hughes P/N HC-4183, 3M® P/N 8046, or equivalent adhesive on headliner or top cover attaching surfaces.

  2. Object Number: 311084  Size: SH
  3. Install the pivot bracket (10).
  4. Install the pivot bracket nuts.

  5. Object Number: 311083  Size: SH
  6. Install the side rail link (2) and bushing (8) to the side rail (1).
  7. Notice: Use the correct fastener in the correct location. Replacement fasteners must be the correct part number for that application. Fasteners requiring replacement or fasteners requiring the use of thread locking compound or sealant are identified in the service procedure. Do not use paints, lubricants, or corrosion inhibitors on fasteners or fastener joint surfaces unless specified. These coatings affect fastener torque and joint clamping force and may damage the fastener. Use the correct tightening sequence and specifications when installing fasteners in order to avoid damage to parts and systems.

  8. Install the bolts (10) and the washers (4).
  9. Tighten
    Tighten the bolts (10) to 17 N·m (13 lb ft).

  10. Install the side rail garnish molding. Refer to Windshield Pillar Garnish Molding Replacement in Interior Trim.
  11. Install the side rail weatherstrip retainer. Refer to Folding Top Side Front Weatherstrip Replacement .
  12. Install the side rail weatherstrip. Refer to Front Side Door Window Upper Rear Weatherstrip Retainer Replacement .
  13. Install the number 4 bow links. Refer to Folding Top Bow Link Replacement .
  14. Install the cylinder bolt.
  15. Tighten
    Tighten the bolt to 5 N·m (44 lb in).

  16. Install the speakers. Refer to Radio Rear Speaker Replacement .

  17. Object Number: 311086  Size: LH
  18. Install the quarter inner rear trim finish panel. Refer to Cargo Area Side Trim Panel Replacement in Interior Trim.
  19. Install the outer arm (9) with the inner arm cam link (12) attached.
  20. Install the outer arm pivot pin retainer  (1).
  21. Install the bolt (8) attaching the outer arm (9) to the pivot bracket (2).
  22. Tighten
    Tighten the bolt (8) to 17 N·m (13 lb ft).


    Object Number: 311084  Size: SH
  23. Install the cylinder (6) to the outer arm (1).
  24. Install the cylinder pivot pin (9) and the pivot bracket locking pin (8).

  25. Object Number: 311083  Size: SH
  26. Install the side rail link (2) and bushing (14) to the outer arm (12).
  27. Install the bolt (13) and washer (4) and attaching the front side rail link (11) and bushing (8) to the outer arm (12).
  28. Tighten
    Tighten the bolt to 17 N·m (13 lb ft).


    Object Number: 311079  Size: SH
  29. Install the number 3 bow bolts.
  30. Tighten
    Tighten the bolts (1) to 10 N·m (89 lb in).

  31. Install the number 1, 2, 3, and  4 bow position pad (10) to the original position on the number 3 bow (9).
  32. Install the staples at their original locations.


    Object Number: 311084  Size: SH
  33. Install the cover retainer cable.
  34. Install the cover to the outer arm (1).
  35. 23.1. Apply adhesive to the outer arm and to the portion of the cover being attached.
    23.2. Press the cover into place.
    23.3. Install the bolts.

    Object Number: 311089  Size: SH
  36. Install the quarter window filler (2).
  37. Install the quarter window filler bolts (4).
  38. Tighten
    Tighten the bolts to 10 N·m (89 lb in).

  39. Install the outer arm weatherstrip retainer. Refer to Front Side Door Window Upper Rear Weatherstrip Retainer Replacement .
  40. Install the outer arm weatherstrip. Refer to Front Weatherstrip Replacement .
  41. Caution: Unless directed otherwise, the ignition and start switch must be in the OFF or LOCK position, and all electrical loads must be OFF before servicing any electrical component. Disconnect the negative battery cable to prevent an electrical spark should a tool or equipment come in contact with an exposed electrical terminal. Failure to follow these precautions may result in personal injury and/or damage to the vehicle or its components.

  42. Connect the negative battery cable.
  43. Remove the support prop and raise the folding top.