GM Service Manual Online
For 1990-2009 cars only

Tow Hook Replacement Front (Export)

Removal Procedure

  1. Raise and suitably support the vehicle. Refer to Lifting and Jacking the Vehicle in General Information.
  2. Remove the front bumper fascia air deflector. Refer to Front Bumper Fascia Air Deflector Replacement in Bumpers.
  3. Remove the horn. Refer to Horn Replacement in Horns.

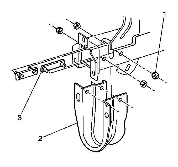
  4. Object Number: 379409  Size: SH
  5. Remove the tow hook reinforcement nuts (1).
  6. Remove the tow hook mounting plates (3).
  7. Remove the tow hook (2) from rail.

Installation Procedure


    Object Number: 379409  Size: SH
  1. Install the tow hook (2) to the rail.
  2. Install the tow hook mounting plates (3).
  3. Notice: Use the correct fastener in the correct location. Replacement fasteners must be the correct part number for that application. Fasteners requiring replacement or fasteners requiring the use of thread locking compound or sealant are identified in the service procedure. Do not use paints, lubricants, or corrosion inhibitors on fasteners or fastener joint surfaces unless specified. These coatings affect fastener torque and joint clamping force and may damage the fastener. Use the correct tightening sequence and specifications when installing fasteners in order to avoid damage to parts and systems.

  4. Install the tow hook reinforcement nuts (1).
  5. Tighten
    Tighten the tow hook reinforcement nuts (1) to 70 N·m (52 lb ft).

  6. Install the horn. Refer to Horn Replacement in Horns.
  7. Install the front bumper fascia air deflector. Refer to Front Bumper Fascia Air Deflector Replacement in Bumpers.
  8. Lower the vehicle.

Tow Hook Replacement Rear Pontiac (Export)

Removal Procedure

  1. Raise and suitably support the vehicle. Refer to Lifting and Jacking the Vehicle in General Information.

  2. Object Number: 379411  Size: SH
  3. Remove the rear tow hook bolt.
  4. Remove the rear tow hook from the vehicle.

  5. Object Number: 379410  Size: SH
  6. Remove the rear tow hook spacer, if necessary perform the following:
  7. 4.1. Remove the rear bumper impact bar. Refer to Rear Bumper Impact Bar Replacement in Bumpers.
    4.2. Unclip the spacer from the lower flange of the longitudinal rail.
    4.3. Rotate the spacer 90 degrees.
    4.4. Remove the spacer through the access slot in the rear end panel.

Installation Procedure


    Object Number: 379410  Size: SH
  1. Install the rear tow hook spacer, if necessary perform the following:
  2. 1.1. Install the spacer through the access slot in the rear end panel.
    1.2. Rotate the spacer 90 degrees.
    1.3. Clip the spacer to the lower flange of the longitudinal rail.
    1.4. Install the rear bumper impact bar. Refer to Rear Bumper Impact Bar Replacement in Bumpers.

    Object Number: 379411  Size: SH
  3. Install the rear tow hook to the vehicle.
  4. Notice: Use the correct fastener in the correct location. Replacement fasteners must be the correct part number for that application. Fasteners requiring replacement or fasteners requiring the use of thread locking compound or sealant are identified in the service procedure. Do not use paints, lubricants, or corrosion inhibitors on fasteners or fastener joint surfaces unless specified. These coatings affect fastener torque and joint clamping force and may damage the fastener. Use the correct tightening sequence and specifications when installing fasteners in order to avoid damage to parts and systems.

  5. Instal the rear tow hook bolt.
  6. Tighten
    Tighten the rear tow hook bolt to 205 N·m (151 lb ft).

  7. Lower the vehicle.

Tow Hook Replacement Rear Chevrolet (Export)

Removal Procedure

  1. Raise and suitably support the vehicle. Refer to Lifting and Jacking the Vehicle in General Information.

  2. Object Number: 379413  Size: SH
  3. Remove the rear tow hook bolt.
  4. Remove the rear tow hook from the vehicle.

  5. Object Number: 379410  Size: SH
  6. Remove the rear tow hook spacer, if necessary perform the following:
  7. 4.1. Remove the rear bumper impact bar. Refer to Rear Bumper Impact Bar Replacement in Bumpers.
    4.2. Unclip the spacer from the lower flange of the longitudinal rail.
    4.3. Rotate the spacer 90 degrees.
    4.4. Remove the spacer through the access slot in the rear end panel.

Installation Procedure


    Object Number: 379410  Size: SH
  1. Install the rear tow hook spacer, if necessary perform the following:
  2. 1.1. Install the spacer through the access slot in the rear end panel.
    1.2. Rotate the spacer 90 degrees.
    1.3. Clip the spacer to the lower flange of the longitudinal rail.
    1.4. Install the rear bumper impact bar. Refer to Rear Bumper Impact Bar Replacement in Bumpers.

    Object Number: 379413  Size: SH
  3. Install the rear tow hook from the vehicle.
  4. Notice: Use the correct fastener in the correct location. Replacement fasteners must be the correct part number for that application. Fasteners requiring replacement or fasteners requiring the use of thread locking compound or sealant are identified in the service procedure. Do not use paints, lubricants, or corrosion inhibitors on fasteners or fastener joint surfaces unless specified. These coatings affect fastener torque and joint clamping force and may damage the fastener. Use the correct tightening sequence and specifications when installing fasteners in order to avoid damage to parts and systems.

  5. Install the rear tow hook bolt.
  6. Tighten
    Tighten the rear tow hook bolt to 205 N·m (151 lb ft).

  7. Lower the vehicle.