GM Service Manual Online
For 1990-2009 cars only

Quarter Panel Replacement Coupe

The quarter assembly has been specially designed for improved serviceability. Additional panels have been added allowing for easier and faster service. The quarter panel assembly is attached to the structure with resistance welds. To remove the quarter panel assembly, the welds must be drilled out using an 8 mm (5/16 in) drill bit. The roof outer panel covers a section of the quarter panel assembly at the top and must be positioned out of the way to provide access to the welds. At the bottom of the quarter panel assembly at the rocker panel, there are four hidden welds. They can only be accessed after all the other welds have been drilled out. The quarter panel assembly can be pulled forward and the welds drilled from inside.

Removal Procedure


    Object Number: 349700  Size: SH

    Important: Care must be taken when working around the roof outer panel. Failure to use care may result in damage to the roof outer panel. In this case, additional time will be needed in repairing it. Refer to Rigid Plastic Part Repair Materials Rigid Plastic Repair procedures.

    Important: Service of the quarter panel assembly by splicing a joint just below the roof panel is not recommended. The panel is structural in this area, and splicing will reduce the integrity of the vehicle.

  1. Make a cut at the top of the quarter panel assembly as close to the roof panel overlap as possible without damage it.
  2. Drill out visible plug welds around the quarter panel assembly. Be sure to note the number and location of welds for the new quarter panel assembly.

  3. Object Number: 349701  Size: SH
  4. Cut inboard flanges fore and aft of the lower quarter panel assembly at the rocker panel assembly.
  5. Pull upper portion of the quarter panel assembly away from the vehicle and drill out the four inner plug welds at the rocker panel assembly.
  6. Remove the quarter panel assembly.

  7. Object Number: 349703  Size: SH
  8. With a hammer and a flat punch, flatten the quarter panel flange remaining at the roof line.
  9. With a Chicago pneumatic knife using the 3 1/2 in offset blade, P/N KF-140665 or the Equalizer Magnum, cut the urethane adhesive at the bottom edge of the roof outer panel.

  10. Object Number: 349707  Size: SH
  11. With a service wire, using upward movements, saw urethane from the roof panel away from the B pillar area. Cut to the top of the roof outer panel using caution to avoid damage.

  12. Object Number: 349709  Size: SH

    Important: Use caution when lifting the roof panel. Damage to the panel may occur at top radius.

  13. To reveal hidden welds, pull the roof outer panel outward. Support it out of the way. Be careful not to lift the panel too far since damage to the roof outer panel may occur.
  14. Drill out exposed welds to remove the flange.

Installation Procedure

  1. Prepare mating surfaces for installation of the new quarter panel assembly.
  2. Important: If original is beyond recognition place holes for welding 38 mm (1 1/2 in) apart.

  3. Drill the holes in locations as noted from the original quarter panel assembly.
  4. Align the new quarter panel assembly and measure.

  5. Object Number: 349711  Size: SH
  6. With the upper quarter panel assembly pulled away from the vehicle, use a MIG welder to replace the welds in the bottom at the rocker panel.
  7. Align the remainder of the quarter panel assembly and clamp in place.

  8. Object Number: 349709  Size: SH
  9. Plug weld remaining locations.
  10. At the roof outer panel, remove loose adhesive and clean all surfaces for refinishing as necessary.
  11. Important: Be careful not to prime over existing or remaining urethane.

  12. Prime with an anticorrosion-type primer to restore damaged ELPO surface. If additional primer for adhesive area is required, see package for appropriate primer.
  13. Rebond roof outer panel using GM Urethane P/N 12345633 or equivalent.

Quarter Panel Replacement Convertible

Removal Procedure

The Camaro/Firebird convertible quarter panel assembly is specially designed for added strength and rigidity. Additional panels have been added to the service part to permit easier and faster service. The quarter panel assembly is attached to the vehicle structure with factory welds. To remove the quarter panel assembly, the welds must be drilled out.

Replacement procedures for the quarter panel assembly on convertibles are not the same as for the hardtop. On convertibles, the OEM quarter panel assembly must be cut just above where it is welded to the rocker panel. The service part is then trimmed and plug welded to the flange of the OEM panel.


    Object Number: 349737  Size: SH
  1. Remove all related panels and components.
  2. Visually inspect the damaged area.
  3. Restore as much of the damage as possible to factory specifications.
  4. Important: Note the number and location of welds for installation of the service assembly.

  5. Remove sealers and anti-corrosion materials as necessary.
  6. Locate all factory welds.
  7. Mark all factory welds.
  8. Drill out all factory welds.
  9. Apply a piece of 1-inch tape at the bottom of the front lower section of the original quarter panel where it attaches to the rocker panel (1).
  10. Cut the original quarter panel at the top edge of the tape.
  11. Remove the panel from the vehicle.
  12. Remove the tape from the flange.
  13. Bend the remaining portion of the original quarter panel assembly up and inboard. This will allow the new panel to be positioned properly when it is installed.

Installation Procedure


    Object Number: 349738  Size: SH
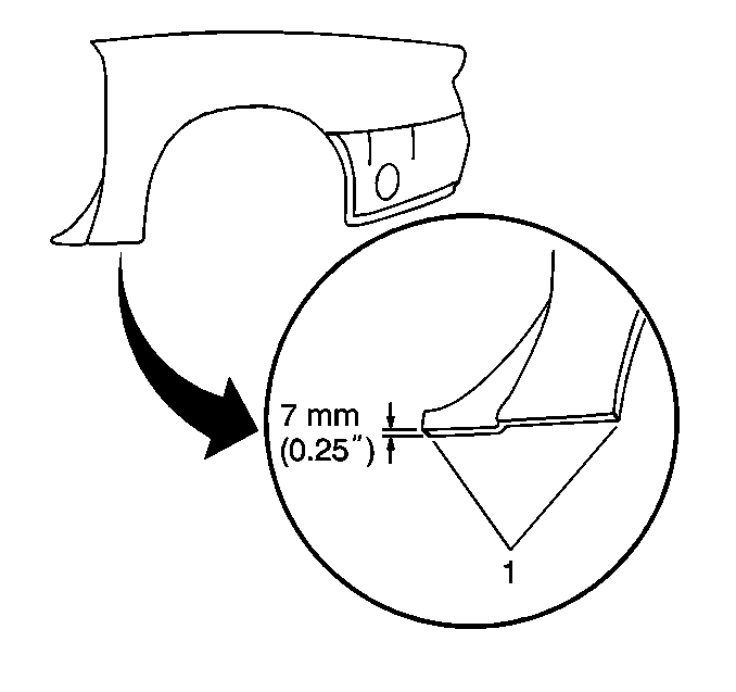
  1. Prepare the new quarter panel assembly by trimming the inner flange on the lower front section (1) to 7 mm (1/4 in).
  2. Prepare the mating surfaces.
  3. Position the new quarter panel to overlap the roof panel at the pillar.
  4. Check for proper fit.

  5. Object Number: 349739  Size: SH
  6. Drill 8 mm (5/16 in) holes in the face if the front lower portion of the new quarter panel assembly. Space the holes evenly across the front surface approximately 35 mm (1 1/2 in) apart (1).
  7. Important: If the original component is damaged beyond recognition or the location for replacement welds is unknown, locate the weld holes 35 mm (1 1/2 in) apart.

  8. Drill holes in the remaining locations as noted from the original quarter panel assembly.

  9. Object Number: 349741  Size: SH

    Important: Do not stitch weld at the front edge of the quarter where it contacts the rocker panel (1).

  10. Position the new assembly.
  11. Mig plug weld all previously welded locations including five additional areas at the front lower portion of the new quarter panel.
  12. Clean and prepare all welded surfaces.
  13. Important: Prior to refinishing, refer to GM 4901MD-99 Refinish Manual. Do not combine paint systems. Refer to paint manufacturer's recommendations.

  14. Prime with 2-part catalyzed primer.
  15. Important: When you replace the quarter panel ensure that the fuel filler neck is properly sealed. Use SPO Sealing Strip (P/N 312399117) between the quarter panel and the filler neck. Install using the provided instructions.

  16. Apply the sealers and the anti-corrosion materials as necessary.
  17. Install all related panels and components.