GM Service Manual Online
For 1990-2009 cars only
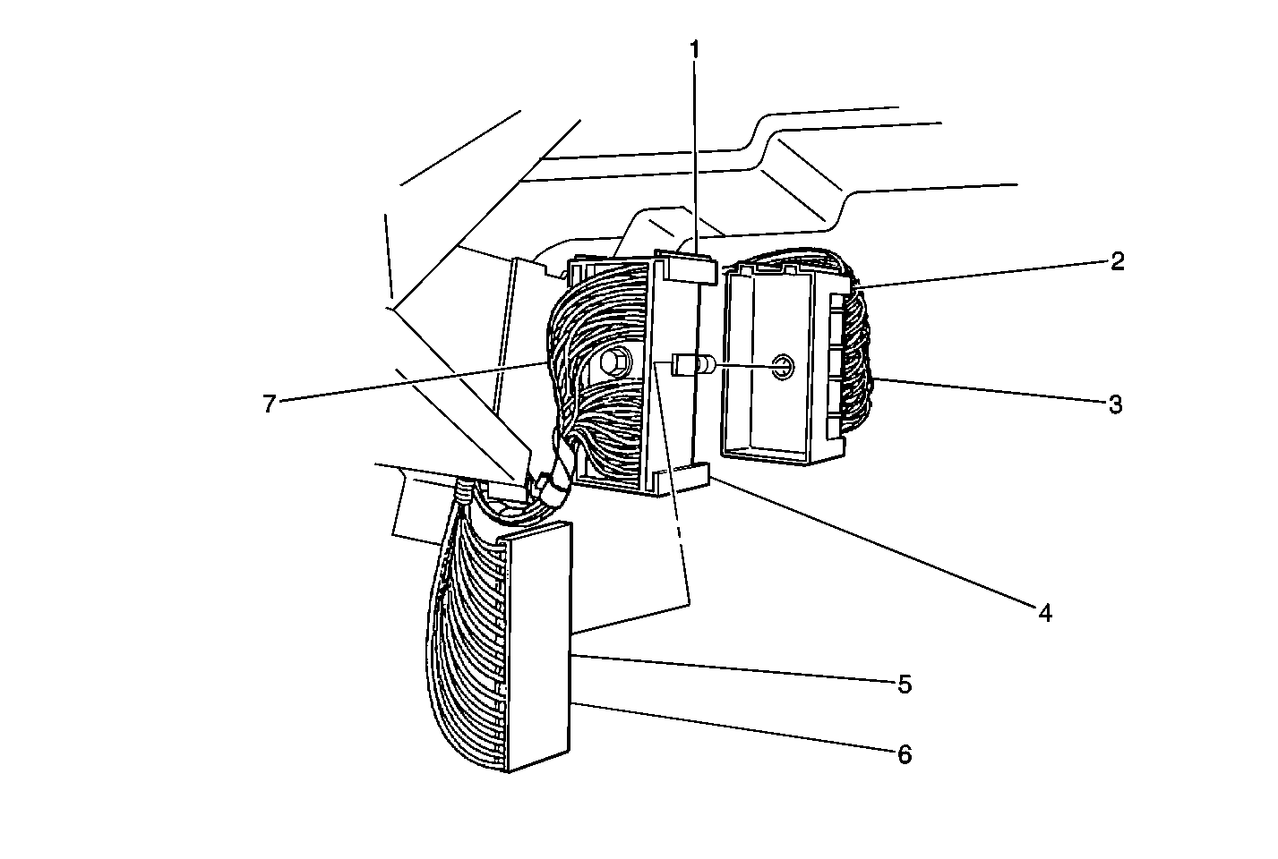
Figure 1:

Right Front Engine Compartment


Object Number: 383100  Size: MF
(1)Headlamp Jumper Harness
(2)Forward Lamp Harness
(3)C160 Left or C165 Right
Figure 2:

Foward Lamp Harness Grounds


Object Number: 383103  Size: MF
(1)G106
(2)Radiator Support
(3)G105
(4)Foward Lamp Harness
Figure 3:

Right Front Engine Compartment


Object Number: 383106  Size: MF
(1)G102
(2)Forward Lamp Harness
(3)Forward Lamp Harness
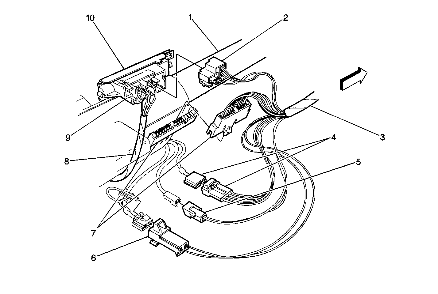
Figure 4:

Engine Compartment


Object Number: 383107  Size: MF
(1)P100
(2)Foward Lamp Harness
(3)Engine Wiring Harness Junction Block 1
(4)Engine Wiring Harness Junction Block 2
(5)C102
(6)C100
(7)C105
(8)C101
(9)Powertrain Control Module (PCM)
(10)P110
(11)Vehicle Speed Sensor
(12)Engine Harness
Figure 5:

Lower Left Side of Engine (V6 VIN K)


Object Number: 386724  Size: MF
(1)Power Feed to Starter Motor Solenoid
(2)Starter Solenoid
(3)Starter Motor
(4)G111
Figure 6:

Lower Left Front of Engine (V8 VIN G)


Object Number: 383110  Size: MF
(1)Engine Coolant Temperature (ECT) Sensor
(2)G111
(3)Generator
Figure 7:

Upper Left Rear Side of Engine (V8 VIN G)


Object Number: 383112  Size: MF
(1)Knock Sensor Connector
(2)Engine Oil Pressure Sensor
(3)Engine Harness
(4)G110
(5)Left Cylinder Head
Figure 8:

Underhood Electrical Centers


Object Number: 383116  Size: MF
(1)Engine Wiring Harness Junction Block 2
(2)Engine Wiring Harness Junction Block 1
(3)Forward Lamp Harness
(4)Headlamp Connectors (Pontiac)
(5)G101
Figure 9:

Front Right Side of Engine (V6 VIN K)


Object Number: 383120  Size: MF
(1)G110
(2)A/C Compressor Clutch Connector
(3)A/C Compressor
Figure 10:

Rear Left Side of Engine (V6 VIN K)


Object Number: 383124  Size: MF
(1)G112
(2)Left Manifold Heater Oxygen Sensor Connector
Figure 11:

Lower Right Side of Engine (V8 VIN G)


Object Number: 383126  Size: MF
(1)G100
(2)A/C Compressor
(3)Battery Cable
(4)Starter Motor
(5)Starter Solenoid
Figure 12:

Rear Left Side of Engine (V6 VIN K)


Object Number: 383185  Size: MF
(1)G112
(2)Left Manifold Heater Oxygen Sensor Connector
Figure 13:

Lower Right Side of Engine (V6 VIN K)


Object Number: 383186  Size: MF
(1)G100
Figure 14:

Left Frame Rail


Object Number: 383189  Size: MF
(1)Brake Pressure Modulator Valve (BPMV) Bracket
(2)G109 Cruise Control Ground (V8 VIN G)
(3)G109
(4)Left Front Frame Rail
Figure 15:

Interior Body


Object Number: 383191  Size: MF
(1)Stop Lamp Switch and Clutch Anticipate Switch
(2)Engine Harness
(3)Door Switch
(4)Instrument Panel Wiring Harness
(5)Rear Wheel Speed Sensor Harness
(6)Fuel Tank Sender Harness
(7)Cruise Control Jumper
(8)Forward Lamp Harness
Figure 16:

Clutch Jumper Harness Combinations (V6 VIN K)


Object Number: 383196  Size: MF
(1)Foward Lamp Harness
(2)Cruise Control/Clutch Anticipate Switch Connector
(3)Instrument Panel Wiring Harness
(4)C270 with Manual Transmission with Cruise Control
(5)Cruise Control Release (Brake) Switch Connector
(6)C270 with Manual Transmission, w/o Cruise Control
(7)C270 with Manual Transmission, w/o Cruise Control
Figure 17:

Clutch Jumper Harness Combinations (V8 VIN G)


Object Number: 383198  Size: MF
(1)Foward Lamp Harness
(2)C250 with Automatic Transmission and Cruise Control
(3)Cruise Control Release (Brake) Switch Connector
(4)Cruise Control (Clutch) Switch Connector
(5)Cruise Control Release (Brake) Switch Connector
(6)C250 with Manual Transmission and Cruise Control
(7)Forward Lamp Harness
Figure 18:

Chevrolet IP Ground (Pontiac Similar)


Object Number: 383201  Size: MF
(1)G201
(2)Instrument Panel Wiring Harness
(3)Instrument Panel Wiring Harness
(4)Crosscar Wiring Harness
(5)G200
Figure 19:

Dash Panel


Object Number: 383208  Size: MF
(1)Crosscar Harness
(2)P600
(3)Power Window Control Module
(4)P500
Figure 20:

Right Side of the IP


Object Number: 383211  Size: MF
(1)C220
(2)C230
(3)IP Wiring Harness
(4)G201
Figure 21:

Behind Lower Left Side of IP


Object Number: 383214  Size: MF
(1)C212
(2)C211
(3)Accelerator and Servo Control Module
(4)P100
(5)Forward Lamps Harness
Figure 22:

Base of Steering Column


Object Number: 383219  Size: MF
(1)Steering Column
(2)Ignition Switch
(3)Ignition Switch Connector C2
(4)C215 (Not Attached to Column)
(5)Dimmer Switch Connector
(6)Foward Lamp Harness
Figure 23:

Steering Column


Object Number: 383667  Size: MF
(1)Steering Column
(2)Ignition Switch Connector C1
(3)IP Wiring Harness
(4)C217
(5)Ignition Key Lock Cylinder (Resistor Pellet) Connector
(6)C218
(7)C216
(8)Forward Lamp Harness
(9)Ignition Switch Connector C2
(10)Ignition Switch
Figure 24:

Under Console, Left Side (Automatic Transmission)


Object Number: 386744  Size: MF
(1)Folding Top Switch Connector
(2)Cigar Lighter Connector
(3)Auxilary Power Connector
(4)G202
(5)Seat Belt Switch Connector
(6)IP Wiring Harness
(7)BTSI Connector
(8)Traction Control or Second Gear Start Switch Connector
Figure 25:

Under Console, Left Side (Manual Transmission)


Object Number: 386750  Size: MF
(1)Folding Top Switch Connector
(2)Cigar Lighter Connector
(3)Traction Control Switch Connector (Pontiac)
(4)Auxilary Power Connector
(5)G202
(6)Seat Belt Switch Connector
(7)IP Wiring Harness
Figure 26:

Seats


Object Number: 386754  Size: MF
(1)Passenger Seat
(2)Driver Seat
(3)C300
(4)C305
Figure 27:

Bottom of Driver Seat (AG1)


Object Number: 383678  Size: MF
(1)C310
Figure 28:

Rear Left Side of IP


Object Number: 383681  Size: MF
(1)Forward Lamp Harness
(2)C200D
(3)IP Wiring Harness
(4)C200B
(5)Crosscar Wiring Harness
(6)C200C
(7)C200A
Figure 29:

Left Rocker Panel


Object Number: 383692  Size: MF
(1)G305
(2)IP Wiring Harness
(3)C310
(4)Number 3 Floor Pan Rail
(5)G305
(6)Rocker Panel
Figure 30:

Underside of Rear Compartment Lid (Coupe)


Object Number: 383712  Size: MF
(1)Rear Defogger Grid Connector (Left Side)
(2)C420
(3)Rear Defogger Grid Connector (Right Side)
(4)Hatch Harness
(5)P300
Figure 31:

Center Rear of Roof Panel


Object Number: 383721  Size: MF
(1)Hatch Wiring Harness
(2)Instrument Panel Wiring Harness
(3)G310
(4)C330
(5)Dome Lamp Connector
Figure 32:

Rear Body


Object Number: 383726  Size: MF
(1)Rear End Panel
(2)IP Wiring Harness Ground
(3)G400 Rear Lamp Harness Ground
Figure 33:

Underside of Rear Compartment Lid (Chevrolet Convertible)


Object Number: 383735  Size: MF
(1)CHMSL Wiring Harness
(2)CHMSL Wiring Harness Assembly Connector
(3)IP Wiring Harness
Figure 34:

Underside of Rear Compartment Lid (Pontiac Convertible)


Object Number: 383736  Size: MF
(1)CHMSL Harness
(2)CHMSL Wiring Harness Assembly Connector
(3)IP Wiring Harness
Figure 35:

Outside Left of Rear Floor Pan, Forward of Rear Axle


Object Number: 383738  Size: MF
(1)C405B
(2)IP Wiring Harness
(3)C405C
(4)Rear Wheel Speed Sensor Harness
Figure 36:

Rear Compartment (Coupe)


Object Number: 386758  Size: MF
(1)Hatch Harness
(2)Rear Body Harness
(3)Rear Fascia Harness
(4)P400
(5)C400
(6)IP Harness
Figure 37:

Inside Rear Convertible Top


Object Number: 386764  Size: MF
(1)Rear Defogger Grid
(2)C320
(3)Folding Top Glass
Figure 38:

Rear Fascia


Object Number: 386767  Size: MF
(1)C430
(2)Rear Fascia Wiring Harness