GM Service Manual Online
For 1990-2009 cars only
Makes
🢒
Pontiac
🢒
2001
🢒
Firebird
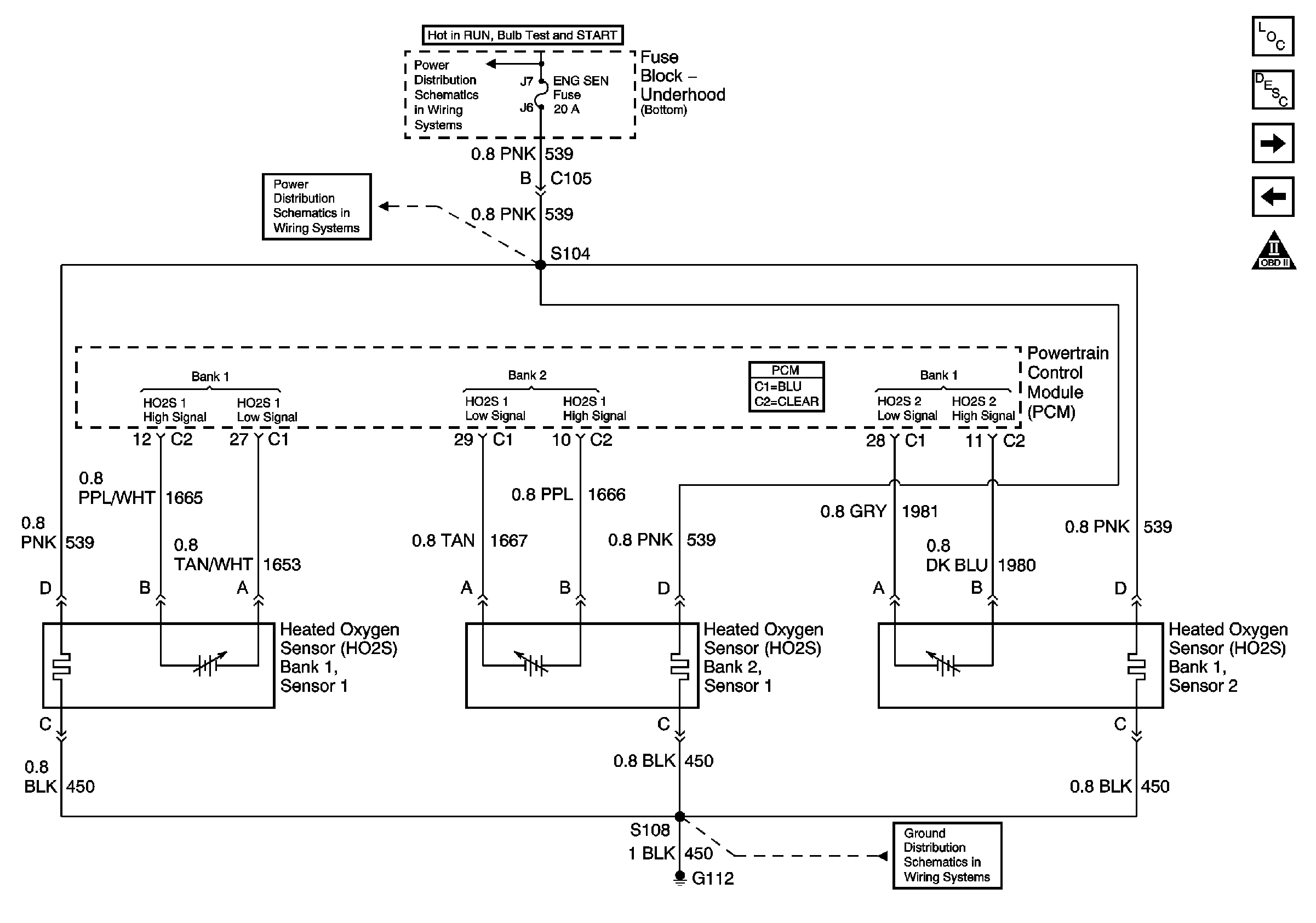
🢒 Heated Oxygen Sensors
Heated Oxygen Sensors
Heated Oxygen Sensors
Master Electrical Component List
Powertrain Control Module Description
MAF Sensor, EVAP System, EGR Valve
MAP, ECT, IAT Sensors
OBD II Symbol Description Notice
G112 V6 VIN K
Powertrain Control Module Connector End Views
ENG SEN Fuse
ENG SEN Fuse