GM Service Manual Online
For 1990-2009 cars only
Makes
🢒
Pontiac
🢒
2001
🢒
Firebird
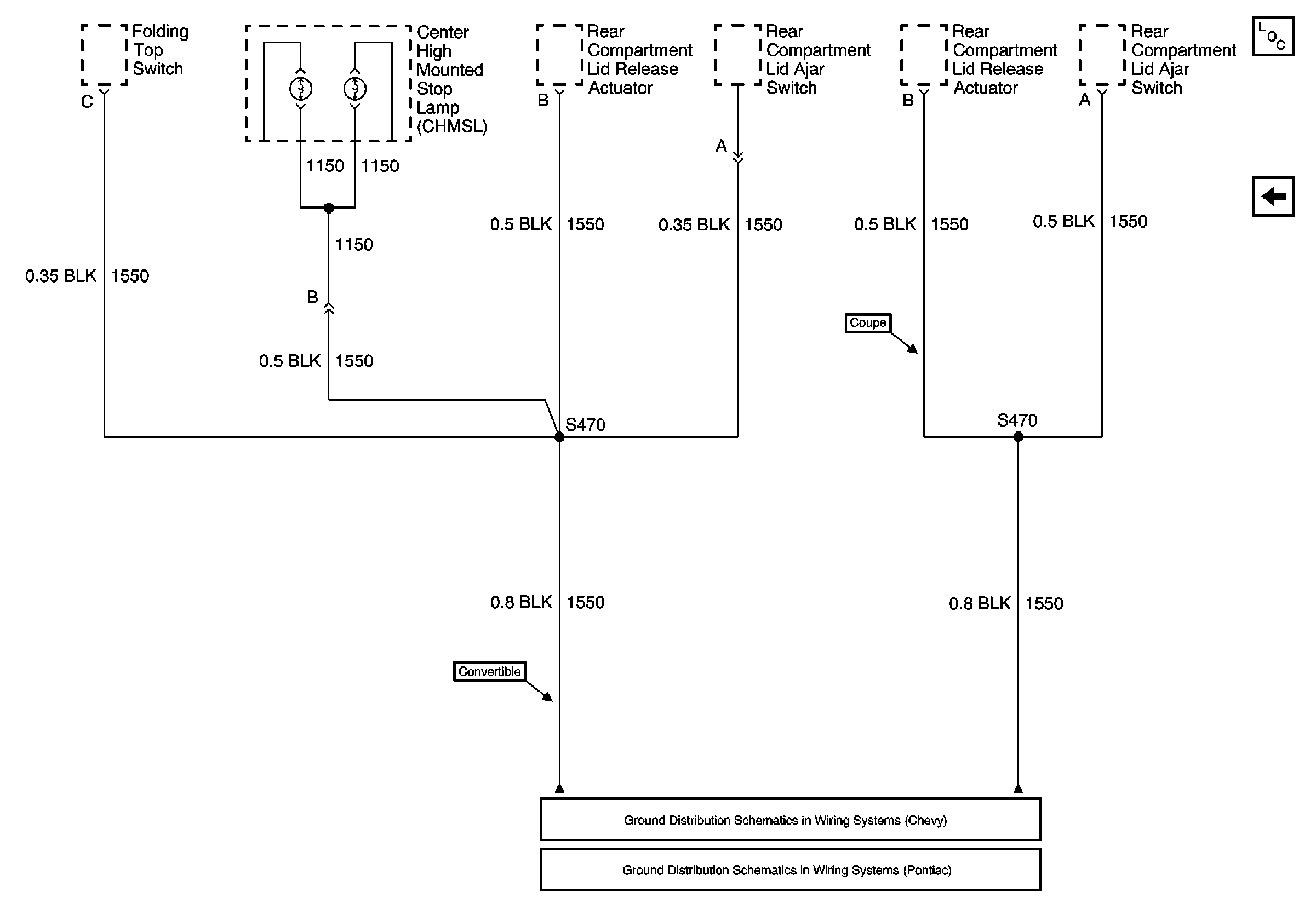
🢒 G400 Splice S470
G400 Splice S470
G400 Splice S470