GM Service Manual Online
For 1990-2009 cars only

Seat Belt Retractor Replacement - Right Front Coupe

Removal Procedure


    Object Number: 179990  Size: SH
  1. Remove the plug (2) from the anchor plate bolt (3).
  2. Remove the anchor plate bolt (3) that attaches the plate (4) to the rocker panel.
  3. Remove the plate (4).
  4. Pull the webbing (1) and the plate (4) out of the shoulder belt guide.
  5. Lower the rear portion of the headlining finishing trim panel. Refer to Headlining Trim Panel Replacement in Roof.

  6. Object Number: 179993  Size: SH
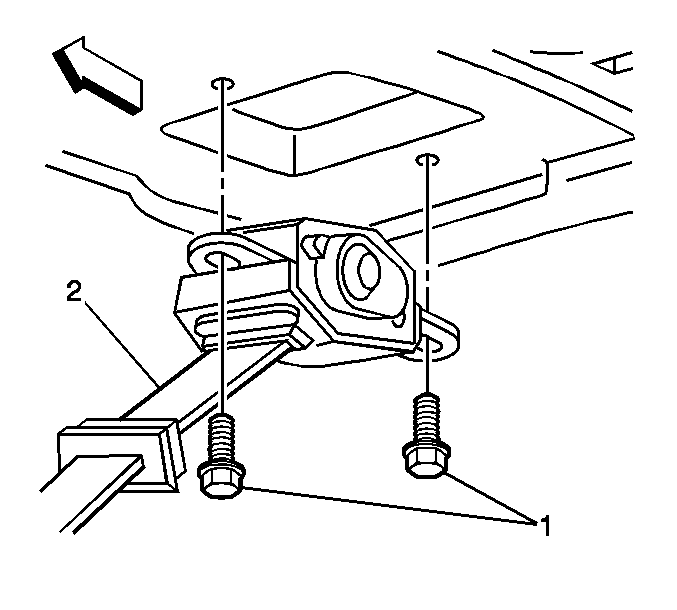
  7. Remove the retractor bolts (1) that attach the belt (2) to the rear roof panel.
  8. Remove the belt (2) from the rear roof panel.

Installation Procedure


    Object Number: 179993  Size: SH
  1. Connect the belt (2) to the rear roof panel.
  2. Notice: Use the correct fastener in the correct location. Replacement fasteners must be the correct part number for that application. Fasteners requiring replacement or fasteners requiring the use of thread locking compound or sealant are identified in the service procedure. Do not use paints, lubricants, or corrosion inhibitors on fasteners or fastener joint surfaces unless specified. These coatings affect fastener torque and joint clamping force and may damage the fastener. Use the correct tightening sequence and specifications when installing fasteners in order to avoid damage to parts and systems.

  3. Install the retractors bolts (1).
  4. Tighten
    Tighten the bolts to 28 N·m (20 lb ft).

  5. Raise the rear portion of the headlining finishing trim panel back into position. Refer to Headlining Trim Panel Replacement in Roof.

  6. Object Number: 179990  Size: SH
  7. Route the webbing (1) and the plate (4) through the shoulder belt guide.
  8. Connect the anchor plate (4) to the rocker panel.
  9. Install the anchor plate bolt (3).
  10. Tighten
    Tighten the bolt to 42 N·m (31 lb ft).

  11. Connect the plug (2) to the anchor plate bolt (3).

Seat Belt Retractor Replacement - Right Front Convertible

Removal Procedure

  1. Remove the cargo area front trim panel. Refer to Cargo Area Front Trim Panel Replacement in Interior Trim.

  2. Object Number: 179990  Size: SH
  3. Remove the plug (2) from the bolt (3).
  4. Remove the bolt (3) that attaches the plate (4) to the rocker panel.

  5. Object Number: 179998  Size: SH
  6. Remove the bolt (1) from the shoulder belt guide.
  7. Remove the bolt (2) from the retractor-side shoulder belt (3).
  8. Remove the retractor-side belt (3).

Installation Procedure


    Object Number: 179998  Size: SH
  1. Install the retractor-side belt (3).
  2. Notice: Use the correct fastener in the correct location. Replacement fasteners must be the correct part number for that application. Fasteners requiring replacement or fasteners requiring the use of thread locking compound or sealant are identified in the service procedure. Do not use paints, lubricants, or corrosion inhibitors on fasteners or fastener joint surfaces unless specified. These coatings affect fastener torque and joint clamping force and may damage the fastener. Use the correct tightening sequence and specifications when installing fasteners in order to avoid damage to parts and systems.

  3. Install the bolt (2) to the retractor-side shoulder belt.
  4. Tighten
    Tighten the bolt to 42 N·m  (31 lb ft).

  5. Install the bolt (1) to the shoulder belt guide.
  6. Tighten
    Tighten the bolt to 42 N·m (31 lb ft).


    Object Number: 179990  Size: SH
  7. Install the bolt (3) that attaches the plate (4) to the rocker panel.
  8. Tighten
    Tighten the bolt to 42 N·m (31 lb ft).

  9. Connect the plug (2) to the bolt (3).
  10. Install the cargo area front trim panel. Refer to Cargo Area Front Trim Panel Replacement in Interior Trim.