GM Service Manual Online
For 1990-2009 cars only
Makes
🢒
Pontiac
🢒
2002
🢒
Firebird
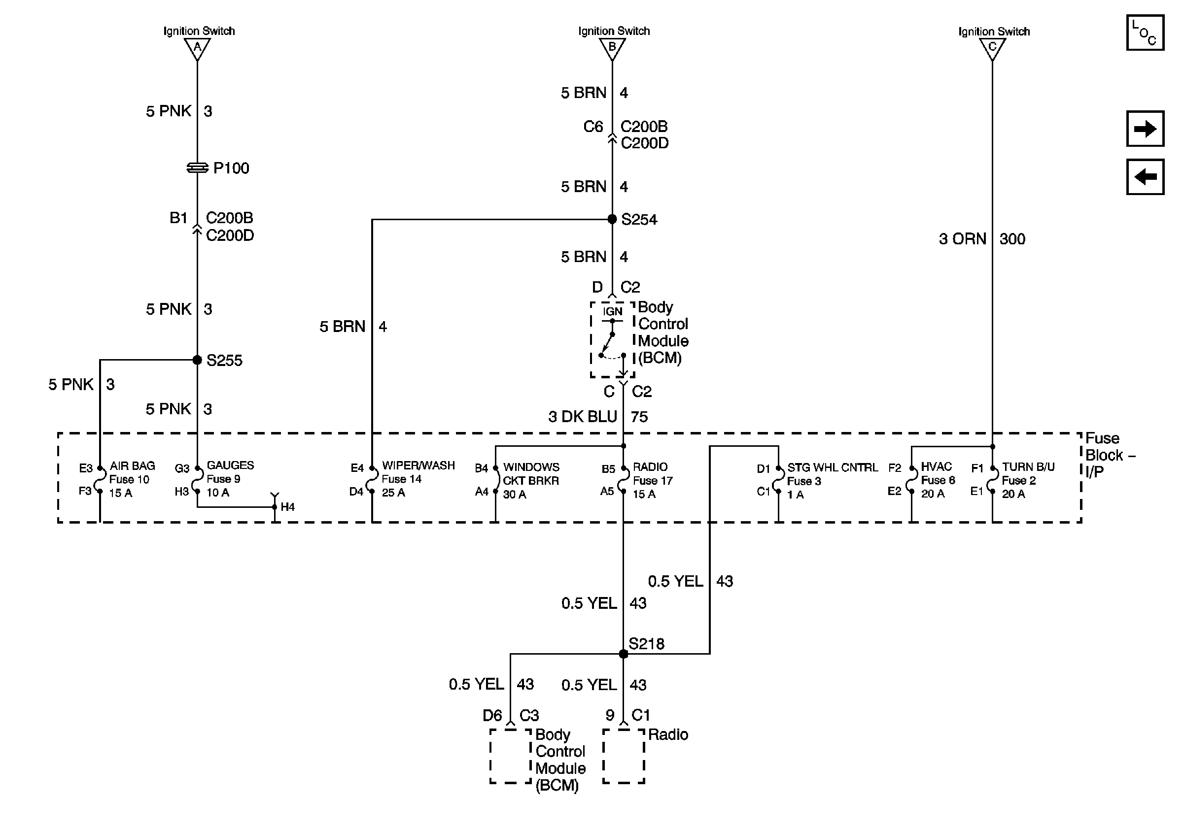
🢒 Ignition Switch Bussing
Ignition Switch Bussing
Ignition Switch Bussing
Master Electrical Component List
AIR BAG and GAUGES Fuses
IGN Fuse and Ignition Switch Bussing
IGN Fuse and Ignition Switch Bussing
IGN Fuse and Ignition Switch Bussing
IGN Fuse and Ignition Switch Bussing