GM Service Manual Online
For 1990-2009 cars only
Makes
🢒
Pontiac
🢒
2002
🢒
Firebird
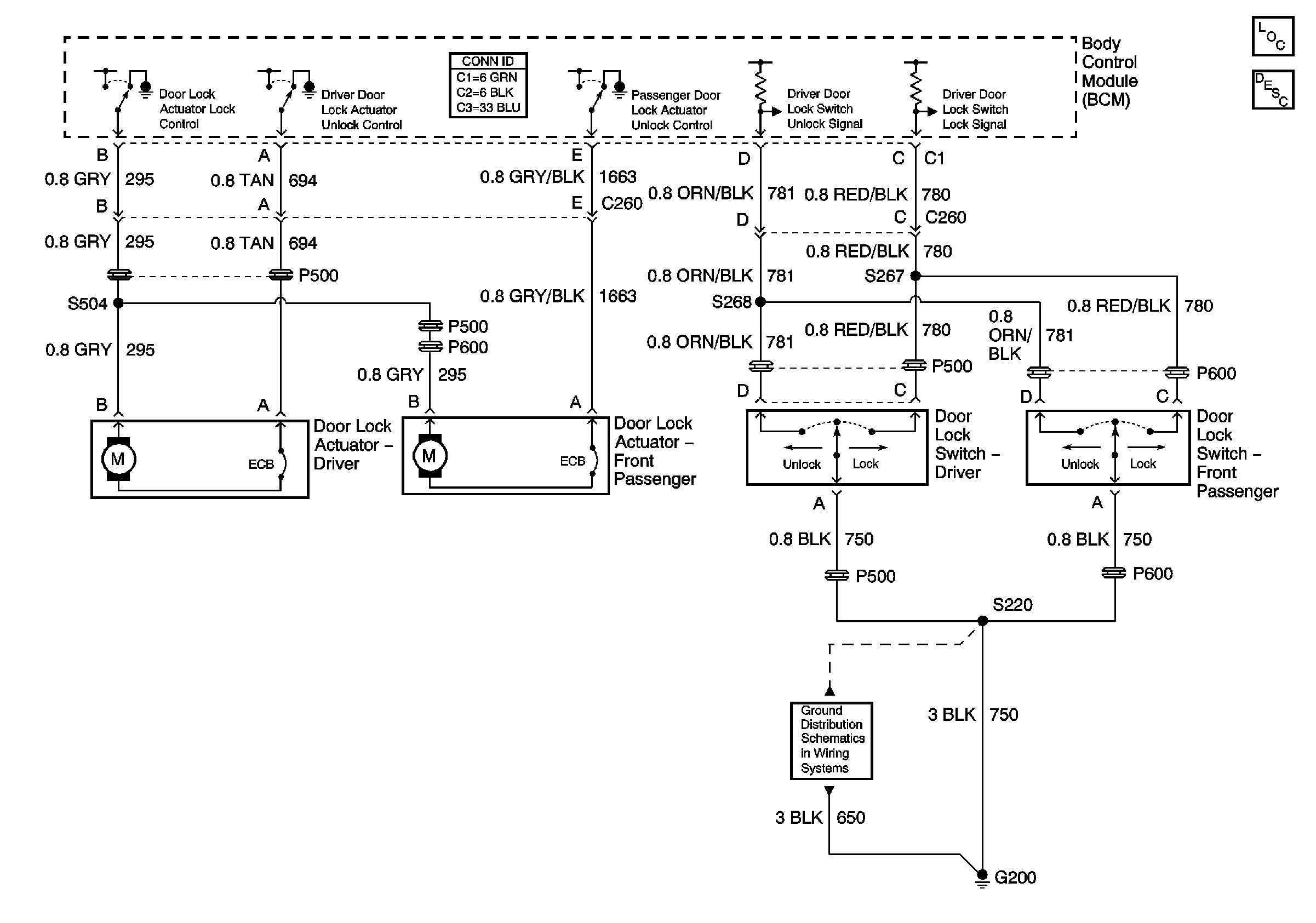
🢒 Door Lock/Indicator Schematic
Door Lock/Indicator Schematic
Master Electrical Component List
Power Door Locks Description and Operation
G200 Page 1 of 3