GM Service Manual Online
For 1990-2009 cars only
Makes
🢒
Pontiac
🢒
2002
🢒
Firebird
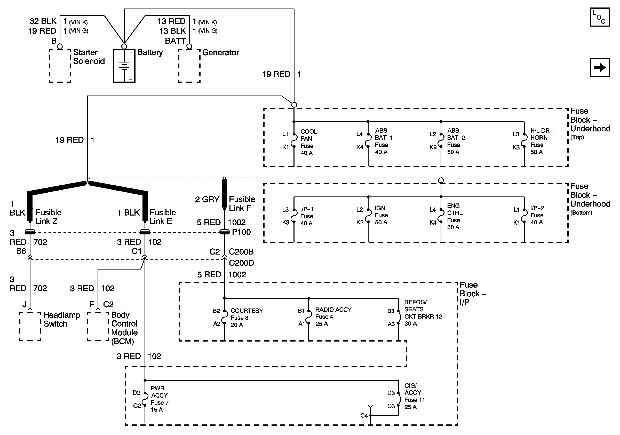
🢒 Battery Positive Voltage Bussing
Battery Positive Voltage Bussing
Battery Positive Voltage Bussing
Master Electrical Component List
COOL FAN and ABS BAT- 1 Fuses