GM Service Manual Online
For 1990-2009 cars only

Removal Procedure

Tools Required

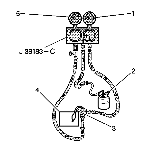
J 39183-C R-134a Manifold Gauge Set


    Object Number: 354716  Size: SH
  1. Remove the evaporator from the vehicle. Refer to Evaporator Core Replacement .
  2. Remove the expansion valve (3) from the evaporator.

  3. Object Number: 354718  Size: SH
  4. Connect the expansion valve (3) to a J 39183-C . Connect the gauge set charging hose to a Refrigerant-134a refrigerant drum (2).
  5. Soak the valve's remote bulb in water.
  6. Close the high pressure valve and the low pressure valve.
  7. Open the valve to the refrigerant drum.
  8. Open the high pressure valve to approximately 5 kg/cm² (70 psi).
  9. Read the pressure that is indicated on the low pressure gauge (5).
  10. Measure the water temperature with a thermometer.

  11. Object Number: 354720  Size: SH
  12. The relationship of the pressure to the temperature should fall within the specifications shown in the table. If the relationship of the pressure to the temperature does not fall into the specifications, replace the expansion valve.

Installation Procedure


    Object Number: 354716  Size: SH
  1. Install the expansion valve (3) to the evaporator.
  2. Install the evaporator case to the vehicle. Refer to Evaporator Core Replacement .