GM Service Manual Online
For 1990-2009 cars only
Figure 1:

Cylinder Head and Components


Object Number: 1339253  Size: LF
(201)Exhaust Valve
(202)Intake Valve
(203)Timing Chain Guide Bolt Access Hole
(204)Cylinder Head
(205)Cylinder Head Gallery Plug
(206)Hydraulic Lash Adjuster
(207)Roller Finger Follower
(208)Cylinder Head Bolt
(209)Small Cylinder Head Bolt
(210)Valve Stem Seal
(210)Valve Stem Seal
(211)Valve Spring
(211)Valve Spring
(212)Valve Spring Retainer
(212)Valve Spring Retainer
(213)Valve Keys
(214)Hydraulic Lash Adjuster
(215)Roller Finger Follower
(216)Intake Camshaft
(217)Camshaft Rear Cap
(218)Camshaft Rear Cap Bolt
(219)Camshaft Cap
(220)Exhaust Camshaft
(221)Camshaft Cap
(222)Camshaft Cap Bolt
(251)Camshaft Rear Cap
(252)Camshaft Rear Cap Bolt
(329)Coolant Return Line
(330)Coolant Return Line Bolt
(331)Coolant Return Line Bolt
(413)Engine Oil Fill Cap
(507)Fuel Injector Rotator Cup
(508)Fuel Injector O-ring
(509)Fuel Injector
(510)Fuel Injector O-ring
(511)Fuel Injector Clip
(512)Fuel Rail
(513)Camshaft Cover Gasket
(514)Camshaft Cover
(515)Camshaft Cover Bolt
(516)Intake Manifold Stud
(517)Intake Manifold Stud
(530)Coil Cover
(531)Coil Cover Bolt
(706)Coolant Temperature Sensor
(709)Rear Lift Bracket
(710)Rear Lift Bracket Bolt
(713)Fuel Injector Wiring Harness
(714)Power Steering Blockout Plate
(716)Power Steering Blockout Plate Bolt/Stud
(717)Spark Plug
(718)Ground Strap Bolt
(719)Ground Strap
(720)Ground Strap Bolt Stud
(729)Baro Sensor
(730)Baro Sensor Bolt
(731)Camshaft Position Sensor
(732)Camshaft Position Sensor Bolt
(733)Camshaft Position Sensor Housing Gasket
(734)Camshaft Position Sensor Housing
(735)Camshaft Position Sensor Housing Bolt/Stud
(736)Fuel Injector Harness Bracket Bolt
(737)Fuel Injector Harness Bracket
(738)Coil
(739)Coil Bolt
(744)Boost Solenoid Hose
(745)Boost Solenoid Hose
(746)Boost Solenoid
(747)Boost Solenoid Bracket
(748)Boost Solenoid Bracket Nut
Figure 2:

Intake Manifold and Components


Object Number: 1339257  Size: LF
(408)Oil Indicator Tube O-ring
(409)Oil Indicator Tube
(410)Oil Indicator Tube Bolt
(411)Oil Indicator O-ring
(412)Oil Indicator
(500)Intake Manifold Gasket
(502)Intake Manifold
(503)Throttle Body Seal
(504)Throttle Body
(506)Throttle Body Bolt
(518)Intercooler O-ring
(519)Intercooler Washer
(520)Intercooler Washer
(521)Intercooler O-ring
(522)Intercooler Cover Gasket
(523)Intercooler
(524)Intercooler Cover
(525)Intercooler Cover Bolt
(526)Intercooler Cover Seal
(527)Supercharger Gasket
(528)Supercharger
(529)Supercharger Bolt
(711)Map Sensor
(726)Supercharger Inlet Pressure Sensor
(727)Map Sensor Bracket
(728)Map Sensor Bracket Bolt
(749)Map Sensor Bolt
Figure 3:

Exhaust Manifold and Components


Object Number: 1244840  Size: LF
(600)Exhaust Manifold Stud
(601)Exhaust Manifold Gasket
(602)Exhaust Manifold
(603)Exhaust Manifold Nut
(604)Exhaust Manifold Heat Shield
(605)Exhaust Manifold Heat Shield Nut
(712)Oxygen Sensor
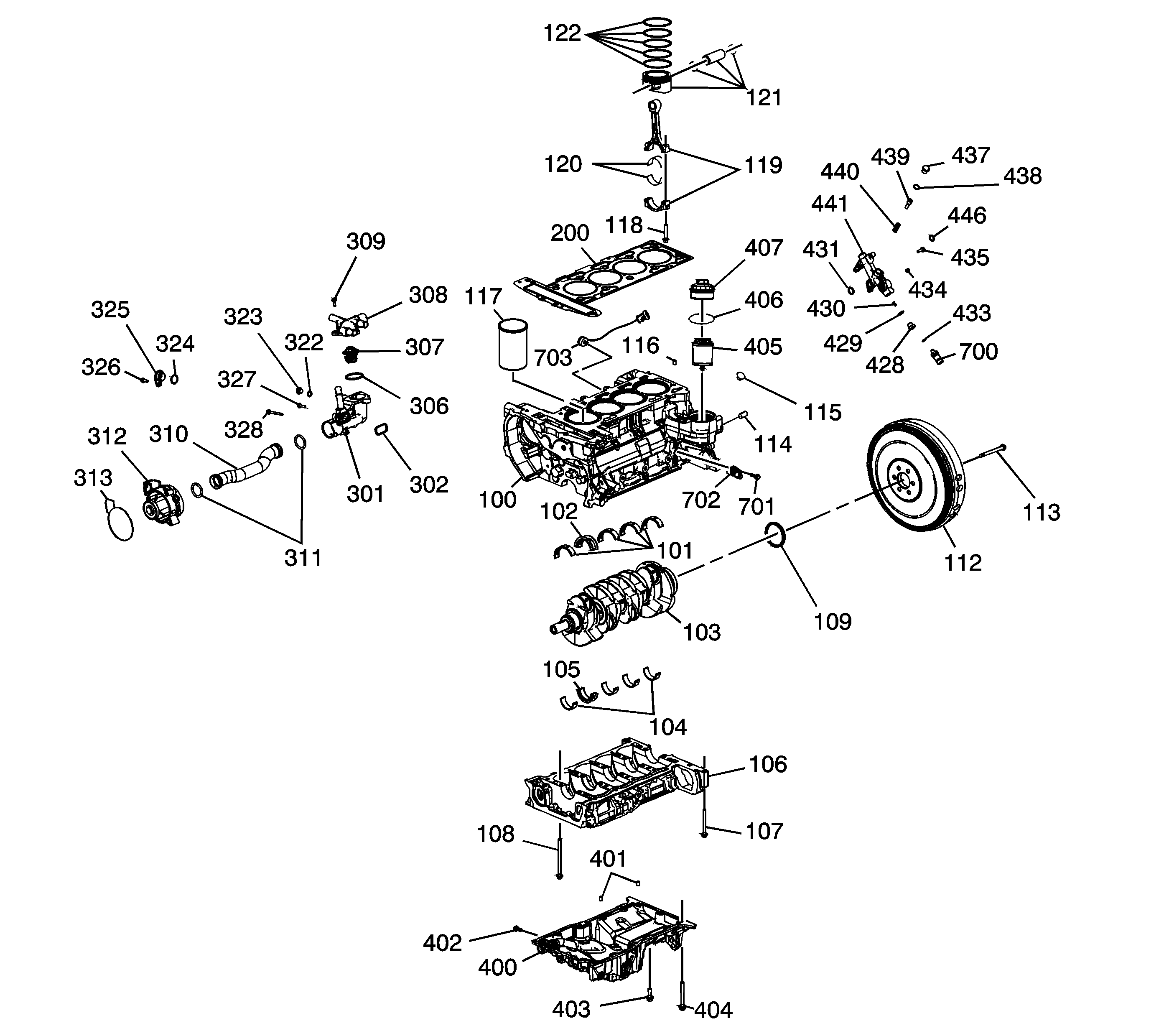
Figure 4:

Engine Block and Components


Object Number: 1743252  Size: LF
(100)Engine Block
(101)Crankshaft Bearing - Upper
(102)Crankshaft Thrust Bearing - Upper
(103)Crankshaft
(104)Crankshaft Bearing - Lower
(105)Crankshaft Thrust Bearing - Lower
(106)Lower Crankcase
(107)Lower Crankcase Perimeter Bolt
(108)Lower Crankcase Main Bearing Bolt
(109)Crankshaft Rear Seal
(112)Manual Transaxle Flywheel
(113)Manual Transaxle Flywheel Bolt
(114)Engine Block to Transaxle Alignment Pin
(115)Engine Block Gallery Plug
(116)Cylinder Head Alignment Pin
(117)Cylinder Bore Sleeve
(118)Connecting Rod Cap Bolt
(119)Connecting Rod
(120)Connecting Rod Bearing
(121)Piston Assembly
(122)Piston Ring Assembly
(200)Cylinder Head Gasket
(301)Thermostat Housing
(302)Thermostat Housing to Block Gasket
(306)Thermostat Gasket
(307)Thermostat
(308)Thermostat Housing Cap
(309)Thermostat Housing Cap Bolt
(310)Water Transfer Pipe
(311)Water Transfer Pipe O-ring Seals
(312)Water Pump
(313)Water Pump to Engine Block Seal
(322)Thermostat Housing Plug O-ring
(323)Thermostat Housing Plug
(324)Thermostat Housing Plug O-ring
(325)Thermostat Housing Plug
(326)Thermostat Housing Plug Bolt
(327)Thermostat Housing Short Bolt
(328)Thermostat Housing Long Bolt
(400)Engine Oil Pan
(401)Engine Oil Pan Alignment Pins
(402)Engine Oil Pan Drain Plug
(403)Engine Oil Pan Bolt
(404)Engine Oil Pan Long Bolt
(405)Oil Filter
(406)Oil Filter Cap O-ring
(407)Oil Filter Cap
(428)Oil Pressure Sensor Fitting
(429)Oil Pressure Sensor Fitting O-ring
(430)Oil Pressure Sensor Plunger
(431)Oil Bypass Tube O-ring
(433)Oil Pressure Sensor O-ring
(434)Oil Bypass Tube Plug
(435)Oil Bypass Tube Bolt
(437)Oil Bypass Tube Plug
(438)Oil Bypass Tube Plug O-ring
(439)Oil Bypass Tube Plunger
(440)Oil Bypass Tube Spring
(441)Oil Bypass Tube
(700)Oil Pressure Switch
(701)Crankshaft Position Sensor Bolt
(702)Crankshaft Position Sensor
(703)Knock Sensor
Figure 5:

Timing Chain and Components


Object Number: 1339263  Size: LF
(123)Balance Shaft Rear Bearing
(124)Exhaust Balance Shaft
(125)Intake Balance Shaft
(126)Exhaust Balance Shaft Bearing Carrier
(127)Intake Balance Shaft Bearing Carrier
(128)Exhaust Balance Shaft Drive Sprocket
(129)Intake Balance Shaft Drive Sprocket
(130)Balance Shaft Drive Sprocket Bolts
(223)Upper Timing Chain Guide Bolt
(224)Upper Timing Chain Guide
(225)Exhaust Camshaft Sprocket
(226)Intake Camshaft Sprocket
(227)Camshaft Sprocket to Camshaft Bolt
(228)Timing Chain Oil Nozzle
(229)Timing Chain Oil Nozzle Bolt
(230)Timing Chain Drive Sprocket
(231)Fixed Timing Chain Guide
(232)Fixed Timing Chain Guide Bolt
(233)Timing Chain
(234)Timing Chain Tensioner Washer
(235)Timing Chain Tensioner Body
(236)Timing Chain Tensioner O-ring Seal
(237)Timing Chain Tensioner Plunger
(238)Adjustable Timing Chain Guide
(239)Adjustable Timing Chain Guide Bolt
(240)Balance Shaft Drive Sprocket
(241)Balance Shaft Drive Chain Guide
(242)Balance Shaft Drive Chain Guide Bolt
(243)Balance Shaft Drive Chain Guide
(244)Balance Shaft Drive Chain Guide Bolt
(245)Balance Shaft Drive Chain
(246)Balance Shaft Drive Chain Tensioner Assembly
(247)Balance Shaft Drive Chain Tensioner Assembly Bolt
(248)Balance Shaft Drive Chain Tensioner Assembly Bolt
(249)Adjustable Balance Shaft Drive Chain Guide
(314)Water Pump Drive Sprocket
(315)Water Pump Drive Sprocket Bolt
(316)Water Pump Bolt
(317)Engine Front Cover Access Plate Gasket
(318)Engine Front Cover Access Plate
(319)Engine Front Cover Access Plate Bolt
(414)Engine Front Cover Alignment Pins
(415)Engine Front Cover Gasket
(416)Oil Pump Cover Bolt
(417)Oil Pump Cover
(418)Oil Pump Outer Gerotor
(419)Oil Pump Inner Gerotor
(420)Engine Front Cover
(421)Engine Front Cover Bolt
(422)Oil Pressure Relief Valve Spring
(423)Oil Pressure Relief Valve Plunger
(424)Oil Pressure Relief Valve O-ring Seal
(425)Oil Pressure Relief Valve Plug
(426)Crankshaft Front Seal
(427)Crankshaft Dampener
(428)Crankshaft Dampener Bolt
(704)Belt Tensioner
(705)Belt Tensioner Bolt
(707)Front Lift Bracket Bolt
(708)Front Lift Bracket
(740)Generator Bracket
(741)Belt Tensioner Bolt
(742)Belt Tensioner
(743)Generator Bracket Bolt