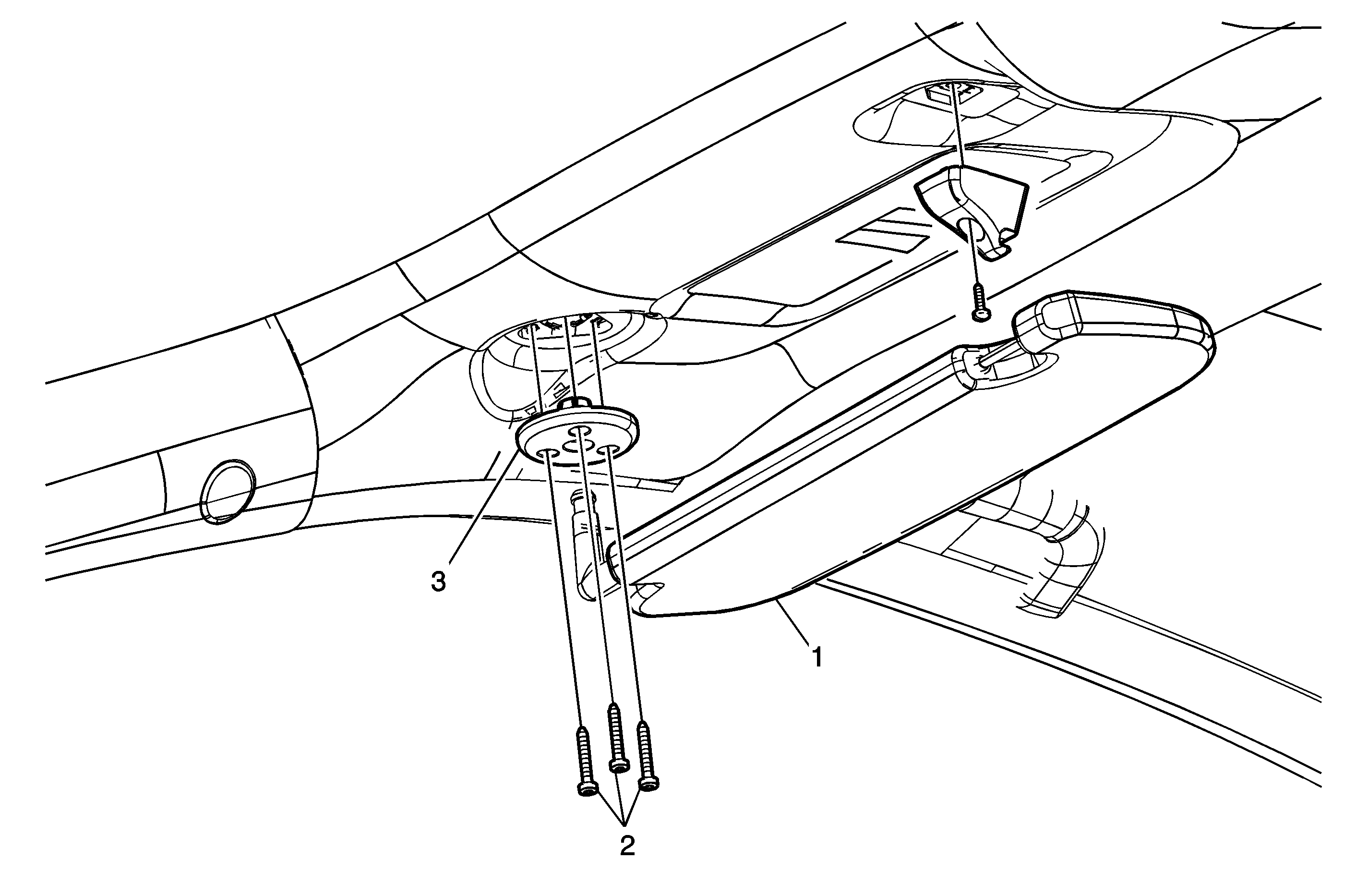
Callout
Component Name
1
Sunshade Assembly
2
Sunshade Support Screw
Notice: Refer to Fastener Notice in the Preface section.
Tighten6 N·m (53 lb in)
3
Sunshade Support Bezel