GM Service Manual Online
For 1990-2009 cars only
Figure 1:

Rear Compartments and Shelf Components


Object Number: 1543935  Size: LF
(1)G401 Coupe/Sedan
(2)G402 Coupe
(3)Digital Radio Receiver (U2K)
(4)Vehicle Communication Interface Module (VCIM) (UE1)
(5)G402 (Sedan)
(6)Rear Window Shelf
(7)Floor Pan
(8)Rear Compartment Coutesty Light
(9)Speaker - Left Rear
Figure 2:

Floor Pan Components and Grounds


Object Number: 1543928  Size: LF
(1)PRNDL Lamp
(2)Floor Pan
(3)A/T Shift Lock Control Solenoid (MN5)
(4)Inflatable Restraint Sensing and Diagnostic Module (SDM)
(5)G306
(6)Park Brake Switch
(7)G301
Figure 3:

Rear Compartment Latch Assembly


Object Number: 1543931  Size: LF
(1)Deck Lid
(2)Rear Compartment Lid Release Actuator
Figure 4:

Rear Floor Pan Components and G403


Object Number: 1549037  Size: LF
(1)Battery
(2) Fuse Holder 50A
(3)Battery Current Sensor
(4)G403
(5)X400
(6)Spare Tire Well
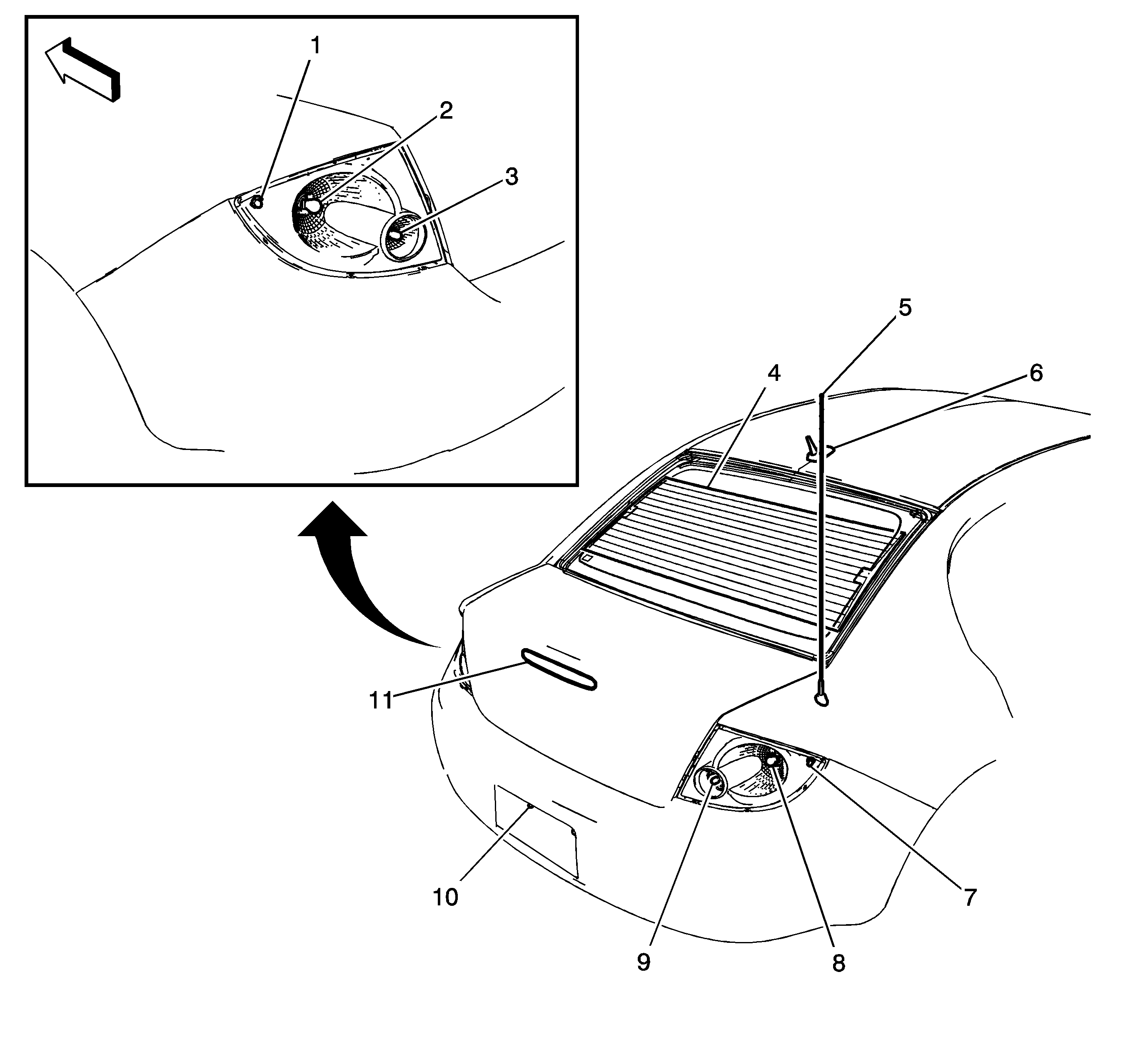
Figure 5:

Rear Exterior Components (Coupe)


Object Number: 2035019  Size: LF
(1)Marker Lamp - Left Rear (Coupe)
(2)Tail/Stop and Turn Signal Lamp - Left (Coupe)
(3)Backup Lamp - Left (Coupe)
(4)Rear Window Defogger Grid
(5)Fixed Antenna
(6)Cellular/Digital Antenna (UE1/U2K)
(7)Marker Lamp - Right Rear (Coupe)
(8)Tail/Stop and Turn Signal Lamp - Right (Coupe)
(9)Backup Lamp - Right (Cobalt Coupe)
(10)License Lamp
(11)Center High Mounted Stop Lamp (CHMSL)
Figure 6:

Rear Exterior Components (Sedan)


Object Number: 2035029  Size: LF
(1)Marker Lamp - Left Rear (Sedan)
(2)Tail/Stop and Turn Signal Lamp - Left (Sedan)
(3)Backup Lamp - Left (Sedan)
(4)Rear Window Defogger Grid
(5)Fixed Antenna
(6)Cellular/Digital Antenna (UE1/U2K)
(7)Marker Lamp - Right Rear (Sedan)
(8)Tail/Stop and Turn Signal Lamp - Right (Sedan)
(9)Backup Lamp - Right ( Sedan)
(10)License Lamp
(11)Center High Mounted Stop Lamp (CHMSL)