GM Service Manual Online
For 1990-2009 cars only
Connector 1: 1-2 Shift Solenoid (1-2SS) Valve (MN5/MXO)
Connector 2: 2-3 Shift Solenoid (2-3SS) Valve (MN5/MXO)
Connector 3: A/C Compressor Clutch (C67)
Connector 4: A/C Refrigerant Pressure Sensor (C67)
Connector 5: A/T Shift Lock Control Solenoid (MN5/MXO)
Connector 6: Accelerator Pedal Position (APP) Sensor (L61/LE5)
Connector 7: Accelerator Pedal Position (APP) Sensor (LNF)
Connector 8: Air Temperature Actuator
Connector 9: Ambient Air Temperature Sensor
Connector 10: Ambient Light Sensor
Connector 11: Audio Amplifier X1 (UQ3)
Connector 12: Audio Amplifier X2 (UQ3)
Connector 13: Audio Amplifier X3 (UQ3)
Connector 14: Automatic Transmission Fluid Pressure (TFP) Manual Valve Position Switch (MN5/MXO)
Connector 15: Automatic Transmission Input Shaft Speed (AT ISS) Sensor (MN5/MXO)
Connector 16: Auxiliary Power Outlet
Connector 17: Backup Lamp - Left (Cobalt Coupe)
Connector 18: Backup Lamp - Left (G5 Coupe)
Connector 19: Backup Lamp - Left (Sedan)
Connector 20: Backup Lamp - Right (Cobalt Coupe)
Connector 21: Backup Lamp - Right (G5 Coupe)
Connector 22: Backup Lamp - Right (Sedan)
Connector 23: Backup Lamp Switch (M86)
Connector 24: Battery (-)
Connector 25: Battery (+)
Connector 26: Battery Current Sensor
Connector 27: Blower Motor
Connector 28: Blower Motor Resistor
Connector 29: Body Control Module (BCM) X1
Connector 30: Body Control Module (BCM) X2
Connector 31: Body Control Module (BCM) X3
Connector 32: Body Control Module (BCM) X4
Connector 33: Brake Booster Vacuum Sensor (LNF)
Connector 34: Brake Fluid Level Switch
Connector 35: Brake Pedal Position Sensor
Connector 36: Camshaft Position (CMP) Actuator Solenoid - Exhaust (LE5/LNF)
Connector 37: Camshaft Position (CMP) Actuator Solenoid - Intake (LE5/LNF)
Connector 38: Camshaft Position (CMP) Sensor (L61)
Connector 39: Camshaft Position (CMP) Sensor - Exhaust (LE5/LNF)
Connector 40: Camshaft Position (CMP) Sensor - Intake (LE5/LNF)
Connector 41: Cellular Microphone (UE1)
Connector 42: Center High Mounted Stop Lamp (CHMSL)
Connector 43: Cigar Lighter (DT4)/Auxiliary Power Outlet (without DT4)
Connector 44: Clutch Pedal Position (CPP) Sensor (M86/MU3)
Connector 45: Coolant Level Switch (LNF)
Connector 46: Cooling Fan - 1 (LNF)
Connector 47: Cooling Fan - 2 (LNF)
Connector 48: Cooling Fan Motor (L61/LE5)
Connector 49: Cooling Fan Resistor (LE5)
Connector 50: Crankshaft Position (CKP) Sensor
Connector 51: Data Link Connector (DLC)
Connector 52: Digital Radio Receiver (U2K)
Connector 53: Dome Lamp (- CF5)
Connector 54: Door Ajar Switch - Driver
Connector 55: Door Ajar Switch - Left Rear (Sedan)
Connector 56: Door Ajar Switch - Right Front
Connector 57: Door Ajar Switch - Right Rear (Sedan)
Connector 58: Door Latch - Driver (AU3)
Connector 59: Door Latch - Left Rear (Sedan) (AU3)
Connector 60: Door Latch - Passenger (AU3)
Connector 61: Door Latch - Right Rear (Sedan) (AU3)
Connector 62: Door Lock Switch - Driver (AU3)
Connector 63: Door Lock Switch - Front Passenger (AU3)
Connector 64: Electronic Brake Control Module (EBCM) (JM4)
Connector 65: Electronic Brake Control Module (EBCM) (JL4/JL9)
Connector 66: Electronic Power Steering (EPS) Control Module X1
Connector 67: Electronic Power Steering (EPS) Control Module X2
Connector 68: Electronic Power Steering (EPS) Control Module X3
Connector 69: Engine Control Module (ECM) X1 (L61/LE5)
Connector 70: Engine Control Module (ECM) X1 (LNF)
Connector 71: Engine Control Module (ECM) X2 (L61)
Connector 72: Engine Control Module (ECM) X2 (LE5)
Connector 73: Engine Control Module (ECM) X2 (LNF)
Connector 74: Engine Coolant Temperature (ECT) Sensor (L61/LE5)
Connector 75: Engine Coolant Temperature (ECT) Sensor (LNF)
Connector 76: Engine Oil Pressure (EOP) Switch
Connector 77: Evaporative Emission (EVAP) Canister Purge Solenoid Valve
Connector 78: Evaporative Emission (EVAP) Canister Vent Solenoid Valve
Connector 79: Fog Lamp - Left Front (T37)
Connector 80: Fog Lamp - Right Front (T37)
Connector 81: Fog Lamp Switch (T37)
Connector 82: Fuel Injector 1 (L61/LE5)
Connector 83: Fuel Injector 1 (LNF)
Connector 84: Fuel Injector 2 (L61/LE5)
Connector 85: Fuel Injector 2 (LNF)
Connector 86: Fuel Injector 3 (L61/LE5)
Connector 87: Fuel Injector 3 (LNF)
Connector 88: Fuel Injector 4 (L61/LE5)
Connector 89: Fuel Injector 4 (LNF)
Connector 90: Fuel Pump (FP) and Sender Assembly
Connector 91: Fuel Rail Pressure Sensor (FPS) (LNF)
Connector 92: Fuel Tank Pressure (FTP) Sensor
Connector 93: Generator X1 (L61/LE5)
Connector 94: Generator X1 (LNF)
Connector 95: Generator X2
Connector 96: Hazard Switch
Connector 97: Headlamp High/Low Beam/DRL - Left
Connector 98: Headlamp High/Low Beam/DRL - Right
Connector 99: Heated Oxygen Sensor (HO2S) 1 (L61/LE5)
Connector 100: Heated Oxygen Sensor (HO2S) 1 (LNF)
Connector 101: Heated Oxygen Sensor (HO2S) 2 (L61/LE5)
Connector 102: Heated Oxygen Sensor (HO2S) 2 (LNF)
Connector 103: Heated Seat Element - Driver Back (KA1)
Connector 104: Heated Seat Element - Driver Cushion (KA1)
Connector 105: Heated Seat Element - Passenger Back (KA1)
Connector 106: Heated Seat Element - Passenger Cushion (KA1)
Connector 107: Heated Seat Module - Driver (KA1)
Connector 108: Heated Seat Module - Passenger (KA1)
Connector 109: Heated Seat Switch - Driver (KA1)
Connector 110: Heated Seat Switch - Passenger (KA1)
Connector 111: High Pressure Fuel Pump (LNF)
Connector 112: Hood Ajar Switch (AP3)
Connector 113: Horn
Connector 114: Horn Switch
Connector 115: HVAC Control Module X1
Connector 116: HVAC Control Module X2
Connector 117: HVAC Control Module X3
Connector 118: Ignition Coil/Module 1
Connector 119: Ignition Coil/Module 2
Connector 120: Ignition Coil/Module 3
Connector 121: Ignition Coil/Module 4
Connector 122: Ignition Lock Cylinder Control Solenoid
Connector 123: Ignition Switch
Connector 124: Inflatable Restraint Front End Sensor
Connector 125: Inflatable Restraint Front Passenger Presence System (PPS) Module
Connector 126: Inflatable Restraint Front Passenger Presence System (PPS) Sensor
Connector 127: Inflatable Restraint Instrument Panel (I/P) Module X1
Connector 128: Inflatable Restraint Instrument Panel (I/P) Module X2
Connector 129: Inflatable Restraint Passenger Air Bag On/Off Indicator
Connector 130: Inflatable Restraint Passenger Seat Belt Tension Sensor
Connector 131: Inflatable Restraint Roof Rail Module - Left (ASF)
Connector 132: Inflatable Restraint Roof Rail Module - Right (ASF)
Connector 133: Inflatable Restraint Sensing and Diagnostic Module (SDM) (ASF)
Connector 134: Inflatable Restraint Sensing and Diagnostic Module (SDM) (without ASF)
Connector 135: Inflatable Restraint Side Impact Sensor (SIS) - Left (ASF)
Connector 136: Inflatable Restraint Side Impact Sensor (SIS) - Right (ASF)
Connector 137: Inflatable Restraint Steering Wheel Module X1
Connector 138: Inflatable Restraint Steering Wheel Module X2
Connector 139: Inflatable Restraint Steering Wheel Module Coil X1
Connector 140: Inflatable Restraint Steering Wheel Module Coil X2
Connector 141: Inflatable Restraint Steering Wheel Module Coil X3
Connector 142: INLINE Fuse - 50 AMP
Connector 143: Inside Rearview Mirror (UE1)
Connector 144: Inside Rearview Mirror (without UE1)
Connector 145: Instrument Panel Cluster (IPC)
Connector 146: Intake Air Pressure and Temperature Sensor (LNF)
Connector 147: I/P Dimmer Switch
Connector 148: Knock Sensor (KS)
Connector 149: Knock Sensor (KS) 2 (LNF)
Connector 150: License Lamp
Connector 151: Manifold Absolute Pressure (MAP) Sensor (L61/LE5)
Connector 152: Manifold Absolute Pressure (MAP) Sensor (LNF)
Connector 153: Marker Lamp - Left Front
Connector 154: Marker Lamp - Left Rear (Coupe)
Connector 155: Marker Lamp - Left Rear (Sedan)
Connector 156: Marker Lamp - Right Front
Connector 157: Marker Lamp - Right Rear (Coupe)
Connector 158: Marker Lamp - Right Rear (Sedan)
Connector 159: Mass Air Flow (MAF)/Intake Air Temperature (IAT) Sensor
Connector 160: Mode Actuator
Connector 161: Outside Rearview Mirror - Driver (DG7)
Connector 162: Outside Rearview Mirror - Passenger (DG7)
Connector 163: Outside Rearview Mirror Switch (DG7)
Connector 164: Park Brake Switch
Connector 165: Park/Neutral Position (PNP) Switch (MN5/MXO)
Connector 166: Park/Turn Signal Lamp - Left Front
Connector 167: Park/Turn Signal Lamp - Right Front
Connector 168: Pressure Control (PC) Solenoid Valve (MN5/MXO)
Connector 169: PRNDL Lamp
Connector 170: Radio X1
Connector 171: Radio X2
Connector 172: Rear Compartment Courtesy Lamp
Connector 173: Rear Compartment Lid Release Actuator
Connector 174: Rear Compartment Lid Release Switch
Connector 175: Rear Window Defogger Grid X1
Connector 176: Rear Window Defogger Grid X2
Connector 177: Recirculation Actuator
Connector 178: Remote Control Door Lock Receiver (RCDLR) (AU0)
Connector 179: Seat Belt Retractor Pretensioner - Driver
Connector 180: Seat Belt Retractor Pretensioner - Passenger
Connector 181: Seat Belt Switch - Driver
Connector 182: Seat Belt Switch - Passenger
Connector 183: Secondary Air Injection (AIR) Pump (NU6)
Connector 184: Secondary Air Injection (AIR) Solenoid (NU6)
Connector 185: Speaker - Left Front Door (UQ3)
Connector 186: Speaker - Left Front Door (UQ4)
Connector 187: Speaker - Left Front Door Tweeter (UQ3)
Connector 188: Speaker - Left Rear (UQ3)
Connector 189: Speaker - Left Rear (UQ4)
Connector 190: Speaker - Right Front Door (UQ3)
Connector 191: Speaker - Right Front Door (UQ4)
Connector 192: Speaker - Right Front Door Tweeter (UQ3)
Connector 193: Speaker - Right Rear (UQ3)
Connector 194: Speaker - Right Rear (UQ4)
Connector 195: Speaker - Subwoofer (UQ3)
Connector 196: Starter X1
Connector 197: Starter X2 (To Battery)
Connector 198: Starter X2 (To Generator)
Connector 199: Steering Angle Sensor (JL4/JL9)
Connector 200: Steering Wheel Controls - Left (K34)
Connector 201: Steering Wheel Controls Right (K34 with UK3)
Connector 202: Sunroof Motor (CF5)
Connector 203: Sunroof Switch (CF5)
Connector 204: Tail/Stop and Turn Signal Lamp - Left (Coupe)
Connector 205: Tail/Stop and Turn Signal Lamp - Left (Sedan)
Connector 206: Tail/Stop and Turn Signal Lamp - Right (Coupe)
Connector 207: Tail/Stop and Turn Signal Lamp - Right (Sedan)
Connector 208: Theft Deterrent Control Module
Connector 209: Throttle Actuator Control (TAC) Module
Connector 210: Torque Converter Clutch Pulse Width Modulation (TCC PWM) Solenoid Valve (MN5/MXO)
Connector 211: Traction Control Switch (JL4/JL9)
Connector 212: Transmission Control Module (TCM) (MN5/MXO)
Connector 213: Turbo Bypass Valve Solenoid (LNF)
Connector 214: Turbocharger Boost Gauge (LNF)
Connector 215: Turbocharger Boost Pressure Sensor (LNF)
Connector 216: Turbocharger Wastegate Solenoid (LNF)
Connector 217: Turn Signal/Multifunction Switch X1
Connector 218: Turn Signal/Multifunction Switch X2
Connector 219: Vehicle Communication Interface Module (VCIM) X1 (UE1)
Connector 220: Vehicle Communication Interface Module (VCIM) X2 (UE1)
Connector 221: Vehicle Communication Interface Module (VCIM) X3 (UE1)
Connector 222: Vehicle Speed Sensor (VSS) (L61/LE5)
Connector 223: Vehicle Speed Sensor (VSS) (LNF)
Connector 224: Wheel Speed Sensor (WSS) - Left Front (JM4/JL9/JL4)
Connector 225: Wheel Speed Sensor (WSS) - Left Rear (L61/LE5 with JM4/JL9/JL4)
Connector 226: Wheel Speed Sensor (WSS) - Left Rear (LNF with JM4/JL9/JL4)
Connector 227: Wheel Speed Sensor (WSS) - Right Front (JM4/JL9/JL4)
Connector 228: Wheel Speed Sensor (WSS) - Right Rear (L61/LE5 with JM4/JL9/JL4)
Connector 229: Wheel Speed Sensor (WSS) - Right Rear (LNF with JM4/JL9/JL4)
Connector 230: Window Motor - Driver (AU3/DG7)
Connector 231: Window Motor - Front Passenger (AU3/DG7)
Connector 232: Window Motor - Left Rear (Sedan) (AU3/DG7)
Connector 233: Window Motor - Right Rear (Sedan) (AU3/DG7)
Connector 234: Window Switch - Driver (Coupe) (AU3/DG7)
Connector 235: Window Switch - Driver X1 (Sedan) (AU3/DG7)
Connector 236: Window Switch - Driver X2 (Sedan) (AU3/DG7)
Connector 237: Window Switch - Front Passenger (AU3/DG7)
Connector 238: Window Switch - Left Rear (Sedan) (AU3/DG7)
Connector 239: Window Switch - Right Rear (Sedan) (AU3/DG7)
Connector 240: Windshield Washer Fluid Pump
Connector 241: Windshield Wiper Motor
Connector 242: Windshield Wiper/Washer Switch
Connector 243: Yaw and Lateral Acceleration Sensor (JL4/JL9)

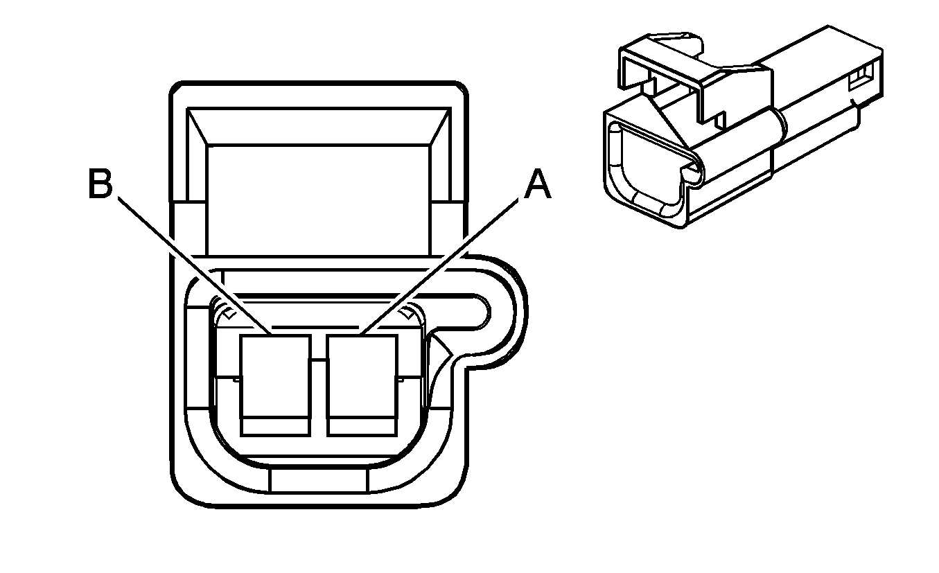
1-2 Shift Solenoid (1-2SS) Valve (MN5/MXO)


Object Number: 82337  Size: CH

Connector Part Information

  • OEM: 15473843
  • Service: Non-Serviceable
  • Description: 2-Way F Metri-Pack 150.2 Series P2S (NA)

Terminal Part Information

  • Terminal: Non-Serviceable
  • Core/Insulation Crimp: Non-Serviceable
  • Release Tool/Test Probe: Non-Serviceable

1-2 Shift Solenoid (1-2SS) Valve (MN5/MXO)

Pin

Wire

Circuit

Function

A

0.35 RD

839

Ignition 1 Voltage

B

0.35 L-GN

1222

1-2 Shift Solenoid Valve Control

2-3 Shift Solenoid (2-3SS) Valve (MN5/MXO)


Object Number: 82337  Size: CH

Connector Part Information

  • OEM: 15473843
  • Service: Non-Serviceable
  • Description: 2-Way F Metri-Pack 150.2 Series P2S (NA)

Terminal Part Information

  • Terminal: Non-Serviceable
  • Core/Insulation Crimp: Non-Serviceable
  • Release Tool/Test Probe: Non-Serviceable

2-3 Shift Solenoid (2-3SS) Valve (MN5/MXO)

Pin

Wire

Circuit

Function

A

0.35 RD

839

Ignition 1 Voltage

B

0.35 YE

1223

2-3 Shift Solenoid Valve Control

A/C Compressor Clutch (C67)


Object Number: 1334534  Size: CH

Connector Part Information

  • OEM: 12162017
  • Service: 12101937
  • Description: 2-Way F Metri-Pack 150 Series Sealed (GY)

Terminal Part Information

  • Terminal/Tray: 12048074/2
  • Core/Insulation Crimp: E/1
  • Release Tool/Test Probe: 12094429/J-35616-2A (GY)

A/C Compressor Clutch (C67)

Pin

Wire

Circuit

Function

A

0.5 D-GN

59

A/C Compressor Clutch Supply Voltage

B

0.35 BK

150

Ground

A/C Refrigerant Pressure Sensor (C67)


Object Number: 726824  Size: CH

Connector Part Information

  • OEM: 13532244
  • Service: 88988107
  • Description: 3-Way F GT 150 Series Sealed (BK)

Terminal Part Information

  • Terminal/Tray: 15326267/19
  • Core/Insulation Crimp: E/4
  • Release Tool/Test Probe: 15315247/J-35616-2A (GY)

A/C Refrigerant Pressure Sensor (C67)

Pin

Wire

Circuit

Function

1

0.5 TN

5514

Low Reference (LNF)

0.5 PU/WH

6256

Low Reference (L61, LE5 with M86)

0.5 BK/WH

Low Reference (LE5 with MN5)

2

0.5 GY

2700

5-Volt Reference (LNF)

6255

5-Volt Reference (L61/LE5)

3

0.35 OG/BK

380

A/C Refrigerant Pressure Sensor Signal

A/T Shift Lock Control Solenoid (MN5/MXO)


Object Number: 82383  Size: CH

Connector Part Information

  • OEM: 12047662
  • Service: 12102900
  • Description: 2-Way F Metri-Pack 150 Series (BK)

Terminal Part Information

  • Terminal/Tray: 12047767/2
  • Core/Insulation Crimp: E/C
  • Core/Insulation Crimp: E/A
  • Release Tool/Test Probe: 12094429/J-35616-2A (GY)

A/T Shift Lock Control Solenoid (MN5/MXO)

Pin

Wire

Circuit

Function

A

0.35 D-GN

1135

A/T Shift Lock Control Solenoid Supply Voltage

B

0.5 YE

1932

Transmission Shift Select Switch (Park) Signal

Accelerator Pedal Position (APP) Sensor (L61/LE5)


Object Number: 886053  Size: CH

Connector Part Information

  • OEM: 15326830
  • Service: 88988944
  • Description: 6-Way F GT 150 Series Sealed (BK)

Terminal Part Information

  • Terminal/Tray: 12191819/8
  • Core/Insulation Crimp: E/A
  • Release Tool/Test Probe: 15315247/J-35616-2A (GY)

Accelerator Pedal Position (APP) Sensor (L61/LE5)

Pin

Wire

Circuit

Function

A

0.35 PU

1272

5-Volt Reference - 2

B

0.35 L-BU

1162

APP Sensor 2 Signal

C

0.35 TN

1274

Low Reference

D

0.35 BN

1271

Low Reference

E

0.35 D-BU

1161

APP Sensor 1 Signal

F

0.35 WH/BK

1164

5-Volt Reference - 1

Accelerator Pedal Position (APP) Sensor (LNF)


Object Number: 646396  Size: CH

Connector Part Information

  • OEM: 15326833
  • Service: See Catalog
  • Description: 6-Way M GT 150 Series Sealed (BK)

Terminal Part Information

  • Terminal/Tray: 15326269/19
  • Core/Insulation Crimp: E/A
  • Release Tool/Test Probe: 15315247/J-35616-3A (GY)

Accelerator Pedal Position (APP) Sensor (LNF)

Pin

Wire

Circuit

Function

A

0.35 PU

1272

5-Volt Reference - 2

B

0.35 L-BU

1162

APP Sensor 2 Signal

C

0.35 TN

1274

Low Reference

D

0.35 BN

1271

Low Reference

E

0.35 D-BU

1161

APP Sensor 1 Signal

F

0.35 WH/BK

1164

5-Volt Reference - 1

Air Temperature Actuator


Object Number: 280764  Size: CH

Connector Part Information

  • OEM: 12064993
  • Service: 12102485
  • Description: 6-Way F Micro-Pack 100 Series (BK)

Terminal Part Information

  • Terminal/Tray: See Terminal Repair Kit
  • Core/Insulation Crimp: See Terminal Repair Kit
  • Release Tool/Test Probe: See Terminal Repair Kit

Air Temperature Actuator

Pin

Wire

Circuit

Function

5

0.35PK

339

Ignition 1 Voltage

6

0.35 WH/BK

1236

Passenger Air Temperature Door Control

7

0.35 BK/WH

550

Ground

8

--

--

Not Used

9

0.35 D-BU

1646

Auxiliary Air Temperature Door Position Signal

10

0.35 L-BU/BK

1688

5-Volt Reference - 2

Ambient Air Temperature Sensor


Object Number: 684793  Size: CH

Connector Part Information

  • OEM: 12052642
  • Service: 12101856
  • Description: 2-Way F Metri-Pack 150 Series Sealed (GN)

Terminal Part Information

  • Terminal/Tray: 12048074/2
  • Core/Insulation Crimp: E/1
  • Release Tool/Test Probe: 12094429/J-35616-2A (GY)

Ambient Air Temperature Sensor

Pin

Wire

Circuit

Function

A

0.35 D-GN/WH

636

Ambient Air Temperature Sensor Signal

B

0.35 YE/BK

61

Low Reference

Ambient Light Sensor


Object Number: 82383  Size: CH

Connector Part Information

  • OEM: 12059249
  • Service: 12085535
  • Description: 2-Way F Metri-Pack 150 Series (WH)

Terminal Part Information

  • Terminal/Tray: 12064971/5
  • Core/Insulation Crimp: E/C
  • Release Tool/Test Probe: 12094429/J-35616-2A (GY)

Ambient Light Sensor

Pin

Wire

Circuit

Function

A

0.35 L-GN/BK

1137

DRL Ambient Light Sensor Signal

B

0.35 YE/BK

1138

DRL Ambient Light Sensor Low Reference

Audio Amplifier X1 (UQ3)


Object Number: 1814631  Size: CH

Connector Part Information

  • OEM: 15465061
  • Service: 88988659
  • Description: 8-Way F (BK)

Terminal Part Information

  • Terminal/Tray: See Terminal Repair Kit
  • Core/Insulation Crimp: See Terminal Repair Kit
  • Release Tool/Test Probe: See Terminal Repair Kit

Audio Amplifier X1 (UQ3)

Pin

Wire

Circuit

Function

1

0.8 D-BU/WH

346

Rear Subwoofer Speaker Output (+)

2

0.8 L-GN/BK

1794

Rear Subwoofer Speaker Output (-)

3

0.8 D-GN

1795

Rear Subwoofer Speaker Output (+)

4

0.8 L-BU/BK

315

Rear Subwoofer Speaker Output (-)

5

2 BK/WH

1051

Ground

6-7

--

--

Not Used

8

2 RD/WH

640

Battery Positive Voltage

Audio Amplifier X2 (UQ3)


Object Number: 1653404  Size: CH

Connector Part Information

  • OEM: 15489823
  • Service: 888952777
  • Description: 16-Way M 1.5 Series Sealed (BK)

Terminal Part Information

  • Pins: 1, 2, 11, 12
  • Terminal/Tray: 8240-0127/22
  • Core/Insulation Crimp: E/C
  • Release Tool/Test Probe: 15315247/J-35616-2A (GY)
  • Pins: 3, 4, 9, 10
  • Terminal/Tray: 8240-0128/22
  • Core/Insulation Crimp: Pins 3, 4: C/A
  • Core/Insulation Crimp: Pins 9, 10: See Terminal Repair Kit
  • Release Tool/Test Probe: 15315247/J-35616-2A (GY)

Audio Amplifier X2 (UQ3)

Pin

Wire

Circuit

Function

1

0.5 YE/BK

116

Left Rear Speaker Output (-)

2

0.5 BN

199

Left Rear Speaker Output (+)

3

0.8 D-BU

46

Right Rear Speaker Output (+)

4

0.8 L-BU/BK

115

Right Rear Speaker Output (-)

5-8

--

--

Not Used

9

1 D-GN

117

Right Front Speaker Output (-)

10

1 L-GN

200

Right Front Speaker Output (+)

11

0.5 TN

201

Left Front Speaker Output (+)

12

0.5 GY

118

Left Front Speaker Output (-)

13-16

--

--

Not Used

Audio Amplifier X3 (UQ3)


Object Number: 850856  Size: CH

Connector Part Information

  • OEM: 15416970
  • Service: 15394150
  • Description: 16-Way F Micro 64 Unsealed (BK)

Terminal Part Information

  • Terminal/Tray: 15359541/4
  • Core/Insulation Crimp: C
  • Release Tool/Test Probe: 15381651-2/J-35616-64B (L-BU)

Audio Amplifier X3 (UQ3)

Pin

Wire

Circuit

Function

1

0.35 BN

1999

Left Rear Low Level Audio Signal (-)

2

0.35 TN

1946

Right Rear Low Level Audio Signal (-)

3

0.35 BN/WH

599

Left Rear Low Level Audio Signal (+)

4

0.35 D-BU

546

Right Rear Low Level Audio Signal (+)

5-7

--

--

Not Used

8

0.35 PK

314

Radio On Signal

9

0.35 L-GN/WH

512

Right Front Low Level Audio Signal (+)

10

0.35 D-GN

1947

Left Front Low Level Audio Signal (-)

11

0.35 L-GN

1948

Right Front Low Level Audio Signal (-)

12

0.35 TN

511

Left Front Low Level Audio Signal (+)

13-15

--

--

Not Used

16

0.35 L-GN

1011

Remote Radio Control Signal

Automatic Transmission Fluid Pressure (TFP) Manual Valve Position Switch (MN5/MXO)


Object Number: 73215  Size: CH

Connector Part Information

  • OEM: 15480749
  • Service: Non-Serviceable
  • Description: 6-Way F Metri-Pack 150.2 Series P2S (GY)

Terminal Part Information

  • Terminal: Non-Serviceable
  • Core/Insulation Crimp: Non-Serviceable
  • Release Tool/Test Probe: Non-Serviceable

Automatic Transmission Fluid Pressure (TFP) Manual Valve Position Switch (MN5/MXO)

Pin

Wire

Circuit

Function

A

--

--

Not Used

B

0.35 D-BU

1225

TFP Switch Signal B

C

0.35 OG

1226

TFP Switch Signal C

D

0.35 WH

1804

Torque Converter Clutch Release Switch Signal

E

0.35 BN

1227

Transmission Fluid Temperature (TFT) Sensor Signal

F

0.35 GY

452

Low Reference

Automatic Transmission Input Shaft Speed (AT ISS) Sensor (MN5/MXO)


Object Number: 82337  Size: CH

Connector Part Information

  • OEM: 15473843
  • Service: Non-Serviceable
  • Description: 2-Way F Metri-Pack 150.2 Series P2S (NA)

Terminal Part Information

  • Terminal: Non-Serviceable
  • Core/Insulation Crimp: Non-Serviceable
  • Release Tool/Test Probe: Non-Serviceable

Automatic Transmission Input Shaft Speed (AT ISS) Sensor (MN5/MXO)

Pin

Wire

Circuit

Function

A

0.5 BK

1230

Input Speed Sensor (ISS) High Signal

B

0.5 D-GN

1231

ISS Low Signal

Auxiliary Power Outlet


Object Number: 320518  Size: CH

Connector Part Information

  • OEM: 12176446
  • Service: 15305985
  • Description: 3-Way F Metri-Pack 280 Series (BK)

Terminal Part Information

  • Pins: A, C (- DT4)
  • Terminal/Tray: 12110842/4
  • Core/Insulation Crimp: A/B
  • Release Tool/Test Probe: 15315247/J-35616-4A (PU)
  • Pins: A, C (DT4)
  • Terminal/Tray: 12110844/4
  • Core/Insulation Crimp: C/A
  • Release Tool/Test Probe: 15315247/J-35616-4A (PU)

Auxiliary Power Outlet

Pin

Wire

Circuit

Function

A

0.8 RD/WH

40

Battery Positive Voltage

B

--

--

Not Used

C

1 BK

1250

Ground

Backup Lamp - Left (Cobalt Coupe)


Object Number: 1814569  Size: CH

Connector Part Information

  • OEM: 15491912
  • Service: 12102747
  • Description: 2-Way F Metri-Pack 150 Series Sealed (BK)

Terminal Part Information

  • Terminal/Tray: 12048074/2
  • Core/Insulation Crimp: E/1
  • Release Tool/Test Probe: 12094429/J-35616-2A (GY)

Backup Lamp - Left (Cobalt Coupe)

Pin

Wire

Circuit

Function

1

0.5 L-GN

24

Backup Lamp Supply Voltage

2

0.5 BK

750

Ground

Backup Lamp - Left (G5 Coupe)


Object Number: 877923  Size: CH

Connector Part Information

  • OEM: 12052641
  • Service: 12102747
  • Description: 2-Way F Metri-Pack 150 Series Sealed (GY)

Terminal Part Information

  • Terminal/Tray: 12048074/2
  • Core/Insulation Crimp: E/1
  • Release Tool/Test Probe: 12094429/J-35616-2A (GY)

Backup Lamp - Left (G5 Coupe)

Pin

Wire

Circuit

Function

A

0.8 BK

24

Backup Lamp Supply Voltage

B

0.5 BK

750

Ground

Backup Lamp - Left (Sedan)


Object Number: 877923  Size: CH

Connector Part Information

  • OEM: 12052641
  • Service: 12102747
  • Description: 2-Way F Metri-Pack 150 Series Sealed (BK)

Terminal Part Information

  • Terminal/Tray: 12048074/2
  • Core/Insulation Crimp: E/1
  • Release Tool/Test Probe: 12094429/J-35616-2A (GY)

Backup Lamp - Left (Sedan)

Pin

Wire

Circuit

Function

A

0.5 L-GN

24

Backup Lamp Supply Voltage

B

0.5 BK

750

Ground

0.5 BK

750

Ground

Backup Lamp - Right (Cobalt Coupe)


Object Number: 1814569  Size: CH

Connector Part Information

  • OEM: 15491912
  • Service: 12102747
  • Description: 2-Way F Metri-Pack 150 Series Sealed (BK)

Terminal Part Information

  • Terminal/Tray: See Terminal Repair Kit
  • Core/Insulation Crimp: See Terminal Repair Kit
  • Release Tool/Test Probe: See Terminal Repair Kit

Backup Lamp - Right (Cobalt Coupe)

Pin

Wire

Circuit

Function

1

0.5 L-GN

24

Backup Lamp Supply Voltage

2

0.5 BK

850

Ground

Backup Lamp - Right (G5 Coupe)


Object Number: 877923  Size: CH

Connector Part Information

  • OEM: 12052641
  • Service: 12102747
  • Description: 2-Way F Metri-Pack 150 Series Sealed (GY)

Terminal Part Information

  • Terminal/Tray: 12048074/2
  • Core/Insulation Crimp: E/1
  • Release Tool/Test Probe: 12094429/J-35616-2A (GY)

Backup Lamp - Right (G5 Coupe)

Pin

Wire

Circuit

Function

A

0.5 BK

24

Backup Lamp Supply Voltage

B

0.5 BK

750

Ground

Backup Lamp - Right (Sedan)


Object Number: 877923  Size: CH

Connector Part Information

  • OEM: 12052641
  • Service: 12102747
  • Description: 2-Way F Metri-Pack 150 Series Sealed (GY)

Terminal Part Information

  • Pins: A
  • Terminal/Tray: 12048074/2
  • Core/Insulation Crimp: E/1
  • Release Tool/Test Probe: 12094429/J-35616-2A (GY)
  • Pins: B
  • Terminal/Tray: See Terminal Repair Kit
  • Core/Insulation Crimp: See Terminal Repair Kit
  • Release Tool/Test Probe: See Terminal Repair Kit

Backup Lamp - Right (Sedan)

Pin

Wire

Circuit

Function

A

0.5 L-GN

24

Backup Lamp Supply Voltage

B

0.5 BK

850

Ground

0.5 BK

850

Ground

Backup Lamp Switch (M86)


Object Number: 635009  Size: CH

Connector Part Information

  • OEM: 12052641
  • Service: 12102747
  • Description: 2-Way F Metri-Pack 150 Series Sealed (BK)

Terminal Part Information

  • Terminal/Tray: 12048074/2
  • Core/Insulation Crimp: E/1
  • Release Tool/Test Probe: 12094429/J-35616-2A (GY)

Backup Lamp Switch (M86)

Pin

Wire

Circuit

Function

A

0.5 PK/BK

539

Ignition 1 Voltage

B

0.5 L-GN

24

Backup Lamp Supply Voltage

Battery (-)

Terminal Part Information

  • Terminal: R61014-002
  • Core/Insulation Crimp: N/A
  • Description: Battery Terminal

Battery (-)

Pin

Wire

Circuit

Function

-

32 BK

50

Ground

Battery (+)

Terminal Part Information

  • Terminal: R3311-033
  • Core/Insulation Crimp: N/A
  • Description: Battery Terminal

Battery (+)

Pin

Wire

Circuit

Function

+

50 RD

1

Battery Positive Voltage

5 RD

1

Battery Positive Voltage

Battery Current Sensor


Object Number: 646415  Size: CH

Connector Part Information

  • OEM: 15326808
  • Service: See Catalog
  • Description: 3-Way F GT 150 Series Sealed (BK)

Terminal Part Information

  • Terminal/Tray: 12191819/8
  • Core/Insulation Crimp: E/A
  • Release Tool/Test Probe: 15315247/J-35616-2A (GY)

Battery Current Sensor

Pin

Wire

Circuit

Function

A

0.35 GY

596

5-Volt Reference - 1

B

0.5 BK

650

Sensor Low Reference (Coupe)

0.35 BK

650

Sensor Low Reference (Sedan)

C

0.35 WH

5075

Current Sensor Signal

Blower Motor


Object Number: 808706  Size: CH

Connector Part Information

  • OEM: 12064749
  • Service: 12101888
  • Description: 2-Way F Metri-Pack 480 Series (BK)

Terminal Part Information

  • Terminal/Tray: See Terminal Repair Kit
  • Core/Insulation Crimp: See Terminal Repair Kit
  • Release Tool/Test Probe: See Terminal Repair Kit

Blower Motor

Pin

Wire

Circuit

Function

A

3 OG

52

High Blower Motor Control

B

3 BN

141

Ignition 3 Voltage

Blower Motor Resistor


Object Number: 816184  Size: CH

Connector Part Information

  • OEM: 12129566
  • Service: 15305940
  • Description: 4-Way F Metri-Pack 280 Series Sealed (GY)

Terminal Part Information

  • Terminal/Tray: See Terminal Repair Kit
  • Core/Insulation Crimp: See Terminal Repair Kit
  • Release Tool/Test Probe: See Terminal Repair Kit

Blower Motor Resistor

Pin

Wire

Circuit

Function

A

2 TN

63

Blower Motor Medium 1 Control

B

2 L-BU

72

Medium 2 Blower Motor Control

C

3 OG

52

High Blower Motor Control

D

2 YE

60

Low Blower Motor Control

Body Control Module (BCM) X1


Object Number: 1376257  Size: CH

Connector Part Information

  • OEM: 15393122
  • Service: 88987847
  • Description: 72-Way F Micro 64 (GY)

Terminal Part Information

  • Pins: 1, 6-8, 13-20, 22, 26, 33, 35, 36, 44, 47, 51, 54, 55, 57, 60-68, 70
  • Terminal/Tray: 15359541/4
  • Core/Insulation Crimp: M/M
  • Release Tool/Test Probe: 15381651-2/J-35616-64B (L-BU)
  • Pins: 31
  • Terminal/Tray: See Terminal Repair Kit
  • Core/Insulation Crimp: See Terminal Repair Kit
  • Release Tool/Test Probe: See Terminal Repair Kit

Body Control Module (BCM) X1

Pin

Wire

Circuit

Function

1

0.35 L-BU/BK

747

Left Rear Door Ajar Switch Signal (Sedan)

2

--

--

Not Used

3

0.35 PU

5531

Hood Closed Switch Signal (AP8)

4

0.35 PK/BK

109

Hood Ajar Switch Signal (AP8)

5

--

--

Not Used

6

0.35 WH

682

Door Lock Lock/Unlock Signal

7

0.35 WH

682

Door Lock Lock/Unlock Signal

8

0.35 WH

1080

Park Lamp Relay Control

9-12

--

--

Not Used

13

0.35 PK

849

Brake Fluid Level Sensor Signal

14

0.35 L-BU

1134

Park Brake Switch Signal

15

0.35 YE

5199

Run/Crank Relay Coil Control

16

0.35 WH

193

Rear Defog Relay Control

17

0.5 D-BU

15

Right Front Turn Signal Lamp Supply Voltage

18

0.35 D-GN

5060

Low Speed GMLAN Serial Data

19

0.35 TN/WH

746

Right Front Door Ajar Switch Signal

20

0.35 L-GN/BK

748

Right Rear Door Ajar Switch Signal (Sedan)

21

--

--

Not Used

22

0.35 GY/BK

745

Left Front Door Ajar Switch Signal

23-25

--

--

Not Used

26

0.35 L-GN

1478

Coolant Level Switch Signal (LNF)

27-30

--

--

Not Used

31

0.35 WH

5065

CHMSL Relay Coil Supply Voltage

32

--

--

Not Used

33

0.35 D-GN/WH

1135

A/T Shift Lock Control Solenoid Supply Voltage (MN5/MX0)

34

--

--

Not Used

35

0.35 L-BU

14

Left Front Turn Signal Lamp Supply Voltage

36

0.35 D-GN

5060

Low Speed GMLAN Serial Data (UE1)

37-39

--

--

Not Used

40

0.35 L-BU

1788

Traction Control Switch Signal (JL4/JL9)

41-43

--

--

Not Used

44

0.35 TN/WH

1969

Headlamp High Beam Relay Control

45-46

--

--

Not Used

47

0.5 YE

196

Windshield Wiper Motor Park Switch Signal

48-50

--

--

Not Used

51

0.35 D-GN

113

Windshield Wiper Switch Signal

52-53

--

--

Not Used

54

0.35 YE

317

Fog Lamp Relay Control (T37)

55

0.35 OG/BK

744

Rear Compartment Lid Ajar Switch Signal

56

--

--

Not Used

57

0.35 BN

253

Trunk Release Relay Control

58-59

--

--

Not Used

60

0.35 TN

28

Horn Relay Control

61

0.5 BK

1250

Ground

62

0.35 RD/WH

1240

Battery Positive Voltage (without LNF)

63

0.35 GY

596

5-Volt Reference - 1 (without LNF)

64

0.5 BK

650

Ground (without LNF)

65-66

--

--

Not Used

67

0.35 YE/BK

61

Low Reference

68

0.35 WH

5075

Current Sensor Signal (without LNF)

69

--

--

Not Used

70

0.35 D-GN/WH

636

Ambient Air Temperature Sensor Signal

71

0.35 L-GN/BK

592

DRL Relay Control

72

--

--

Not Used

Body Control Module (BCM) X2


Object Number: 1376254  Size: CH

Connector Part Information

  • OEM: 15393121
  • Service: 88987848
  • Description: 72-Way F Micro 64 (GY)

Terminal Part Information

  • Pins: 1-5, 9, 10-12, 14-17, 19, 20, 26, 38, 44, 47, 51, 54-58, 61, 62, 66-69, 72
  • Terminal/Tray: 15359541/4
  • Core/Insulation Crimp: M/M
  • Release Tool/Test Probe: 15381651-2/J-35616-64B (L-BU)
  • Pins: 70
  • Terminal/Tray: See Terminal Repair Kit
  • Core/Insulation Crimp: See Terminal Repair Kit
  • Release Tool/Test Probe: See Terminal Repair Kit

Body Control Module (BCM) X2

Pin

Wire

Circuit

Function

1

0.5 BN/WH

2500

High Speed GMLAN Serial Data (+)

2

0.35 TN/BK

2500

High Speed GMLAN Serial Data (+)

3

0.35 YE

10

Headlamp Switch Signal

4

0.35 PU

524

Headlamp Dimmer Switch High Beam Signal

5

0.35 BN/WH

301

Park Lamp Switch On Signal

6-8

--

--

Not Used

9

0.35 WH

111

Hazard Switch Signal

10

0.35 TN

1576

Rear Compartment Lid Release Switch

11

0.35 D-GN

264

Security Indicator Supply Voltage

12-13

--

--

Not Used

14

0.35 TN

28

Horn Relay Control

15

0.35 WH

103

Headlamp Switch Headlamps On Signal

16

0.35 OG

192

Front Fog Lamp Switch Signal (T37)

17

0.35 PU/WH

549

Headlamp Switch Headlamps Off Signal

18

0.35 WH

5359

5-Volt Reference

19

0.5 BN

2501

High Speed GMLAN Serial Data (-)

20

0.35 TN

2501

High Speed GMLAN Serial Data (-)

21-25

--

--

Not Used

26

0.35 D-GN

44

Instrument Panel Lamp Dimmer Switch Signal

27-30

--

--

Not Used

31

0.35 YE

5361

Brake Pedal Position Sensor Signal

32-37

--

--

Not Used

38

0.35 D-GN

5060

Low Speed GMLAN Serial Data

39-43

--

--

Not Used

44

0.35 L-GN/BK

1137

DRL Ambient Light Sensor Signal

45-46

--

--

Not Used

47

0.35 YE/BK

1138

DRL Ambient Light Sensor Low Reference

48-50

--

--

Not Used

51

0.35 BN

1356

Flash To Pass Switch Signal

52-55

--

--

Not Used

56

0.35 WH

1390

Off/Run/Crank Voltage

57

0.35 GY

112

Windshield Wiper Switch Signal

58

0.35 PU

719

Low Reference

59

0.35 BN

5360

Low Reference

60

--

--

Not Used

61

0.35 GY

1884

Cruise Control Switch Signal (K34)

62

0.35 WH/BK

1073

Ignition Key Resistor Signal

63-65

--

--

Not Used

66

0.35 YE/BK

1418

Left Rear Turn Signal Switch Signal

67

0.35 D-GN/WH

1419

Right Rear Turn Signal Switch Signal

68

0.35 L-BU

292

Rear Defog Switch Signal

69

0.35 L-GN

66

A/C Request Signal (C67)

70

--

--

Not Used

71

0.35 PU

5234

Passenger Seatbelt Reminder

72

0.35 WH

193

Rear Defog Relay Control

Body Control Module (BCM) X3


Object Number: 1814460  Size: CH

Connector Part Information

  • OEM: 15492675
  • Service: 15404825
  • Description: 41-Way F Metri-Pack 280, 800 Series (RD)

Terminal Part Information

  • Terminal/Tray: See Terminal Repair Kit
  • Core/Insulation Crimp: See Terminal Repair Kit
  • Release Tool/Test Probe: See Terminal Repair Kit

Body Control Module (BCM) X3

Pin

Wire

Circuit

Function

A1

0.5 TN

294

Door Lock Actuator Unlock Control (AU3)

A2

0.5 TN

294

Door Lock Actuator Unlock Control (AU3) (Sedan)

0.5 TN

294

Door Lock Actuator Unlock Control (AU3) (Sedan)

A3

0.5 D-BU/WH

149

Courtesy Lamp Supply Voltage

A4

0.5 GY

295

Door Lock Actuator Lock Control (AU3) (Driver)

0.5 GY

295

Door Lock Actuator Lock Control (AU3) (Passenger)

A5

0.5 GY

295

Door Lock Actuator Lock Control (AU3) (Sedan)

0.5 GY

295

Door Lock Actuator Lock Control (AU3) (Sedan)

A6

--

--

Not Used

A7

0.35 BN

9

Park Lamp Supply Voltage

A8

0.35 PK

339

Run/Crank Ignition 1 Voltage (KA1)

A9

0.5 YE

18

Left Rear Stop/Turn Lamp Supply Voltage

A10

0.5 GY

157

Courtesy Lamp Control

A11

--

--

Not Used

A12

0.5 D-GN

19

Right Rear Stop/Turn Lamp Supply Voltage

B1

0.5 TN

694

Driver Door Lock Actuator Unlock Control

B2

--

--

Not Used

B3

0.35 RD/WH

1240

Battery Positive Voltage (L61 or LE5)

0.5 RD/WH

1240

Battery Positive Voltage

B4

--

--

Not Used

B5

0.35 BN

4

Accessory Voltage

0.35 BN

4

Accessory Voltage (MN5)

B6-B7

--

--

Not Available

B8-B11

--

--

Not Used

B12

0.35 GY

8

Instrument Panel Lamp Supply Voltage (L61/LE5)

0.35 GY

8

Instrument Panel Lamp Supply Voltage (L61/LE5)

C1-C2

--

--

Not Available

C3

1 D-GN

1301

Retained Accessory Power Fuse Supply Voltage

C4

--

--

Not Used

C5

3 D-GN

801

Retained Accessory Power Fuse Supply Voltage

C6-C7

--

--

Not Available

C8-C11

--

--

Not Used

C12

0.35 OG

228

Windshield Washer Pump Control

D1

5 RD/BK

142

Battery Positive Voltage

D2

--

--

Not Available

D3

--

--

Not Used

D4

0.5 RD/WH

840

Battery Positive Voltage

D5

3 D-GN

801

Retained Accessory Power Fuse Supply Voltage

D6

3 PK

739

Run/Crank Ignition 1 Voltage

D7

0.35 PK

1339

Ignition 1 Voltage

0.35 PK

1339

Ignition 1 Voltage

D8-D9

--

--

Not Used

D10

3 RD/BK

442

Battery Positive Voltage

D11

--

--

Not Used

D12

3 RD/WH

242

Battery Positive Voltage

Body Control Module (BCM) X4


Object Number: 697044  Size: CH

Connector Part Information

  • OEM: 15492668
  • Service: 88988776
  • Description: 68-Way F Metri-Pack 280 Series (L-GY)

Terminal Part Information

  • Terminal/Tray: See Terminal Repair Kit
  • Core/Insulation Crimp: See Terminal Repair Kit
  • Release Tool/Test Probe: See Terminal Repair Kit

Body Control Module (BCM) X4

Pin

Wire

Circuit

Function

A1

2 RD/WH

640

Battery Positive Voltage (UQ3)

A2-A12

--

--

Not Used

B1

0.35 OG

228

Windshield Washer Pump Control

B2

0.35 GY

8

Instrument Panel Lamp Supply Voltage

B3-B12

--

--

Not Used

C1

0.5 RD/WH

1440

Battery Positive Voltage

C2

0.35 GY

8

Instrument Panel Lamp Supply Voltage

0.35 GY

8

Instrument Panel Lamp Supply Voltage

C3-C5

--

--

Not Used

C6-C7

--

--

Not Available

C8

0.35 BN

4

Accessory Voltage

C9-C10

--

--

Not Used

C11

0.35 GY

8

Instrument Panel Lamp Supply Voltage

C12

0.35 GY

8

Instrument Panel Lamp Supply Voltage

D1

0.35 RD/WH

1040

Battery Positive Voltage

D2

--

--

Not Used

D3

0.35 YE

5199

Run/Crank Voltage

D4

3 BN

141

Ignition 3 Voltage

D5

--

--

Not Used

D6-D7

--

--

Not Available

D8-D9

--

--

Not Used

D10

1 RD/WH

1140

Battery Positive Voltage

0.5 RD/WH

1140

Battery Positive Voltage

D11-D12

--

--

Not Used

E1-E5

--

--

Not Used

E6

0.35 PK

439

Ignition 1 Voltage

0.35 PK

439

Ignition 1 Voltage (LNF)

E7-E11

--

--

Not Used

E12

2 BK

550

Ground

F1

0.35 RD/WH

1540

Battery Positive Voltage

0.35 RD/WH

1540

Battery Positive Voltage

F2

0.35 GY

8

Instrument Panel Lamp Supply Voltage (LNF)

F3

0.35 GY

8

Instrument Panel Lamp Supply Voltage (KA1)

0.35 GY

8

Instrument Panel Lamp Supply Voltage (KA1)

F4

0.35 PK

339

Ignition 1 Voltage

F5

0.5 PK

339

Ignition 1 Voltage

F6

0.5 PK

339

Ignition 1 Voltage

F7-F8

--

--

Not Used

F9

0.55 PK

1539

Ignition 1 Voltage

0.35 PK

1539

Ignition 1 Voltage (K34)

F10-F12

--

--

Not Used

Brake Booster Vacuum Sensor (LNF)


Object Number: 1331443  Size: CH

Connector Part Information

  • OEM: 15365614
  • Service: See Catalog
  • Description: 3-Way F 1.5 Sealed (D-GY)

Terminal Part Information

  • Terminal/Tray: 7116-4102-08/9
  • Core/Insulation Crimp: E/1
  • Release Tool/Test Probe: 12094430/J-35616-2A (GY)

Brake Booster Vacuum Sensor (LNF)

Pin

Wire

Circuit

Function

1

0.5 L-GN

6257

5-Volt Reference

2

0.5 L-GN/BK

6258

Low Reference

3

0.5 D-BU

1809

Brake Vacuum Sensor Signal

Brake Fluid Level Switch


Object Number: 1538760  Size: CH

Connector Part Information

  • OEM: 15449028
  • Service: 88987978
  • Description: 2-Way F GT 150 Series Sealed (BK)

Terminal Part Information

  • Pins: A, B
  • Terminal/Tray: 15326267/19
  • Core/Insulation Crimp: Pins A: E/4
  • Core/Insulation Crimp: Pins B: E/1
  • Release Tool/Test Probe: 15315247/J-35616-2A (GY)

Brake Fluid Level Switch

Pin

Wire

Circuit

Function

A

0.35 PK

849

Brake Fluid Level Sensor Signal

B

0.5 BK

650

Ground

Brake Pedal Position Sensor


Object Number: 1243663  Size: CH

Connector Part Information

  • OEM: 15332132
  • Service: See Catalog
  • Description: 3-Way F GT 150 Series (BK)

Terminal Part Information

  • Terminal/Tray: See Terminal Repair Kit
  • Core/Insulation Crimp: See Terminal Repair Kit
  • Release Tool/Test Probe: See Terminal Repair Kit

Brake Pedal Position Sensor

Pin

Wire

Circuit

Function

A

0.35 WH

5359

5-Volt Reference

B

0.35 YE

5361

Brake Pedal Position Sensor Signal

C

0.35 BN

5360

Low Reference

Camshaft Position (CMP) Actuator Solenoid - Exhaust (LE5/LNF)


Object Number: 646406  Size: CH

Connector Part Information

  • OEM: 15336004
  • Service: 15306187
  • Description: 2-Way F Global Terminal 150 Series Sealed (BK)

Terminal Part Information

  • Terminal/Tray: 15326267/19
  • Core/Insulation Crimp: E/4
  • Release Tool/Test Probe: 15315247/J-35616-2A (GY)

Camshaft Position (CMP) Actuator Solenoid - Exhaust (LE5/LNF)

Pin

Wire

Circuit

Function

A

0.5 L-GN

5282

CMP Actuator Solenoid Control Exhaust (LE5)

0.5 PK/BK

5293

Powertrain Main Relay Fused Supply (LNF)

B

0.5 BN/WH

6754

Low Reference (LE5)

0.5 L-GN

5282

Low Reference (LNF)

Camshaft Position (CMP) Actuator Solenoid - Intake (LE5/LNF)


Object Number: 646403  Size: CH

Connector Part Information

  • OEM: 15335987
  • Service: 15306430
  • Description: 2-Way F Global Terminal 150 Series Sealed (BK)

Terminal Part Information

  • Pins: A
  • Terminal/Tray: 15326267/19
  • Core/Insulation Crimp: E/4
  • Release Tool/Test Probe: 15315247/J-35616-2A (GY)
  • Pins: B
  • Terminal/Tray: See Terminal Repair Kit
  • Core/Insulation Crimp: See Terminal Repair Kit
  • Release Tool/Test Probe: See Terminal Repair Kit

Camshaft Position (CMP) Actuator Solenoid - Intake (LE5/LNF)

Pin

Wire

Circuit

Function

A

0.5 PU

5284

CMP Actuator Solenoid Control Intake (LE5)

0.5 PK/BK

5293

Powertrain Main Relay Fused Supply (LNF)

B

0.5 BN

6753

Low Reference (LE5)

0.5 PU

5284

Low Reference (LNF)

Camshaft Position (CMP) Sensor (L61)


Object Number: 646415  Size: CH

Connector Part Information

  • OEM: 15326808
  • Service: 15306388
  • Description: 3-Way F GT 150 Series Sealed (BK)

Terminal Part Information

  • Terminal/Tray: 12191819/8
  • Core/Insulation Crimp: E/A
  • Release Tool/Test Probe: 15315247/J-35616-2A (GY)

Camshaft Position (CMP) Sensor (L61)

Pin

Wire

Circuit

Function

A

0.5 D-BU

5300

5-Volt Reference

B

0.5 TN

5301

Low Reference

C

0.5 OG

5275

CMP Sensor Signal

Camshaft Position (CMP) Sensor - Exhaust (LE5/LNF)


Object Number: 646415  Size: CH

Connector Part Information

  • OEM: 15326808
  • Service: See Catalog
  • Description: 3-Way F Global Terminal 150 Series Sealed (BK)

Terminal Part Information

  • Terminal/Tray: 12191819/8
  • Core/Insulation Crimp: E/A
  • Release Tool/Test Probe: 15315247/J-35616-2A (GY)

Camshaft Position (CMP) Sensor - Exhaust (LE5/LNF)

Pin

Wire

Circuit

Function

A

0.35 YE/BK

5297

5-Volt Reference (LE5)

0.35 GY

705

5-Volt Reference 2 (LNF)

B

0.35 GY

5296

Low Reference (LE5)

0.35 TN

552

Low Reference (LNF)

C

0.35 D-GN

5273

CMP Sensor Signal

Camshaft Position (CMP) Sensor - Intake (LE5/LNF)


Object Number: 646415  Size: CH

Connector Part Information

  • OEM: 15326808
  • Service: 15306388
  • Description: 3-Way F GT 150 Series Sealed (BK)

Terminal Part Information

  • Terminal/Tray: 12191819/8
  • Core/Insulation Crimp: E/A
  • Release Tool/Test Probe: 15315247/J-35616-2A (GY)

Camshaft Position (CMP) Sensor - Intake (LE5/LNF)

Pin

Wire

Circuit

Function

A

0.5 D-BU

5300

5-Volt Reference (LE5)

0.5 GY

705

5-Volt Reference 2 (LNF)

B

0.5 TN

5301

Low Reference (LE5)

552

Low Reference (LNF)

C

0.5 OG

5275

CMP Sensor Signal

Cellular Microphone (UE1)


Object Number: 35441  Size: CH

Connector Part Information

  • OEM: 12047663
  • Service: 12058709
  • Description: 2-Way M Metri-Pack 150 Series (BK)

Terminal Part Information

  • Terminal/Tray: 12047581/2
  • Core/Insulation Crimp: E/C
  • Release Tool/Test Probe: 12094429/J-35616-3 (GY)

Cellular Microphone (UE1)

Pin

Wire

Circuit

Function

A

BARE

1489

Drain Wire

B

0.35 GY

655

Cellular Microphone Signal

Center High Mounted Stop Lamp (CHMSL)


Object Number: 704047  Size: CH

Connector Part Information

  • OEM: 12059110
  • Service: 88953271
  • Description: 2-Way F Metri-Pack 150 Series (BK)

Terminal Part Information

  • Terminal/Tray: 12047767/2
  • Core/Insulation Crimp: E/A
  • Release Tool/Test Probe: 12094429/J-35616-2A (GY)

Center High Mounted Stop Lamp (CHMSL)

Pin

Wire

Circuit

Function

A

0.8 L-BU

20

Stop Lamp Supply Voltage

B

0.8 BK

750

Ground

Cigar Lighter (DT4)/Auxiliary Power Outlet (without DT4)


Object Number: 365964  Size: CH

Connector Part Information

  • OEM: 12176445
  • Service: 15305919
  • Description: 3-Way F Metri-Pack 280 Series (WH)

Terminal Part Information

  • Terminal/Tray: 12110844/4
  • Core/Insulation Crimp: Pins A: E/A
  • Core/Insulation Crimp: Pins C: C/A
  • Release Tool/Test Probe: 15315247/J-35616-4A (PU)

Cigar Lighter (DT4)/Auxiliary Power Outlet (without DT4)

Pin

Wire

Circuit

Function

A

0.8 RD/WH

40

Battery Positive Voltage

B

--

--

Not Used

C

0.8 BK

550

Ground

Clutch Pedal Position (CPP) Sensor (M86/MU3)


Object Number: 1243663  Size: CH

Connector Part Information

  • OEM: 15332132
  • Service: See Catalog
  • Description: 3-Way F GT 150 Series (BK)

Terminal Part Information

  • Terminal/Tray: See Terminal Repair Kit
  • Core/Insulation Crimp: See Terminal Repair Kit
  • Release Tool/Test Probe: See Terminal Repair Kit

Clutch Pedal Position (CPP) Sensor (M86/MU3)

Pin

Wire

Circuit

Function

A

0.5 OG/BK

7360

Low Reference (M86)

0.5 TN

2759

Low Reference (MU3)

B

0.35 L-GN

6338

Clutch Pedal Position Sensor Signal

C

0.35 D-BU/WH

7361

5-Volt Reference (M86)

0.5 GY

2709

5-Volt Reference (MU3)

Coolant Level Switch (LNF)


Object Number: 635009  Size: CH

Connector Part Information

  • OEM: 12052641
  • Service: See Catalog
  • Description: 2-Way F Metri-Pack 150 Series Sealed (BK)

Terminal Part Information

  • Terminal/Tray: See Terminal Repair Kit
  • Core/Insulation Crimp: See Terminal Repair Kit
  • Release Tool/Test Probe: See Terminal Repair Kit

Coolant Level Switch (LNF)

Pin

Wire

Circuit

Function

A

0.35 L-GN

1478

Coolant Level Switch Signal

B

0.5 BK

650

Ground

Cooling Fan - 1 (LNF)


Object Number: 1283123  Size: CH

Connector Part Information

  • OEM: 15383305
  • Service: 88988311
  • Description: 2-Way F Metri-Pack 480 Series Sealed (NA)

Terminal Part Information

  • Terminal/Tray: 12191448/3
  • Core/Insulation Crimp: F/3
  • Release Tool/Test Probe: 15315247/J-35616-40 (BU)

Cooling Fan - 1 (LNF)

Pin

Wire

Circuit

Function

1

3 L-BU

409

Cooling Fan Motor Supply Voltage

2

--

--

Not Available

3

3 WH

504

Cooling Fan Motor Low Reference

Cooling Fan - 2 (LNF)


Object Number: 1283123  Size: CH

Connector Part Information

  • OEM: 15383305
  • Service: 88988311
  • Description: 2-Way F Metri-Pack 480 Series Sealed (NA)

Terminal Part Information

  • Terminal/Tray: 12191448/3
  • Core/Insulation Crimp: F/3
  • Release Tool/Test Probe: 15315247/J-35616-40 (BU)

Cooling Fan - 2 (LNF)

Pin

Wire

Circuit

Function

1

3 GY

532

Cooling Fan Motor Supply Voltage

2

--

--

Not Available

3

3 BK

1050

Ground

Cooling Fan Motor (L61/LE5)


Object Number: 1646319  Size: CH

Connector Part Information

  • OEM: 15451371
  • Service: 88988310
  • Description: 3-Way F Metri-Pack 480 Series Sealed (BK)

Terminal Part Information

  • Terminal/Tray: 12191448/3
  • Core/Insulation Crimp: F/3
  • Release Tool/Test Probe: 15315247/J-35616-40 (BU)

Cooling Fan Motor (L61/LE5)

Pin

Wire

Circuit

Function

1

3 L-BU

409

Cooling Fan Motor Supply Voltage (L61)

3 YE

5358

Auxiliary Cooling Fan Motor Supply Voltage (LE5)

2

3 GY

532

Cooling Fan Motor Supply Voltage

3

3 BK

1050

Ground

Cooling Fan Resistor (LE5)


Object Number: 1664623  Size: CH

Connector Part Information

  • OEM: 15486525
  • Service: See Catalog
  • Description: 2-Way F Sealed (BK)

Terminal Part Information

  • Terminal/Tray: See Terminal Repair Kit
  • Core/Insulation Crimp: See Terminal Repair Kit
  • Release Tool/Test Probe: See Terminal Repair Kit

Cooling Fan Resistor (LE5)

Pin

Wire

Circuit

Function

1

3 L-BU

409

Cooling Fan Motor Supply Voltage

2

3 YE

5358

Auxiliary Cooling Fan Motor Supply Voltage

Crankshaft Position (CKP) Sensor


Object Number: 1664596  Size: CH

Connector Part Information

  • OEM: 15325738
  • Service: 88987978
  • Description: 3-Way F GT 150 Series Sealed (BK)

Terminal Part Information

  • Terminal/Tray: See Terminal Repair Kit
  • Core/Insulation Crimp: See Terminal Repair Kit
  • Release Tool/Test Probe: See Terminal Repair Kit

Crankshaft Position (CKP) Sensor

Pin

Wire

Circuit

Function

1

0.5 L-GN

2867

5-Volt Reference

2

0.5 PU

574

Low Reference

3

0.5 YE

573

Crankshaft Position Sensor Signal

Data Link Connector (DLC)


Object Number: 1548125  Size: CH

Connector Part Information

  • OEM: 15488184
  • Service: 15317575
  • Description: 16-Way F Metri-Pack 150 Series (BK)

Terminal Part Information

  • Terminal/Tray: See Terminal Repair Kit
  • Core/Insulation Crimp: See Terminal Repair Kit
  • Release Tool/Test Probe: See Terminal Repair Kit

Data Link Connector (DLC)

Pin

Wire

Circuit

Function

1

0.35 D-GN

5060

Low Speed GMLAN Serial Data

2-3

--

--

Not Used

4

0.5 BK

550

Ground

5

0.5 BK/WH

1051

Signal Ground

6

0.5 TN/BK

2500

High Speed GMLAN Serial Data (+)

7-13

--

--

Not Used

14

0.5 TN

2501

High Speed GMLAN Serial Data (-)

15

--

--

Not Used

16

0.5 RD/WH

40

Battery Positive Voltage

Digital Radio Receiver (U2K)


Object Number: 1454407  Size: CH

Connector Part Information

  • OEM: 15416970
  • Service: 15394150
  • Description: 16-Way F Micro 64 Modular (BK)

Terminal Part Information

  • Terminal/Tray: 15359541/4
  • Core/Insulation Crimp: M/M
  • Release Tool/Test Probe: 15381651-2/J-35616-64B (L-BU)

Digital Radio Receiver (U2K)

Pin

Wire

Circuit

Function

1

--

--

Not Used

2

0.35 BN/WH

367

Left Audio Signal (+)

3

0.35 D-GN/WH

368

Right Audio Signal (+)

4

--

--

Not Used

5

0.35 D-GN

5060

Low Speed GMLAN Serial Data

6-8

--

--

Not Used

9

0.5 BK

650

Ground

10

0.35 TN/WH

372

Audio Common (-)

11

BARE

814

Drain Wire

12-15

--

--

Not Used

16

0.5 RD/WH

1240

Battery Positive Voltage

Dome Lamp (- CF5)


Object Number: 130635  Size: CH

Connector Part Information

  • OEM: 12045813
  • Service: 12101889
  • Description: 4-Way F Metri-Pack 150 Series (WH)

Terminal Part Information

  • Pins: A, B, D
  • Terminal/Tray: 12047767/2
  • Core/Insulation Crimp: E/C
  • Release Tool/Test Probe: 12094429/J-35616-2A (GY)

Dome Lamp (- CF5)

Pin

Wire

Circuit

Function

A

0.5 BK

750

Ground

B

0.5 GY

157

Interior Lamp Control

C

--

--

Not Used

D

0.5 D-BU/WH

149

Courtesy Lamp Supply Voltage

Door Ajar Switch - Driver


Object Number: 1538760  Size: CH

Connector Part Information

  • OEM: 15449028
  • Service: 88987978
  • Description: 2-Way F GT 150 Series Sealed (BK)

Terminal Part Information

  • Pins: A, B
  • Terminal/Tray: 15326267/19
  • Core/Insulation Crimp: Pins A: E/4
  • Core/Insulation Crimp: Pins B: E/1
  • Release Tool/Test Probe: 15315247/J-35616-2A (GY)

Door Ajar Switch - Driver

Pin

Wire

Circuit

Function

A

0.35 GY/BK

745

Left Front Door Ajar Switch Signal

B

0.35 BK

650

Ground

Door Ajar Switch - Left Rear (Sedan)


Object Number: 1538760  Size: CH

Connector Part Information

  • OEM: 15449028
  • Service: 88987978
  • Description: 2-Way F GT 150 Series Sealed (BK)

Terminal Part Information

  • Pins: A, B
  • Terminal/Tray: 15326267/19
  • Core/Insulation Crimp: Pins A: E/4
  • Core/Insulation Crimp: Pins B: E/1
  • Release Tool/Test Probe: 15315247/J-35616-2A (GY)

Door Ajar Switch - Left Rear (Sedan)

Pin

Wire

Circuit

Function

A

0.35 L-BU/BK

747

Left Rear Door Ajar Switch Signal

B

0.35 BK

650

Ground

Door Ajar Switch - Right Front


Object Number: 1538760  Size: CH

Connector Part Information

  • OEM: 15449028
  • Service: 88987978
  • Description: 2-Way F GT 150 Series Sealed (BK)

Terminal Part Information

  • Pins: A, B
  • Terminal/Tray: 15326267/19
  • Core/Insulation Crimp: Pins A: E/4
  • Core/Insulation Crimp: Pins B: E/1
  • Release Tool/Test Probe: 15315247/J-35616-2A (GY)

Door Ajar Switch - Right Front

Pin

Wire

Circuit

Function

A

0.35 TN/WH

746

Right Front Door Ajar Switch Signal

B

0.5 BK

650

Ground

Door Ajar Switch - Right Rear (Sedan)


Object Number: 1538760  Size: CH

Connector Part Information

  • OEM: 15449028
  • Service: 88987978
  • Description: 2-Way F GT 150 Series Sealed (BK)

Terminal Part Information

  • Terminal/Tray: 15326267/19
  • Core/Insulation Crimp: E/4
  • Release Tool/Test Probe: 15315247/J-35616-2A (GY)

Door Ajar Switch - Right Rear (Sedan)

Pin

Wire

Circuit

Function

A

0.35 L-GN/BK

748

Right Rear Door Ajar Switch Signal

B

0.35 BK

650

Ground

Door Latch - Driver (AU3)


Object Number: 1711027  Size: CH

Connector Part Information

  • OEM: 15489983
  • Service: 88988881
  • Description: 4-Way F Timer Micro III Sealed (NA)

Terminal Part Information

  • Terminal/Tray: See Terminal Repair Kit
  • Core/Insulation Crimp: See Terminal Repair Kit
  • Release Tool/Test Probe: See Terminal Repair Kit

Door Latch - Driver (AU3)

Pin

Wire

Circuit

Function

1

--

--

Not Used

2

0.5 TN

694

Driver Door Lock Actuator Unlock Control

3

0.5 GY

295

Door Lock Actuator Lock Control

4

--

--

Not Used

Door Latch - Left Rear (Sedan) (AU3)


Object Number: 1711027  Size: CH

Connector Part Information

  • OEM: 15489983
  • Service: 88988881
  • Description: 4-Way F Timer Micro III Sealed (NA)

Terminal Part Information

  • Terminal/Tray: See Terminal Repair Kit
  • Core/Insulation Crimp: See Terminal Repair Kit
  • Release Tool/Test Probe: See Terminal Repair Kit

Door Latch - Left Rear (Sedan) (AU3)

Pin

Wire

Circuit

Function

1

--

--

Not Used

2

0.5 TN

294

Door Lock Actuator Unlock Control

3

0.5 GY

295

Door Lock Actuator Lock Control

4

--

--

Not Used

Door Latch - Passenger (AU3)


Object Number: 1711027  Size: CH

Connector Part Information

  • OEM: 15489983
  • Service: 8988881
  • Description: 4-Way F Timer Micro III Sealed (NA)

Terminal Part Information

  • Terminal/Tray: See Terminal Repair Kit
  • Core/Insulation Crimp: See Terminal Repair Kit
  • Release Tool/Test Probe: See Terminal Repair Kit

Door Latch - Passenger (AU3)

Pin

Wire

Circuit

Function

1

--

--

Not Used

2

0.5 TN

294

Door Lock Actuator Unlock Control

3

0.5 GY

295

Door Lock Actuator Lock Control

4

--

--

Not Used

Door Latch - Right Rear (Sedan) (AU3)


Object Number: 1711027  Size: CH

Connector Part Information

  • OEM: 15489983
  • Service: 88988881
  • Description: 4-Way F Timer Micro III Sealed (NA)

Terminal Part Information

  • Terminal/Tray: See Terminal Repair Kit
  • Core/Insulation Crimp: See Terminal Repair Kit
  • Release Tool/Test Probe: See Terminal Repair Kit

Door Latch - Right Rear (Sedan) (AU3)

Pin

Wire

Circuit

Function

1

--

--

Not Used

2

0.5 TN

294

Door Lock Actuator Unlock Control

3

0.5 GY

295

Door Lock Actuator Lock Control

4

--

--

Not Used

Door Lock Switch - Driver (AU3)


Object Number: 1376712  Size: CH

Connector Part Information

  • OEM: 15417063
  • Service: See Catalog
  • Description: 3-Way F Micro-Pack 64 (BK)

Terminal Part Information

  • Terminal/Tray: See Terminal Repair Kit
  • Core/Insulation Crimp: See Terminal Repair Kit
  • Release Tool/Test Probe: See Terminal Repair Kit

Door Lock Switch - Driver (AU3)

Pin

Wire

Circuit

Function

A

0.5 BK

1250

Ground

B

0.35 GY

8

Instrument Panel Lamp Supply Voltage

C

0.5 WH

682

Door Lock Lock/Unlock Signal

Door Lock Switch - Front Passenger (AU3)


Object Number: 1376712  Size: CH

Connector Part Information

  • OEM: 15417063
  • Service: See Catalog
  • Description: 3-Way F Micro-Pack 64 (BK)

Terminal Part Information

  • Terminal/Tray: See Terminal Repair Kit
  • Core/Insulation Crimp: See Terminal Repair Kit
  • Release Tool/Test Probe: See Terminal Repair Kit

Door Lock Switch - Front Passenger (AU3)

Pin

Wire

Circuit

Function

A

0.5 BK

1250

Ground

B

0.35 GY

8

Instrument Panel Lamp Supply Voltage (1)

C

0.5 WH

682

Door Lock Lock/Unlock Signal

Electronic Brake Control Module (EBCM) (JM4)


Object Number: 1591670  Size: CH

Connector Part Information

  • OEM: 13515286
  • Service: 88988597
  • Description: 26-Way F Receptacle Sealed (BK)

Terminal Part Information

  • Pins: 1, 14, 26
  • Terminal/Tray: 60012931/21
  • Core/Insulation Crimp: C/1
  • Release Tool/Test Probe: 12122378/J-35616-4A (PU)
  • Pins: 2-6, 8, 9, 11, 12, 20-24
  • Terminal/Tray: 60040451/21
  • Core/Insulation Crimp: See Terminal Repair Kit
  • Release Tool/Test Probe: 12093647/J-35616-40 (BU)

Electronic Brake Control Module (EBCM) (JM4)

Pin

Wire

Circuit

Function

1

2 RD/WH

740

Battery Positive Voltage

2

0.5 OG

885

Left Rear Wheel Speed Sensor Low Reference

3

0.5 TN

884

Left Rear Wheel Speed Sensor Signal

4

--

--

Not Used

5

0.5 D-GN

872

Right Front Wheel Speed Sensor Signal

6

0.5 TN

833

Right Front Wheel Speed Sensor Low Reference

7

--

--

Not Used

8

0.5 YE

873

Left Front Wheel Speed Sensor Low Reference

9

0.5 L-BU

830

Left Front Wheel Speed Sensor Signal

10

--

--

Not Used

11

0.5 BN

882

Right Rear Wheel Speed Sensor Signal

12

0.5 WH

883

Right Rear Wheel Speed Sensor Low Reference

13

--

--

Not Used

14

3 RD/BK

542

Battery Positive Voltage

15-19

--

--

Not Used

20

0.35 PK

1439

Ignition 1 Voltage

21

0.35 TN

2501

High Speed GMLAN Serial Data Bus (-)

22

0.35 TN

2501

High Speed GMLAN Serial Data Bus (-)

23

0.35 TN/BK

2500

High Speed GMLAN Serial Data Bus (+)

24

0.35 TN/BK

2500

High Speed GMLAN Serial Data Bus (+)

25

--

--

Not Used

26

3 BK

350

Ground

Electronic Brake Control Module (EBCM) (JL4/JL9)


Object Number: 1830966  Size: CH

Connector Part Information

  • OEM: 13608606
  • Service: See Catalog
  • Description: 47-Way F MK25/60 Sealed (BK)

Terminal Part Information

  • Terminal/Tray: See Terminal Repair Kit
  • Core/Insulation Crimp: See Terminal Repair Kit
  • Release Tool/Test Probe: See Terminal Repair Kit

Electronic Brake Control Module (EBCM) (JL4/JL9)

Pin

Wire

Circuit

Function

1

3 RD/BK

542

Battery Positive Voltage

2-4

--

--

Not Used

5

0.5 GY

1056

Steering Wheel Position Sensor 5V Reference Voltage

6-7

--

--

Not Used

8

0.5 PK

1439

Ignition 1 Voltage

9-10

--

--

Not Used

11

0.5 TN/BK

2500

High Speed GMLAN Serial Data Bus+

12

0.5 TN/BK

2500

High Speed GMLAN Serial Data Bus+

13

0.5 TN

2501

High Speed GMLAN Serial Data Bus-

14

0.5 TN

2501

High Speed GMLAN Serial Data Bus-

15

--

--

Not Used

16

3 BK

350

Ground

17

--

--

Not Used

18

0.5 PK/BK

6434

CAN Bus High Serial Data

19

0.5 GY/BK

6435

CAN Bus Low Serial Data

20-21

--

--

Not Used

22

0.5 D-GN

2087

12V Reference

23-25

--

--

Not Used

26

0.5 L-GN

6257

5-Volt Reference (JL4 with LNF)

27

0.5 L-GN/BK

6258

Low Reference (JL4 with LNF)

28

--

--

Not Used

29

0.5 L-BU

2088

Steering Wheel Position Sensor Low Reference

30-31

--

--

Not Used

32

2 RD/WH

740

Battery Positive Voltage

33

0.5 TN

833

Right Front Wheel Speed Sensor Low Reference

34

0.5 D-GN

872

Right Front Wheel Speed Sensor Signal

35

--

--

Not Used

36

0.5 TN

884

Left Rear Wheel Speed Sensor Signal

37

0.5 OG

885

Left Rear Wheel Speed Sensor Low Reference

38-39

--

--

Not Used

40

0.5 OG/BK

556

Steering Wheel Position Sensor Low Reference

41

0.5 D-BU

1809

Brake Booster Vacuum Sensor Signal (LNF)

42

0.5 WH

883

Right Rear Wheel Speed Sensor Low Reference

43

0.5 BN

882

Right Rear Wheel Speed Sensor Signal

44

--

--

Not Used

45

0.5 L-BU

830

Left Front Wheel Speed Sensor Signal

46

0.5 YE

873

Left Front Wheel Speed Sensor Low Reference

47

--

--

Not Used

Electronic Power Steering (EPS) Control Module X1


Object Number: 823283  Size: CH

Connector Part Information

  • OEM: 10721337
  • Service: 88952816
  • Description: 2-Way F 375 58 (BK)

Terminal Part Information

  • Terminal/Tray: 7116-3251/10
  • Core/Insulation Crimp: See Terminal Repair Kit
  • Release Tool/Test Probe: 12094430/J-35616-22 (RD)

Electronic Power Steering (EPS) Control Module X1

Pin

Wire

Circuit

Function

1

5 RD/BK

642

Battery Positive Voltage

2

5 BK

1150

Ground

Electronic Power Steering (EPS) Control Module X2


Object Number: 1413003  Size: CH

Connector Part Information

  • OEM: 15438391
  • Service: 88988409
  • Description: 6-Way F 040 (GY)

Terminal Part Information

  • Terminal/Tray: 173681-2/17
  • Core/Insulation Crimp: E/4
  • Release Tool/Test Probe: 15315247/J-35616-16 (L-GN)

Electronic Power Steering (EPS) Control Module X2

Pin

Wire

Circuit

Function

1

0.5 TN/BK

2500

High Speed GMLAN Serial Data Bus (+)

2

0.5 TN

2501

High Speed GMLAN Serial Data Bus (-)

3

--

--

Not Used

4

0.5 BN/WH

2500

High Speed GMLAN Serial Data Bus (+)

5

0.5 BN

2501

High Speed GMLAN Serial Data Bus (-)

6

0.5 PK

1539

Ignition 1 Voltage

Electronic Power Steering (EPS) Control Module X3


Object Number: 823278  Size: CH

Connector Part Information

  • OEM: 7123-4123-30
  • Service: 88952816
  • Description: 2-Way F (BU)

Terminal Part Information

  • Terminal/Tray: See Terminal Repair Kit
  • Core/Insulation Crimp: See Terminal Repair Kit
  • Release Tool/Test Probe: See Terminal Repair Kit

Electronic Power Steering (EPS) Control Module X3

Pin

Wire

Circuit

Function

+

0.35 RD

5

Motor Control

-

0.35 BK

5

Motor Control

Engine Control Module (ECM) X1 (L61/LE5)


Object Number: 1590592  Size: CH

Connector Part Information

  • OEM: 15499466
  • Service: See Catalog
  • Description: 73-Way F MX 123 Series Sealed (BK)

Terminal Part Information

  • Pins: 73
  • Terminal/Tray: 7116-4151-02/9
  • Core/Insulation Crimp: C
  • Release Tool/Test Probe: 12094430/J-35616-4A (PU)
  • Pins: 1, 3-6, 13, 18, 21, 24, 25, 27, 30, 31, 34, 36, 37, 39, 41-44, 47, 49, 54-56, 58, 66-68
  • Terminal/Tray: 33467-0003/23
  • Core/Insulation Crimp: H/H
  • Release Tool/Test Probe: J-38125-213/J-35616-64B (L-BU)
  • Pins: 19, 20, 70
  • Terminal/Tray: 33467-0005/23
  • Core/Insulation Crimp: J/J
  • Release Tool/Test Probe: J-38125-213/J-35616-64B (L-BU)

Engine Control Module (ECM) X1 (L61/LE5)

Pin

Wire

Circuit

Function

1

0.35 D-BU

1161

APP Sensor 1 Signal

2

--

--

Not Used

3

0.35 BN

4

Accessory Voltage

4

--

--

Not Used

5

0.35 D-GN

335

Low Speed Cooling Fan Relay Control

6

0.35 D-GN/WH

465

Fuel Pump Relay Control

7-10

--

--

Not Used

11

0.35 OG/GN

7360

Low Reference (M86)

12

--

--

Not Used

13

0.35 YE

5991

Powertrain Relay Control

14-17

--

--

Not Used

18

0.35 L-BU

1162

APP Sensor 2 Signal

19

0.5 PK/BK

1039

Ignition 1 Voltage

20

0.5 RD/WH

840

Battery Positive Voltage

21

0.35 PU

1272

Low Reference

22-23

--

--

Not Used

24

0.35 TN

2759

Low Reference

25

0.35 OG/BK

380

A/C Refrigerant Pressure Sensor Signal (C67)

26

--

--

Not Used

27

0.35 BN/WH

419

MIL Control

28-29

--

--

Not Used

30

0.35 D-GN/WH

459

A/C Compressor Clutch Relay Control (C67)

31

--

--

Not Used

32

0.35 PU/WH

6386

Starter Control

33

--

--

Not Used

34

0.35 PU/WH

6356

VSS Signal Low

35-36

--

--

Not Used

37

0.35 YE

492

Mass Air Flow Sensor Signal

38

--

--

Not Used

39

0.35 PU

1589

Fuel Level Sensor Signal

40

--

--

Not Used

41

0.35 BN

1271

Low Reference

42

0.35 D-GN

890

Fuel Tank Pressure Sensor Signal

43

0.35 TN/BK

2500

High Speed GMLAN Serial Data (+) (1)

44

0.35 TN

2501

High Speed GMLAN Serial Data (-) (1)

45

0.35 D-BU/WH

7361

5-Volt Reference 2 (M86)

46

--

--

Not Used

47

0.35 WH/BK

1164

5-Volt Reference 2

48

--

--

Not Used

49

0.35 D-BU

473

Coolant Fan Relay Output - Coil

50-53

--

--

Not Used

54

0.35 BN/WH

6354

VSS Signal High

55

0.35 L-BU

20

Stop Lamp Supply Voltage

56

0.35 D-GN

1433

PNP/Clutch Start Switch Signal (M86)

57

0.35 D-GN

--6307

Park/Neutral Signal

58

0.35 L-BU

6289

Induction Air Temperature Sensor Signal

59-60

--

--

Not Used

61

0.35 L-GN

6338

Clutch Pedal Position Sensor Signal (M86)

62-65

--

--

Not Used

66

0.35 GY

2709

5-Volt Reference 1

67

0.35 TN

1274

5-Volt Reference 1

68

0.35 BN

436

Air Injection Reaction Pump Motor Relay Output - Coil (NU6)

69

--

--

Not Used

70

0.5 WH

1310

EVAP Canister Vent Solenoid Control

71-72

--

--

Not Used

73

0.8 PK/BK

5290

Ignition 1 Voltage

Engine Control Module (ECM) X1 (LNF)


Object Number: 1544242  Size: CH

Connector Part Information

  • OEM: 15438366
  • Service: 88988373
  • Description: 96-Way Sealed (BK)

Terminal Part Information

  • Terminal/Tray: See Terminal Repair Kit
  • Core/Insulation Crimp: See Terminal Repair Kit
  • Release Tool/Test Probe: See Terminal Repair Kit

Engine Control Module (ECM) X1 (LNF)

Pin

Wire

Circuit

Function

1

0.35 L-GN

5282

Camshaft Phaser Exhaust Solenoid Control

2

0.5 PU

5284

Camshaft Phaser Intake Solenoid Control

3-4

--

--

Not Used

5

0.35 YE

7301

High Pressure Fuel Pump Actuator High Control

6

0.35 D-GN/WH

428

EVAP Canister Purge Solenoid Control

7

0.5 OG

5275

Camshaft Position Intake Sensor Signal

8-9

--

--

Not Used

10

0.35 OG

225

Generator Turn On Signal

11-12

--

--

Not Used

13

0.35 BN/WH

2130

Low Reference

14

--

--

Not Used

15

0.35 GY

705

5-Volt Reference 2

16

0.35 D-GN

6391

Turbo Bypass Valve Control

17

0.35 TN/BK

231

Oil Pressure Switch Signal

18

0.35 YE

258

Wastegate Solenoid Control

19-23

--

--

Not Used

24

0.5 YE

581

TAC Motor Control - 1

25

0.35 TN

891

Boost Gauge Signal

26

0.35 L-BU

4804

Direct Fuel Injector (DFI) High Voltage Control Cylinder 4

27

0.35 L-BU/WH

4904

Direct Fuel Injector (DFI) High Voltage Supply Cylinder 4

28

0.35 D-BU

4802

Direct Fuel Injector (DFI) High Voltage Control Cylinder 2

29

0.35 D-BU/WH

4902

Direct Fuel Injector (DFI) High Voltage Supply Cylinder 2

30

0.35 GY

23

Generator Field Duty Cycle Signal

31-33

--

--

Not Used

34

0.5 D-GN

5273

Camshaft Position Exhaust Sensor Signal

35

0.35 YE

573

CKP Sensor Signal

36

0.35 YE

2918

FRP Sensor Signal

37

0.5 L-GN

432

MAP Sensor Signal

38

0.35 GY

598

5-Volt Reference 1

39

0.35 GY

2701

5-Volt Reference 3

40

0.35 TN

407

Low Reference

41

0.35 TN

552

Low Reference

42

0.35 TN

808

Low Reference

43

0.35 GY

597

5-Volt Reference

44

0.35 TN

2761

Low Reference

45

0.35 L-GN

2867

5-Volt Reference 3

46

0.35 PU

574

Low Reference

47

--

--

Not Used

48

0.5 BN

582

TAC Motor Control 2

49-50

--

--

Not Used

51

0.35 BN

4801

Direct Fuel Injector (DFI) High Voltage Control Cylinder 1

52

0.35 D-GN

4803

Direct Fuel Injector (DFI) High Voltage Control Cylinder 3

53

0.35 D-GN/WH

4903

Direct Fuel Injector (DFI) High Voltage Supply Cylinder 3

54

0.35 BN/WH

419

MIL Control

55

0.35 PU

2121

IC 1 Control

56

0.35 D-GN/WH

2124

IC 4 Control

57-58

--

--

Not Used

59

0.5 D-BU

496

KS 1 Signal

60

0.35 GY

2303

KS 2 Signal

61-63

--

--

Not Used

64

0.5 OG/BK

469

Low Reference

65

--

--

Not Used

66

0.35 PU

7330

Pre-Throttle Air Temp and Press (TMAP) Air Pressure Signal

67

0.5 TN/WH

3111

Heated Oxygen Sensor Low Signal Sensor 1

68

0.35 WH

5279

Heated Oxygen Sensor Pump Current Sensor 1

69-72

--

--

Not Used

73

0.35 PU

7300

High Pressure Fuel Pump Actuator Low Control

74

--

--

Not Used

75

0.35 BN/WH

4901

Direct Fuel Injector (DFI) High Voltage Supply Cylinder 1

76-77

--

--

Not Used

78

0.35 BN

2129

Low Reference

79

0.35 L-BU

2123

IC 3 Control

80

0.35 OG/WH

2122

IC 2 Control

81

--

--

Not Used

82

0.35 YE

410

ECT Sensor Signal

83

0.5 GY

1716

KS 1 Signal

84

0.35 L-BU

1876

KS 2 Signal

85

--

--

Not Used

86

0.35 L-BU

7329

Pre-Throttle Air Temp and Press (TMAP) Temperature Signal

87

--

--

Not Used

88

0.35 TN

2752

Low Reference

89

0.35 PU

486

TP Sensor 2 Signal

90

0.35 D-GN

485

TP Sensor 1 Signal

91

0.35 L-GN

5278

Heated Oxygen Sensor Input Pump Current Sensor 1

92

0.5 PU/WH

3110

Heated Oxygen Sensor High Signal Sensor 1

93-94

--

--

Not Used

95

0.5 GY

2704

5-Volt Reference 1

96

0.5 GY/WH

3113

HO2S Heater Low Control -- Sensor 1

Engine Control Module (ECM) X2 (L61)


Object Number: 1590596  Size: CH

Connector Part Information

  • OEM: 13577506
  • Service: See Catalog
  • Description: 73-Way F MX 123 Series Sealed (GY)

Terminal Part Information

  • Pins: 73
  • Terminal/Tray: See Terminal Repair Kit
  • Core/Insulation Crimp: See Terminal Repair Kit
  • Release Tool/Test Probe: See Terminal Repair Kit
  • Pins: 5, 9, 13, 20, 22-24, 26, 30-31, 33, 35, 39, 41-43, 45-46, 49-51, 54, 58, 67
  • Terminal/Tray: 33467-0005/23
  • Core/Insulation Crimp: C
  • Release Tool/Test Probe: J-38125-213/J-35616-64B (L-BU)
  • Pins: 6-8, 10, 16, 32, 37-38, 40, 48, 53, 57, 59, 65-66, 68
  • Terminal/Tray: 33467-0003/23
  • Core/Insulation Crimp: C
  • Release Tool/Test Probe: J-38125-213/J-35616-64B (L-BU)

Engine Control Module (ECM) X2 (L61)

Pin

Wire

Circuit

Function

1

--

--

Not Used

2

0.35 BN/WH

6331

AIR Solenoid Signal (NU6)

3

0.5 PU

421

AIR Solenoid Relay Control (NU6)

4

0.35 TN

2761

Low Reference

5

0.5 PU

574

Low Reference

6

0.35 TN

1744

Fuel Injector (1) Control

7

0.35 PK/BK

1746

Fuel Injector (3) Control

8

0.35 L-BU/BK

844

Fuel Injector (4) Control

9

0.35 BN

2129

Low Reference

10

0.35 L-GN/BK

1745

Fuel Injector (2) Control

11-12

--

--

Not Used

13

0.35 GY/BK

2704

5-Volt Reference 1

14-15

--

--

Not Used

16

0.5 YE

581

TAC Motor Control (1)

17-19

--

--

Not Used

20

0.5 TN

5301

Low Reference

21

--

--

Not Used

22

0.35 PU

2121

Ignition Control (1)

23

0.35 L-BU

2123

Ignition Control (3)

24

0.35 D-GN/WH

2124

Ignition Control (4)

25

--

--

Not Used

26

0.35 OG/WH

2122

Ignition Control (2)

27-29

--

--

Not Used

30

0.35 D-GN/WH

428

EVAP Canister Purge Solenoid Control

31

0.35 OG

225

Generator Turn On Signal

32

0.5 BN

582

TAC Motor Control (2)

33

0.5 D-BU

5300

5-Volt Reference 1

34

--

--

Not Used

35

0.5 GY

6255

5-Volt Reference 1

36

--

--

Not Used

37

0.5 PU/WH

3110

Heated Oxygen Sensor High Signal Sensor 1

38

0.5 PU

3120

Heated Oxygen Sensor High Signal Sensor 2

39

0.5 L-GN

432

Manifold Absolute Pressure Sensor Signal

40

0.5 TN

2752

Low Reference

41

0.5 PU/WH

6256

Low Reference

42

0.35 TN

2760

Low Reference

43

0.35 GY/WH

23

Generator Field Duty Cycle Signal

44

--

--

Not Used

45

0.5 YE

573

Crankshaft Position Sensor Signal

46

0.5 OG

5275

CMP Sensor Signal

47

--

--

Not Used

48

0.5 TN/WH

3111

Heated Oxygen Sensor Low Signal Sensor 1

49

0.5 OG/BK

469

Low Reference

50

0.5 GY

1716

Knock Sensor Signal

51

0.5 D-BU

496

Knock Sensor Signal

52

--

--

Not Used

53

0.5 GY

2701

5-Volt Reference 2

54

0.5 L-GN

2867

5-Volt Reference 2

55

0.5 WH

6452

5-Volt Reference 1 (NU6)

56

--

--

Not Used

57

0.5 D-GN

485

Throttle Position Sensor (1) Signal

58

0.35 YE

410

Engine Coolant Temperature Sensor Signal

59

0.5 PU

486

Throttle Position Sensor (2) Signal

60-63

--

--

Not Used

64

0.35 TN

407

Low Reference (NU6)

65

0.5 GY/WH

3113

Heated Oxygen Sensor Heater Low Control Sensor 1

66

0.5 GY/WH

3122

Heated Oxygen Sensor Heater Low Control Sensor 2

67

0.35 TN/BK

231

Oil Pressure Switch Signal

68

0.5 TN/WH

3121

Heated Oxygen Sensor Low Signal Sensor 2

69-72

--

--

Not Used

73

2 BK/WH

451

Signal Ground

Engine Control Module (ECM) X2 (LE5)


Object Number: 1590596  Size: CH

Connector Part Information

  • OEM: 13610160
  • Service: See Catalog
  • Description: 73-Way F MX 123 Series Sealed (GY)

Terminal Part Information

  • Pins: 73
  • Terminal/Tray: See Terminal Repair Kit
  • Core/Insulation Crimp: See Terminal Repair Kit
  • Release Tool/Test Probe: See Terminal Repair Kit
  • Pins: 5, 9, 13, 20, 22-24, 26, 30-31, 33, 35, 39, 41-43, 45-46, 49-51, 54, 58, 67
  • Terminal/Tray: 33467-0005/23
  • Core/Insulation Crimp: C
  • Release Tool/Test Probe: J-38125-213/J-35616-64B (L-BU)
  • Pins: 6-8, 10, 16, 32, 37-38, 40, 48, 53, 57, 59, 65-66, 68
  • Terminal/Tray: 33467-0003/23
  • Core/Insulation Crimp: C
  • Release Tool/Test Probe: J-38125-213/J-35616-64B (L-BU)

Engine Control Module (ECM) X2 (LE5)

Pin

Wire

Circuit

Function

1

--

--

Not Used

2

0.35 BN/WH

6331

AIR Solenoid Signal (NU6)

3

0.5 PU

421

AIR Solenoid Relay Control (NU6)

4

0.35 TN

2761

Low Reference

5

0.5 PU

574

Low Reference

6

0.35 TN

1744

Fuel Injector (1) Control

7

0.35 PK/BK

1746

Fuel Injector (3) Control

8

0.35 L-BU/BK

844

Fuel Injector (4) Control

9

0.35 BN

2129

Low Reference

10

0.35 L-GN/BK

1745

Fuel Injector (2) Control

11-12

--

--

Not Used

13

0.35 GY

2704

5-Volt Reference 1 (M86)

0.35 PU/WH

5-Volt Reference 1 (MN5)

14

0.5 L-GN

5282

Camshaft Phaser Exhaust Solenoid 1

15

0.5 PU

5284

Cam Solenoid Control

16

0.5 YE

581

TAC Motor Control (1)

17-19

--

--

Not Used

20

0.5 TN

5301

Low Reference

21

0.5 GY

5296

Low Reference

22

0.35 PU

2121

Ignition Control (1)

23

0.35 L-BU

2123

Ignition Control (3)

24

0.35 D-GN/WH

2124

Ignition Control (4)

25

--

--

Not Used

26

0.35 OG/WH

2122

Ignition Control (2)

27-29

--

--

Not Used

30

0.35 D-GN/WH

428

EVAP Canister Purge Solenoid Control

31

0.35 OG

225

Generator Turn On Signal

32

0.5 BN

582

TAC Motor Control (2)

33

0.5 D-BU

5300

5-Volt Reference 1

34

0.5 YE/BK

5297

5-Volt Reference 1

35

0.5 GY

6255

5-Volt Reference (C67)

36

--

--

Not Used

37

0.5 PU/WH

3110

Heated Oxygen Sensor High Signal Sensor 1

38

0.5 PU

3120

Heated Oxygen Sensor High Signal Sensor 2

39

0.5 L-GN

432

Manifold Absolute Pressure Sensor Signal

40

0.5 TN

2752

Low Reference

41

0.5 PU/WH

6256

Low Reference (C67 with M86)

0.5 BK/WH

Low Reference (C67 with MN5)

42

0.35 TN

2760

Low Reference

43

0.35 GY/WH

23

Generator Field Duty Cycle Signal

44

--

--

Not Used

45

0.5 YE

573

Crankshaft Position Sensor Signal

46

0.5 OG

5275

CMP Sensor Signal 1

47

0.5 D-GN

5273

CMP Sensor Signal 2

48

0.5 TN/WH

3111

Heated Oxygen Sensor Low Signal Sensor 1

49

0.5 OG/BK

469

Low Reference

50

0.5 GY

1716

Knock Sensor Signal

51

0.5 D-BU

496

Knock Sensor Signal

52

--

--

Not Used

53

0.5 GY

2701

5-Volt Reference 2

54

0.5 L-GN

2867

5-Volt Reference 2

55-56

--

--

Not Used

57

0.5 D-GN

485

Throttle Position Sensor (1) Signal

58

0.35 YE

410

Engine Coolant Temperature Sensor Signal

59

0.5 PU

486

Throttle Position Sensor (2) Signal

60

0.5 BN

6753

CMP Actuator Solenoid Bank 1 -- Intake Low Reference

61

0.5 BN/WH

6754

CMP Actuator Solenoid Bank 1 -- Exhaust Low Reference

62-63

--

--

Not Used

64

0.35 TN

407

Low Reference (NU6)

65

0.5 GY/WH

3113

Heated Oxygen Sensor Heater Low Control Sensor 1

66

0.5 GY/WH

3122

Heated Oxygen Sensor Heater Low Control Sensor 2

67

0.35 TN/BK

231

Oil Pressure Switch Signal

68

0.5 TN/WH

3121

Heated Oxygen Sensor Low Signal Sensor 2

69-72

--

--

Not Used

73

2 BK/WH

451

Signal Ground

Engine Control Module (ECM) X2 (LNF)


Object Number: 1360604  Size: CH

Connector Part Information

  • OEM: 1 928 404 916
  • Service: See Catalog
  • Description: 58-Way (WH)

Terminal Part Information

  • Terminal/Tray: See Terminal Repair Kit
  • Core/Insulation Crimp: Terminal Repair Kit
  • Release Tool/Test Probe: Terminal Repair Kit

Engine Control Module (ECM) X2 (LNF)

Pin

Wire

Circuit

Function

1

0.8 BK/WH

451

Ground

2

0.8 BK/WH

451

Ground

3

0.8 PK/BK

5290

Ignition 1 Voltage

4

0.8 BK/WH

451

Ground

5

0.8 PK/BK

5290

Ignition 1 Voltage

6

0.8 PK/BK

5290

Ignition 1 Voltage

7

0.5 GY/WH

3122

Heated Oxygen Sensor Heater Low Control Sensor 2

8

--

--

Not Used

9

0.35 TN

2759

Low Reference

10

0.35 D-GN/WH

465

Fuel Pump Relay Control

11

0.35 TN

5514

A/C Refrigerant Pressure Sensor Low Reference (C67)

12

--

--

Not Used

13

0.35 YE

492

MAF Sensor Signal

14

0.35 GY

2709

5-Volt Reference 1

15

0.35 D-BU

1161

APP Sensor 1 Signal

16-18

--

--

Not Used

19

0.5 WH

1310

EVAP Canister Vent Solenoid Control

20-21

--

--

Not Used

22

0.35 TN

2760

Low Reference

23

0.5 TN/WH

3121

Heated Oxygen Sensor Low Signal Sensor 2

24

--

--

Not Used

25

0.35 L-BU

1162

APP Sensor 2 Signal

26

--

--

Not Used

27

0.35 D-GN

890

Fuel Tank Pressure Sensor Signal

28-33

--

--

Not Used

34

0.35 BN

1271

Low Reference

35

0.35 GY

2700

5-Volt Reference 3 (C67)

36

0.35 PU

1589

Fuel Level Sensor Signal

37

0.35 L-GN

6338

Clutch Pedal Position Sensor Signal

38

0.5 PU

3120

Heated Oxygen Sensor High Signal Sensor 2

39

0.35 OG/BK

380

A/C Refrigerant Pressure Sensor Signal (C67)

40

0.5 PU

401

OSS Low Signal

41

0.35 BN

4

Accessory Voltage

42

0.5 TN/BK

2500

High Speed GMLAN Serial Data Bus (+)

43

--

--

Not Used

44

0.35 D-GN/WH

459

A/C Compressor Clutch Relay Control (C67)

45

0.35 D-BU

473

High Speed Cooling Fan Relay Control

46

0.35 D-GN

335

Cooling Fan Relay Control

47

0.35 PU

1272

Low Reference

48

0.35 TN

1274

5-Volt Reference 3

49

0.35 WH/BK

1164

5-Volt Reference 2

50

0.35 L-BU

6289

Induction Air Temperature Sensor Signal

51

--

--

Not Used

52

0.8 L-BU

20

Stop Lamp Supply Voltage

53

0.5 YE

400

OSS High Signal

54

0.5 PK

1039

Ignition 1 Voltage

55

0.5 TN

2501

High Speed GMLAN Serial Data BUS (-)

56

0.5 RD/WH

840

Battery Positive Voltage

57

0.35 PU/WH

6386

Starter Relay Coil Control

58

0.35 YE

5991

Powertrain Relay Coil Control

Engine Coolant Temperature (ECT) Sensor (L61/LE5)


Object Number: 1538760  Size: CH

Connector Part Information

  • OEM: 15449028
  • Service: 88987993
  • Description: 2-Way F Global Terminal 150 Series Sealed (BK)

Terminal Part Information

  • Terminal/Tray: 15326267/19
  • Core/Insulation Crimp: E/4
  • Release Tool/Test Probe: 15315247/J-35616-2A (GY)

Engine Coolant Temperature (ECT) Sensor (L61/LE5)

Pin

Wire

Circuit

Function

A

0.5 TN

2761

Low Reference

B

0.5 YE

410

ECT Sensor Signal

Engine Coolant Temperature (ECT) Sensor (LNF)


Object Number: 1538760  Size: CH

Connector Part Information

  • OEM: 13584122
  • Service: 88987993
  • Description: 2-Way F Global Terminal 150 Series Sealed (BK)

Terminal Part Information

  • Terminal/Tray: 15326267/19
  • Core/Insulation Crimp: E/4
  • Release Tool/Test Probe: 15315247/J-35616-2A (GY)

Engine Coolant Temperature (ECT) Sensor (LNF)

Pin

Wire

Circuit

Function

A

0.5 TN

2761

Low Reference

B

0.5 YE

410

ECT Sensor Signal

Engine Oil Pressure (EOP) Switch


Object Number: 516595  Size: CH

Connector Part Information

  • OEM: 12065299
  • Service: 12085500
  • Description: 1-Way F Metri-Pack 150 Series Sealed (L-GY)

Terminal Part Information

  • Terminal/Tray: 12048074/2
  • Core/Insulation Crimp: E/1
  • Release Tool/Test Probe: 12094429/J-35616-2A (GY)

Engine Oil Pressure (EOP) Switch

Pin

Wire

Circuit

Function

A

0.35 TN/BK

231

Oil Pressure Switch Signal

Evaporative Emission (EVAP) Canister Purge Solenoid Valve


Object Number: 684795  Size: CH

Connector Part Information

  • OEM: 12052643
  • Service: 12101858
  • Description: 2-Way F Metri-Pack 150 Series Sealed (RD)

Terminal Part Information

  • Terminal/Tray: 12048074/2
  • Core/Insulation Crimp: E/1
  • Release Tool/Test Probe: 12094429/J-35616-2A (GY)

Evaporative Emission (EVAP) Canister Purge Solenoid Valve

Pin

Wire

Circuit

Function

A

0.5 PK/BK

5291

Ignition 1 Voltage (L61/LNF)

0.5 PK/WH

Ignition 1 Voltage (LE5)

B

0.5 D-GN/WH

428

EVAP Canister Purge Solenoid Control

Evaporative Emission (EVAP) Canister Vent Solenoid Valve


Object Number: 684795  Size: CH

Connector Part Information

  • OEM: 12052643
  • Service: 12101858
  • Description: 2-Way F Metri-Pack 150 Series Sealed (RD)

Terminal Part Information

  • Terminal/Tray: See Terminal Repair Kit
  • Core/Insulation Crimp: See Terminal Repair Kit
  • Release Tool/Test Probe: See Terminal Repair Kit

Evaporative Emission (EVAP) Canister Vent Solenoid Valve

Pin

Wire

Circuit

Function

A

0.5 RD/WH

1840

Battery Positive Voltage

B

0.5 WH

1310

EVAP Canister Vent Solenoid Control

Fog Lamp - Left Front (T37)


Object Number: 1413064  Size: CH

Connector Part Information

  • OEM: 12124819
  • Service: 12085498
  • Description: 2-Way F Metri-Pack 280 Series Sealed (BK)

Terminal Part Information

  • Terminal/Tray: 12077411/2
  • Core/Insulation Crimp: 2/5
  • Release Tool/Test Probe: 12094430/J-35616-4A (PU)

Fog Lamp - Left Front (T37)

Pin

Wire

Circuit

Function

A

0.5 PU

2234

Front Fog Lamp Supply Voltage

B

0.5 BK

150

Ground

Fog Lamp - Right Front (T37)


Object Number: 1413064  Size: CH

Connector Part Information

  • OEM: 12124819
  • Service: 12085498
  • Description: 2-Way F Metri-Pack 280 Series Sealed (BK)

Terminal Part Information

  • Terminal/Tray: 12077411/2
  • Core/Insulation Crimp: 2/5
  • Release Tool/Test Probe: 12094430/J-35616-4A (PU)

Fog Lamp - Right Front (T37)

Pin

Wire

Circuit

Function

A

0.5 PU

2234

Front Fog Lamp Supply Voltage

B

0.5 BK

250

Ground

Fog Lamp Switch (T37)


Object Number: 1283883  Size: CH

Connector Part Information

  • OEM: 15419483
  • Service: 89046742
  • Description: 4-Way F Metri-Pack 150 Series (BK)

Terminal Part Information

  • Terminal/Tray: 12064971/5
  • Core/Insulation Crimp: E/C
  • Release Tool/Test Probe: 12094429/J-35616-2A (GY)

Fog Lamp Switch (T37)

Pin

Wire

Circuit

Function

A

0.5 BK/WH

1051

Ground

B

--

--

Not Used

C

0.35 OG

192

Front Fog Lamp Switch Signal

D

0.35 GY

8

Instrument Panel Lamp Supply Voltage

Fuel Injector 1 (L61/LE5)


Object Number: 1721512  Size: CH

Connector Part Information

  • OEM: 12610756
  • Service: See Catalog
  • Description: 2-Way F Sealed (BK)

Terminal Part Information

  • Terminal/Tray: See Terminal Repair Kit
  • Core/Insulation Crimp: See Terminal Repair Kit
  • Release Tool/Test Probe: See Terminal Repair Kit

Fuel Injector 1 (L61/LE5)

Pin

Wire

Circuit

Function

1

0.5 PK

139

Ignition 1 Voltage

2

0.5 BK

1744

Fuel Injector (1) Control

Fuel Injector 1 (LNF)


Object Number: 784092  Size: CH

Connector Part Information

  • OEM: 1 928 403 874
  • Service: See Catalog
  • Description: 2-Way F Kompakt 2.8 Series Sealed (BK)

Terminal Part Information

  • Terminal/Tray: See Terminal Repair Kit
  • Core/Insulation Crimp: See Terminal Repair Kit
  • Release Tool/Test Probe: See Terminal Repair Kit

Fuel Injector 1 (LNF)

Pin

Wire

Circuit

Function

1

0.5 BN

4801

Direct Fuel Injector (DFI) High Voltage Control Cylinder 1

2

0.5 BN/WH

4901

Direct Fuel Injector (DFI) High Voltage Supply Cylinder 1

Fuel Injector 2 (L61/LE5)


Object Number: 1721512  Size: CH

Connector Part Information

  • OEM: 12610756
  • Service: See Catalog
  • Description: 2-Way F Sealed (BK)

Terminal Part Information

  • Terminal/Tray: See Terminal Repair Kit
  • Core/Insulation Crimp: See Terminal Repair Kit
  • Release Tool/Test Probe: See Terminal Repair Kit

Fuel Injector 2 (L61/LE5)

Pin

Wire

Circuit

Function

1

0.5 PK

139

Ignition 1 Voltage

2

0.5 L-GN/BK

1745

Fuel Injector (2) Control

Fuel Injector 2 (LNF)


Object Number: 784092  Size: CH

Connector Part Information

  • OEM: 1 928 403 874
  • Service: See Catalog
  • Description: 2-Way F Kompakt 2.8 Series Sealed (BK)

Terminal Part Information

  • Terminal/Tray: See Terminal Repair Kit
  • Core/Insulation Crimp: See Terminal Repair Kit
  • Release Tool/Test Probe: See Terminal Repair Kit

Fuel Injector 2 (LNF)

Pin

Wire

Circuit

Function

1

0.5 D-BU

4802

Direct Fuel Injector (DFI) High Voltage Control Cylinder 2

2

0.5 D-BU/WH

4902

Direct Fuel Injector (DFI) High Voltage Supply Cylinder 2

Fuel Injector 3 (L61/LE5)


Object Number: 1721512  Size: CH

Connector Part Information

  • OEM: 12610756
  • Service: See Catalog
  • Description: 2-Way F Sealed (BK)

Terminal Part Information

  • Terminal/Tray: See Terminal Repair Kit
  • Core/Insulation Crimp: See Terminal Repair Kit
  • Release Tool/Test Probe: See Terminal Repair Kit

Fuel Injector 3 (L61/LE5)

Pin

Wire

Circuit

Function

1

0.5 PK

139

Ignition 1 Voltage

2

0.5 PK/BK

1746

Fuel Injector (3) Control

Fuel Injector 3 (LNF)


Object Number: 784092  Size: CH

Connector Part Information

  • OEM: 1 928 403 874
  • Service: See Catalog
  • Description: 2-Way F Kompakt 2.8 Series Sealed (BK)

Terminal Part Information

  • Terminal/Tray: See Terminal Repair Kit
  • Core/Insulation Crimp: See Terminal Repair Kit
  • Release Tool/Test Probe: See Terminal Repair Kit

Fuel Injector 3 (LNF)

Pin

Wire

Circuit

Function

1

0.5 D-GN

4803

Direct Fuel Injector (DFI) High Voltage Control Cylinder 3

2

0.5 D-GN/WH

4903

Direct Fuel Injector (DFI) High Voltage Supply Cylinder 3

Fuel Injector 4 (L61/LE5)


Object Number: 1721512  Size: CH

Connector Part Information

  • OEM: 12610756
  • Service: See Catalog
  • Description: 2-Way F Sealed (BK)

Terminal Part Information

  • Terminal/Tray: See Terminal Repair Kit
  • Core/Insulation Crimp: See Terminal Repair Kit
  • Release Tool/Test Probe: See Terminal Repair Kit

Fuel Injector 4 (L61/LE5)

Pin

Wire

Circuit

Function

1

0.5 PK

139

Ignition 1 Voltage

2

0.5 L-BU/BK

844

Fuel Injector (4) Control

Fuel Injector 4 (LNF)


Object Number: 784092  Size: CH

Connector Part Information

  • OEM: 1 928 403 874
  • Service: See Catalog
  • Description: 2-Way F Kompakt 2.8 Series Sealed (BK)

Terminal Part Information

  • Terminal/Tray: See Terminal Repair Kit
  • Core/Insulation Crimp: See Terminal Repair Kit
  • Release Tool/Test Probe: See Terminal Repair Kit

Fuel Injector 4 (LNF)

Pin

Wire

Circuit

Function

1

0.5 L-BU

4804

Direct Fuel Injector (DFI) High Voltage Control Cylinder 4

2

0.5 L-BU/WH

4904

Direct Fuel Injector (DFI) High Voltage Supply Cylinder 4

Fuel Pump (FP) and Sender Assembly


Object Number: 684908  Size: CH

Connector Part Information

  • OEM: 15326631
  • Service: See Catalog
  • Description: 4-Way F APEX 2.8 MM (GY)

Terminal Part Information

  • Terminal/Tray: See Terminal Repair Kit
  • Core/Insulation Crimp: See Terminal Repair Kit
  • Release Tool/Test Probe: See Terminal Repair Kit

Fuel Pump (FP) and Sender Assembly

Pin

Wire

Circuit

Function

A

1 BK

850

Ground

B

1 GY

120

Fuel Pump Supply Voltage

C

0.8 PU

1589

Fuel Level Sensor Signal

D

0.5 OG/BK

510

Low Reference

Fuel Rail Pressure Sensor (FPS) (LNF)


Object Number: 1331443  Size: CH

Connector Part Information

  • OEM: 1 928 403 966
  • Service: See Catalog
  • Description: 3-Way F 2.8 Series Sealed (BK)

Terminal Part Information

  • Terminal/Tray: See Terminal Repair Kit
  • Core/Insulation Crimp: See Terminal Repair Kit
  • Release Tool/Test Probe: See Terminal Repair Kit

Fuel Rail Pressure Sensor (FPS) (LNF)

Pin

Wire

Circuit

Function

1

0.5 TN

808

Sensor Low Reference

2

0.5 YE

2918

Fuel Rail Pressure Sensor Signal

3

0.5 GY

598

5-Volt Reference 1

Fuel Tank Pressure (FTP) Sensor


Object Number: 1664596  Size: CH

Connector Part Information

  • OEM: 88908720
  • Service: See Catalog
  • Description: 3-Way F Metri-Pack 150 Series Sealed (BK)

Terminal Part Information

  • Terminal/Tray: See Terminal Repair Kit
  • Core/Insulation Crimp: See Terminal Repair Kit
  • Release Tool/Test Probe: See Terminal Repair Kit

Fuel Tank Pressure (FTP) Sensor

Pin

Wire

Circuit

Function

1

0.5 GY/RD

890

Fuel Tank Pressure Sensor Signal

2

0.5 BK/WH

2759

Low Reference

3

0.5 GY/BK

2709

5-Volt Reference - 1

Generator X1 (L61/LE5)


Object Number: 1522871  Size: CH

Connector Part Information

  • OEM: 12186308
  • Service: 89046837
  • Description: 2-Way F Timer JR-Power Sealed (BK)

Terminal Part Information

  • Terminal/Tray: 4-964286-1/16
  • Core/Insulation Crimp: E/1
  • Release Tool/Test Probe: 12093647/J-35616-4A (PU)

Generator X1 (L61/LE5)

Pin

Wire

Circuit

Function

1

0.35 OG

225

Generator Turn On Signal

2

0.35 GY

23

Generator Field Duty Cycle Signal

Generator X1 (LNF)


Object Number: 647991  Size: CH

Connector Part Information

  • OEM: 15355066
  • Service: 15306329
  • Description: 4-Way, 2 Usable, F Metri-Pack 150 Series Sealed (BG)

Terminal Part Information

  • Terminal/Tray: 12048074/2
  • Core/Insulation Crimp: E/1
  • Release Tool/Test Probe: 12094429/J-35616-2A (GY)

Generator X1 (LNF)

Pin

Wire

Circuit

Function

A

--

--

Not Available

B

0.35 OG

225

Generator Turn On Signal

C

0.35 GY

23

Generator Field Duty Cycle Signal

D

--

--

Not Available

Generator X2

Terminal Part Information

  • Terminal: 12146365
  • Core/Insulation Crimp: N/A
  • Description: Ring Terminal

Generator X2

Pin

Wire

Circuit

Function

--

13 BK

1

Battery Positive Voltage

Hazard Switch


Object Number: 39665  Size: CH

Connector Part Information

  • OEM: 12089248
  • Service: 12102900
  • Description: 4-Way F Metri-Pack 150 Series (NA)

Terminal Part Information

  • Terminal/Tray: 12064971/5
  • Core/Insulation Crimp: E/C
  • Release Tool/Test Probe: 12094429/J-35616-2A (GY)

Hazard Switch

Pin

Wire

Circuit

Function

A

0.35 BK/WH

651

Ground

B

0.35 GY

8

Instrument Panel Lamp Supply Voltage

C

--

--

Not Used

D

0.35 WH

111

Hazard Switch Signal

Headlamp High/Low Beam/DRL - Left


Object Number: 808663  Size: CH

Connector Part Information

  • OEM: 12048369
  • Service: 12117260
  • Description: 3-Way F Metri-Pack 280 Series Sealed (BU)

Terminal Part Information

  • Terminal/Tray: See Terminal Repair Kit
  • Core/Insulation Crimp: See Terminal Repair Kit
  • Release Tool/Test Probe: See Terminal Repair Kit

Headlamp High/Low Beam/DRL - Left

Pin

Wire

Circuit

Function

A

0.8 OG

712

Left Headlamp Low Beam Supply Voltage

B

0.8 BK

150

Ground

C

0.8 PK

711

Left Headlamp High Beam Supply Voltage

Headlamp High/Low Beam/DRL - Right


Object Number: 808663  Size: CH

Connector Part Information

  • OEM: 12048369
  • Service: 12117260
  • Description: 3-Way F Metri-Pack 280 Series Sealed (BU)

Terminal Part Information

  • Terminal/Tray: See Terminal Repair Kit
  • Core/Insulation Crimp: See Terminal Repair Kit
  • Release Tool/Test Probe: See Terminal Repair Kit

Headlamp High/Low Beam/DRL - Right

Pin

Wire

Circuit

Function

A

0.8 OG

312

Right Headlamp Low Beam Supply Voltage

B

0.8 BK

250

Ground

C

0.8 PK

311

Right Headlamp High Beam Supply Voltage

Heated Oxygen Sensor (HO2S) 1 (L61/LE5)


Object Number: 474210  Size: CH

Connector Part Information

  • OEM: 12176897
  • Service: 15305903
  • Description: 4-Way F Metri-Pack 150 Series Sealed (L-GY)

Terminal Part Information

  • Terminal/Tray: 12048074/2
  • Core/Insulation Crimp: E/1
  • Release Tool/Test Probe: 12094429/J-35616-2A (GY)

Heated Oxygen Sensor (HO2S) 1 (L61/LE5)

Pin

Wire

Circuit

Function

A

0.5 TN/WH

3111

HO2S Low Signal sensor 1

B

0.5 PU/WH

3110

HO2S High Signal Sensor 1

C

0.5 GY/WH

3113

HO2S Heater Low Control Sensor 1

D

0.5 PK/BK

5291

Ignition 1 Voltage

Heated Oxygen Sensor (HO2S) 1 (LNF)


Object Number: 1523693  Size: CH

Connector Part Information

  • OEM: 10863919
  • Service: See Catalog
  • Description: 6-Way F (BK)

Terminal Part Information

  • Terminal/Tray: See Terminal Repair Kit
  • Core/Insulation Crimp: See Terminal Repair Kit
  • Release Tool/Test Probe: See Terminal Repair Kit

Heated Oxygen Sensor (HO2S) 1 (LNF)

Pin

Wire

Circuit

Function

1

0.5 WH

5279

Heated Oxygen Sensor Pump Current - Sensor 1

2

0.5 TN/WH

3111

Heated Oxygen Sensor Low Signal - Sensor 1

3

0.5 GY/WH

3113

Heated Oxygen Sensor Heater Low Control - Sensor 1

4

0.5 PK/BK

5291

Ignition 1 Voltage

5

0.5 L-GN

5278

Heated Oxygen Sensor Input Pump Current - Sensor 1

6

0.5 PU/WH

3110

Heated Oxygen Sensor High Signal - Sensor 1

Heated Oxygen Sensor (HO2S) 2 (L61/LE5)


Object Number: 280761  Size: CH

Connector Part Information

  • OEM: 12160825
  • Service: 12167158
  • Description: 4-Way M Metri-Pack 150 Series Sealed (BK)

Terminal Part Information

  • Terminal/Tray: 12045773/2
  • Core/Insulation Crimp: E/1
  • Release Tool/Test Probe: 12094429/J-35616-3 (GY)

Heated Oxygen Sensor (HO2S) 2 (L61/LE5)

Pin

Wire

Circuit

Function

A

0.5 TN/WH

3121

HO2S Low Signal Sensor 2

B

0.5 PU

3120

HO2S High Signal Sensor 2

C

0.5 GY/WH

3122

HO2S Heater Low Control Sensor 2

D

0.5 PK/BK

5291

Ignition 1 Voltage

Heated Oxygen Sensor (HO2S) 2 (LNF)


Object Number: 806613  Size: CH

Connector Part Information

  • OEM: 15326423
  • Service: 12167158
  • Description: 4-Way M Metri-Pack 150 Series Sealed (BK)

Terminal Part Information

  • Terminal/Tray: 12045773/2
  • Core/Insulation Crimp: E/1
  • Release Tool/Test Probe: 12094429/J-35616-3 (GY)

Heated Oxygen Sensor (HO2S) 2 (LNF)

Pin

Wire

Circuit

Function

A

0.5 TN/WH

3121

HO2S Low Signal Sensor 2

B

0.5 PU

3120

HO2S High Signal Sensor 2

C

0.5 GY/WH

3122

HO2S Heater Low Control Sensor 2

D

0.5 PK/BK

5291

Ignition 1 Voltage

Heated Seat Element - Driver Back (KA1)


Object Number: 646421  Size: CH

Connector Part Information

  • OEM: 12059254
  • Service: 12126020
  • Description: 2-Way F Metri-Pack 150 Series (GN)

Terminal Part Information

  • Terminal/Tray: 12129484/19
  • Core/Insulation Crimp: E/C
  • Release Tool/Test Probe: 12094429/J-35616-2A (GY)

Heated Seat Element - Driver Back (KA1)

Pin

Wire

Circuit

Function

A

1 BK

1250

Ground

B

0.8 OG

2077

Heated Seat Cushion Element Supply Voltage

Heated Seat Element - Driver Cushion (KA1)


Object Number: 39661  Size: CH

Connector Part Information

  • OEM: 12047786
  • Service: 12085536
  • Description: 4-Way M Metri-Pack 150 Series (BK)

Terminal Part Information

  • Terminal/Tray: See Terminal Repair Kit
  • Core/Insulation Crimp: See Terminal Repair Kit
  • Release Tool/Test Probe: See Terminal Repair Kit

Heated Seat Element - Driver Cushion (KA1)

Pin

Wire

Circuit

Function

A

0.8 OG

2077

Heated Seat Element Supply

B

0.8 OG

2077

Heated Seat Element Supply

C

0.8 GY/BK

2080

Heated Seat Temperature Sensor Signal

D

1 BK

1250

Ground

Heated Seat Element - Passenger Back (KA1)


Object Number: 646421  Size: CH

Connector Part Information

  • OEM: 12059254
  • Service: 12126020
  • Description: 2-Way F Metri-Pack 150 Series (GN)

Terminal Part Information

  • Terminal/Tray: 12129484/19
  • Core/Insulation Crimp: E/C
  • Release Tool/Test Probe: 12094429/J-35616-2A (GY)

Heated Seat Element - Passenger Back (KA1)

Pin

Wire

Circuit

Function

A

1 BK

1250

Ground

B

0.8 OG

2077

Heated Seat Cushion Element Supply Voltage

Heated Seat Element - Passenger Cushion (KA1)


Object Number: 39661  Size: CH

Connector Part Information

  • OEM: 12047786
  • Service: 12085536
  • Description: 4-Way M Metri-Pack 150 Series (BK)

Terminal Part Information

  • Terminal/Tray: See Terminal Repair Kit
  • Core/Insulation Crimp: See Terminal Repair Kit
  • Release Tool/Test Probe: See Terminal Repair Kit

Heated Seat Element - Passenger Cushion (KA1)

Pin

Wire

Circuit

Function

A

0.8 OG

2077

Heated Seat Element Supply

B

0.8 OG

2077

Heated Seat Element Supply

C

0.8 GY

2080

Heated Seat Temperature Sensor Signal

D

1 BK

1250

Ground

Heated Seat Module - Driver (KA1)


Object Number: 813070  Size: CH

Connector Part Information

  • OEM: 15-97-5081
  • Service: 89046731
  • Description: 8-Way M (BK)

Terminal Part Information

  • Terminal/Tray: See Terminal Repair Kit
  • Core/Insulation Crimp: See Terminal Repair Kit
  • Release Tool/Test Probe: See Terminal Repair Kit

Heated Seat Module - Driver (KA1)

Pin

Wire

Circuit

Function

1-2

--

--

Not Used

3

0.5 PK

1501

Driver Heated Seat High/Low Signal

4

1 BK

1250

Ground

5

1 RD/WH

340

Battery Positive Voltage

6

0.8 GY

2080

Driver Heated Seat Cushion Temperature Sensor Low Reference

7

0.8 OG

2077

Heated Seat Cushion Element Supply Voltage

8

0.5 L-BU

1462

Heated Seat Switch Signal

Heated Seat Module - Passenger (KA1)


Object Number: 813070  Size: CH

Connector Part Information

  • OEM: 15-97-5081
  • Service: 89046731
  • Description: 8-Way M (BK)

Terminal Part Information

  • Terminal/Tray: See Terminal Repair Kit
  • Core/Insulation Crimp: See Terminal Repair Kit
  • Release Tool/Test Probe: See Terminal Repair Kit

Heated Seat Module - Passenger (KA1)

Pin

Wire

Circuit

Function

1-2

--

--

Not Used

3

0.35 PK

1503

Passenger Heated Seat High/Low Signal

4

1 BK

1250

Ground

5

1 RD/WH

340

Battery Positive Voltage

6

0.8 GY

2080

Passenger Heated Seat Cushion Temperature Sensor Low Reference

7

0.8 OG

2077

Heated Seat Cushion Element Supply Voltage

8

0.35 L-BU

1505

Heated Seat Switch Signal

Heated Seat Switch - Driver (KA1)


Object Number: 40446  Size: CH

Connector Part Information

  • OEM: 12177194
  • Service: 15305927
  • Description: 6-Way F Metri-Pack 150 Series (WH)

Terminal Part Information

  • Terminal/Tray: 12129484/19
  • Core/Insulation Crimp: E/C
  • Release Tool/Test Probe: 12094429/J-35616-2A (GY)

Heated Seat Switch - Driver (KA1)

Pin

Wire

Circuit

Function

A

0.35 PK

1501

Driver Heated Seat High/Low Signal

B

0.35 GY

8

Instrument Panel Lamp Supply Voltage

C

--

--

Not Used

D

0.35 PK

339

Ignition 1 Voltage

E

0.35 BK/WH

651

Ground

F

0.35 L-BU

1462

Heated Seat Switch Signal

Heated Seat Switch - Passenger (KA1)


Object Number: 304345  Size: CH

Connector Part Information

  • OEM: 12177195
  • Service: 15305931
  • Description: 6-Way F Metri-Pack 150 Series (BK)

Terminal Part Information

  • Terminal/Tray: 12129484/19
  • Core/Insulation Crimp: E/C
  • Release Tool/Test Probe: 12094429/J-35616-2A (GY)

Heated Seat Switch - Passenger (KA1)

Pin

Wire

Circuit

Function

A

0.35 PK/BK

1503

Passenger Heated Seat High/Low Signal

B

0.35 GY

8

Instrument Panel Lamp Supply Voltage

C

--

--

Not Used

D

0.35 PK

339

Ignition 1 Voltage

E

0.35 BK/WH

651

Ground

F

0.35 L-BU/BK

1505

Passenger Heated Seat Switch Signal

High Pressure Fuel Pump (LNF)


Object Number: 784092  Size: CH

Connector Part Information

  • OEM: 15339756
  • Service: See Catalog
  • Description: 2-Way F Kompakt 2.8 Series Sealed (BK)

Terminal Part Information

  • Terminal/Tray: See Terminal Repair Kit
  • Core/Insulation Crimp: See Terminal Repair Kit
  • Release Tool/Test Probe: See Terminal Repair Kit

High Pressure Fuel Pump (LNF)

Pin

Wire

Circuit

Function

1

0.35 PU

7300

High Pressure Fuel Pump Actuator Low Control

2

0.35 YE

7301

High Pressure Fuel Pump Actuator High Control

Hood Ajar Switch (AP3)


Object Number: 646415  Size: CH

Connector Part Information

  • OEM: 15326808
  • Service: See Catalog
  • Description: 3-Way F GT 150 Sealed (BK)

Terminal Part Information

  • Terminal/Tray: 12146447/3
  • Core/Insulation Crimp: E/C
  • Release Tool/Test Probe: 12031876-1/J-35616-6 (BN)

Hood Ajar Switch (AP3)

Pin

Wire

Circuit

Function

A

0.35 PK/BK

109

Hood Ajar Switch Signal

B

0.35 PU

5531

Hood Closed Switch Signal

C

0.35 BK

150

Ground

Horn


Object Number: 1527729  Size: CH

Connector Part Information

  • OEM: 15419715
  • Service: 88988313
  • Description: 2-Way F GT 150 Series Sealed (GY)

Terminal Part Information

  • Terminal/Tray: 12191819/8
  • Core/Insulation Crimp: E/A
  • Release Tool/Test Probe: 15315247/J-35616-2A (GY)

Horn

Pin

Wire

Circuit

Function

A

0.5 D-GN

29

Horn Control

B

0.5 BK

150

Ground

Horn Switch


Object Number: 35451  Size: CH

Connector Part Information

  • OEM: 12059251
  • Service: See Catalog
  • Description: 2-Way F Metri-Pack 150 Series (RD)

Terminal Part Information

  • Terminal/Tray: See Terminal Repair Kit
  • Core/Insulation Crimp: See Terminal Repair Kit
  • Release Tool/Test Probe: See Terminal Repair Kit

Horn Switch

Pin

Wire

Circuit

Function

1

0.35 BN

28

Horn Relay Control

2

0.35 BK/WH

151

Ground

0.35 BK/WH

151

Ground

HVAC Control Module X1


Object Number: 1454407  Size: CH

Connector Part Information

  • OEM: 15416970
  • Service: 15394150
  • Description: 16-Way F Micro-Pack 64 Modular (BK)

Terminal Part Information

  • Terminal/Tray: See Terminal Repair Kit
  • Core/Insulation Crimp: See Terminal Repair Kit
  • Release Tool/Test Probe: See Terminal Repair Kit

HVAC Control Module X1

Pin

Wire

Circuit

Function

1

0.35 L-GN

2275

Mode Door Position Signal

2-3

--

--

Not Used

4

0.35 L-BU/BK

1688

5-Volt Reference - 2

5

0.35 L-GN/BK

1647

Open Recirculation Door Control - B

6

0.35 PK/WH

1648

Close Recirculation Door Control - A

7

0.5 PK

339

Ignition 1 Voltage

8

0.5 PK

339

Ignition 1 Voltage

9

0.35 D-BU

1646

Auxiliary Air Temperature Door Position Signal

10

--

--

Not Used

11

0.35 D-GN

71

Off Blower Motor Control

12

0.35 L-BU/BK

1688

5-Volt Reference - 2

13

0.35 WH/BK

1236

Auxiliary Air Temperature Door Control

14

0.35 TN

2273

Mode Door Control

15

0.35 BK/WH

550

Ground

16

0.35 BK/WH

550

Ground

HVAC Control Module X2


Object Number: 1644506  Size: CH

Connector Part Information

  • OEM: 15480081
  • Service: 88988315
  • Description: 8-Way F Micro-Pack 64 (BK)

Terminal Part Information

  • Terminal/Tray: 15359541/4
  • Core/Insulation Crimp: M/M
  • Release Tool/Test Probe: 15381651-2/J-35616-64B (L-BU)

HVAC Control Module X2

Pin

Wire

Circuit

Function

A1

0.35 PK

339

Ignition 1 Voltage

A2

0.35 GY

8

Instrument Panel Lamp Supply Voltage

A3

--

--

Not Used

A4

0.35 RD/WH

1540

Battery Positive Voltage

A5

0.8 BK

550

Ground

A6

0.35 L-GN

66

A/C Request Signal (C67)

A7

0.35 WH

193

Rear Defog Relay Control

A8

0.35 L-BU

292

Rear Defog Switch Signal

HVAC Control Module X3


Object Number: 62469  Size: CH

Connector Part Information

  • OEM: 12064998
  • Service: 15306189
  • Description: 8-Way F Metri-Pack 280 Series (BK)

Terminal Part Information

  • Terminal/Tray: See Terminal Repair Kit
  • Core/Insulation Crimp: See Terminal Repair Kit
  • Release Tool/Test Probe: See Terminal Repair Kit

HVAC Control Module X3

Pin

Wire

Circuit

Function

A

0.35 D-GN

71

OFF Blower Motor Control

B

3 BK

550

Ground

C-D

--

--

Not Used

E

3 OG

52

Blower Motor High Control

F

2 L-BU

72

Medium 2 Blower Motor Control

G

2 TN

63

Blower Motor Medium  1 Control

H

2 YE

60

Blower Motor Low Control

Ignition Coil/Module 1


Object Number: 1653384  Size: CH

Connector Part Information

  • OEM: 15466325
  • Service: 88988338
  • Description: 4-Way F GT 150 Series Sealed (BK)

Terminal Part Information

  • Terminal/Tray: 7116-4102-08/9
  • Core/Insulation Crimp: E/1
  • Release Tool/Test Probe: 12094430/J-35616-2A (GY)

Ignition Coil/Module 1

Pin

Wire

Circuit

Function

A

0.8 BK

1350

Ground

B

0.35 BN

2129

Low Reference

C

0.35 PU

2121

Ignition Control (1)

D

0.5 PK/BK

5292

Ignition 1 Voltage

Ignition Coil/Module 2


Object Number: 1653384  Size: CH

Connector Part Information

  • OEM: 15466325
  • Service: 88988338
  • Description: 4-Way F GT 150 Series Sealed (BK)

Terminal Part Information

  • Terminal/Tray: 7116-4102-08/9
  • Core/Insulation Crimp: E/1
  • Release Tool/Test Probe: 12094430/J-35616-2A (GY)

Ignition Coil/Module 2

Pin

Wire

Circuit

Function

A

0.8 BK

1350

Ground

B

0.35 BN

2129

Low Reference (L61/LE5)

0.35 BN/WH

2130

Low Reference (LNF)

C

0.35 OG/WH

2122

Ignition Control (2)

D

0.5 PK/BK

5292

Ignition 1 Voltage

Ignition Coil/Module 3


Object Number: 1653384  Size: CH

Connector Part Information

  • OEM: 15466325
  • Service: 88988338
  • Description: 4-Way F GT 150 Series Sealed (BK)

Terminal Part Information

  • Terminal/Tray: 7116-4102-08/9
  • Core/Insulation Crimp: E/1
  • Release Tool/Test Probe: 12094430/J-35616-2A (GY)

Ignition Coil/Module 3

Pin

Wire

Circuit

Function

A

0.8 BK

1350

Ground

B

0.35 BN

2129

Low Reference

C

0.35 L-BU

2123

Ignition Control (3)

D

0.5 PK/BK

5292

Ignition 1 Voltage

Ignition Coil/Module 4


Object Number: 1653384  Size: CH

Connector Part Information

  • OEM: 15466325
  • Service: 88988338
  • Description: 4-Way F GT 150 Series Sealed (BK)

Terminal Part Information

  • Terminal/Tray: 7116-4102-08/9
  • Core/Insulation Crimp: E/1
  • Release Tool/Test Probe: 12094430/J-35616-2A (GY)

Ignition Coil/Module 4

Pin

Wire

Circuit

Function

A

0.8 BK

1350

Ground

B

0.35 BN

2129

Low Reference (LE5/L61)

0.35 BN/WH

2130

Low Reference (LNF)

C

0.35 D-GN/WH

2124

Ignition Control (4)

D

0.5 PK/BK

5292

Ignition 1 Voltage

Ignition Lock Cylinder Control Solenoid


Object Number: 280768  Size: CH

Connector Part Information

  • OEM: 12052832
  • Service: 12101825
  • Description: 2-Way F Metri-Pack 150 Series (BK)

Terminal Part Information

  • Terminal/Tray: 12064971/5
  • Core/Insulation Crimp: E/C
  • Release Tool/Test Probe: 12094429/J-35616-2A (GY)

Ignition Lock Cylinder Control Solenoid

Pin

Wire

Circuit

Function

A

0.5 D-GN/WH

1932

Shift Select Switch Park Signal

B

0.35 BN

4

Accessory Voltage

Ignition Switch


Object Number: 1376229  Size: CH

Connector Part Information

  • OEM: 15324806
  • Service: 88987854
  • Description: 6-Way F 035 Series ILAG5 (GN)

Terminal Part Information

  • Terminal/Tray: IL-AG5-C1-5000/20
  • Core/Insulation Crimp: K/K
  • Release Tool/Test Probe: J-38125-211/J-35616-64B (L-BU)

Ignition Switch

Pin

Wire

Circuit

Function

1

--

--

Not Used

2

0.35 RD/WH

1040

Battery Positive Voltage

3

0.35 YE

5199

Run/Crank Voltage

4

0.35 BN

4

Accessory Voltage

5

0.35 WH

1390

Off/Run/Crank Voltage

6

0.35 WH/BK

1073

Key-In Ignition Switch

Inflatable Restraint Front End Sensor


Object Number: 877918  Size: CH

Connector Part Information

  • OEM: 15356727
  • Service: 15306405
  • Description: 2-Way F GT 150 Series Sealed (YE)

Terminal Part Information

  • Terminal/Tray: Service with Pigtail
  • Core/Insulation Crimp: See Terminal Repair Kit
  • Release Tool/Test Probe: 15315247/J-35616-2A (GY)

Inflatable Restraint Front End Sensor

Pin

Wire

Circuit

Function

A

0.35 TN/OG

5045

Discriminating Sensor - Low Reference

B

0.35 YE

1834

Forward Discriminating Sensor Signal

Inflatable Restraint Front Passenger Presence System (PPS) Module


Object Number: 1550231  Size: CH

Connector Part Information

  • OEM: 15431682
  • Service: See Catalog
  • Description: 18-Way F Micro-Pack 100W Series Sealed (BK)

Terminal Part Information

  • Pins: 1, 2, 4, 6, 7, 9, 14-16, 18
  • Terminal/Tray: Service With Terminated Lead
  • Core/Insulation Crimp: See Terminal Repair Kit
  • Release Tool/Test Probe: 12122523/J-35616-6 (BN)
  • Pins: 5
  • Terminal/Tray: See Terminal Repair Kit
  • Core/Insulation Crimp: See Terminal Repair Kit
  • Release Tool/Test Probe: See Terminal Repair Kit

Inflatable Restraint Front Passenger Presence System (PPS) Module

Pin

Wire

Circuit

Function

1

0.35 TN/BK

723

Passenger Air Bag On Indicator Control

2

0.35 L-GN

353

Passenger Air Bag Off Indicator Control

3

--

--

Not Used

4

0.35 D-BU

913

Passenger Seat Belt Tension Sensor Signal

5

0.35 BK/WH

1251

Ground

6

0.35 PK/WH

916

Passenger Presence Sensor Signal

7

0.35 D-BU/WH

918

5-Volt Reference

8

--

--

Not Used

9

0.35 PK

1339

Ignition 1 Voltage

10-13

--

--

Not Used

14

0.35 YE

914

Low Reference

15

0.35 YE/WH

917

Low Reference

16

0.35 PK/BK

915

5-Volt Reference

17

--

--

Not Used

18

0.35 PU

5018

Occupant Sensor Serial Data

Inflatable Restraint Front Passenger Presence System (PPS) Sensor


Object Number: 1424764  Size: CH

Connector Part Information

  • OEM: 15422250
  • Service: 88987995
  • Description: 3-Way F GT 150 Series Sealed (D-GY)

Terminal Part Information

  • Terminal/Tray: Service with Pigtail
  • Core/Insulation Crimp: N/A
  • Release Tool/Test Probe: 15315247/J-35616-2A (GY)

Inflatable Restraint Front Passenger Presence System (PPS) Sensor

Pin

Wire

Circuit

Function

A

0.35 D-BU/WH

918

5-Volt Reference

B

0.35 PK/WH

916

Passenger Presence Sensor Signal

C

0.35 YE/WH

917

Low Reference

Inflatable Restraint Instrument Panel (I/P) Module X1


Object Number: 966373  Size: CH

Connector Part Information

  • OEM: 699467-7
  • Service: See Catalog
  • Description: 2-Way F 90 Degree Lockable (GY) With (YE) Case

Terminal Part Information

  • Terminal/Tray: Service with Pigtail
  • Core/Insulation Crimp: N/A
  • Release Tool/Test Probe: See Terminal Repair Kit

Inflatable Restraint Instrument Panel (I/P) Module X1

Pin

Wire

Circuit

Function

A

0.5 YE

3025

I/P Module Stage 1 High Control

B

0.5 OG

3024

I/P Module Stage 1 Low Control

Inflatable Restraint Instrument Panel (I/P) Module X2


Object Number: 966373  Size: CH

Connector Part Information

  • OEM: 699467-7
  • Service: See Catalog
  • Description: 2-Way F 90 Degree Lockable (GY) With (YE) Case

Terminal Part Information

  • Terminal/Tray: Service with Pigtail
  • Core/Insulation Crimp: N/A
  • Release Tool/Test Probe: See Terminal Repair Kit

Inflatable Restraint Instrument Panel (I/P) Module X2

Pin

Wire

Circuit

Function

A

0.5 PU

3026

I/P Module Stage 2 Low Control

B

0.5 GY

3027

I/P Module Stage 2 High Control

Inflatable Restraint Passenger Air Bag On/Off Indicator


Object Number: 1538776  Size: CH

Connector Part Information

  • OEM: 15398877
  • Service: 88953369
  • Description: 5-Way F (WH)

Terminal Part Information

  • Terminal/Tray: See Terminal Repair Kit
  • Core/Insulation Crimp: See Terminal Repair Kit
  • Release Tool/Test Probe: See Terminal Repair Kit

Inflatable Restraint Passenger Air Bag On/Off Indicator

Pin

Wire

Circuit

Function

1

0.35 TN/BK

723

Passenger Air Bag On Indicator Control

2

0.5 BK

550

Ground

3

0.35 PK

353

Passenger Air Bag Off Indicator Control

4

0.5 PK

339

Ignition 1 Voltage

5

0.35 PU

5234

Passenger Seat Belt Indicator

Inflatable Restraint Passenger Seat Belt Tension Sensor


Object Number: 646415  Size: CH

Connector Part Information

  • OEM: 15326808
  • Service: See Note
  • Description: 3-Way F GT 150 Series Sealed (BK)

Terminal Part Information

  • Terminal/Tray: See Terminal Repair Kit
  • Core/Insulation Crimp: See Terminal Repair Kit
  • Release Tool/Test Probe: See Terminal Repair Kit

Inflatable Restraint Passenger Seat Belt Tension Sensor

Pin

Wire

Circuit

Function

A

0.35 PK

915

5-Volt Reference

B

0.35 YE

914

Low Reference

C

0.35 D-BU

913

Passenger Seat Belt Tension Sensor Signal

Inflatable Restraint Roof Rail Module - Left (ASF)


Object Number: 739646  Size: CH

Connector Part Information

  • OEM: CA-252-92-5-Q
  • Service: See Catalog
  • Description: 2-Way F (PU) With (YE) Case

Terminal Part Information

  • Terminal/Tray: Service with Pigtail
  • Core/Insulation Crimp: N/A
  • Release Tool/Test Probe: See Terminal Repair Kit

Inflatable Restraint Roof Rail Module - Left (ASF)

Pin

Wire

Circuit

Function

1

0.5 D-GN

5019

Roof Rail Module - Left - High Control

2

0.5 WH

5020

Roof Rail Module - Left - Low Control

Inflatable Restraint Roof Rail Module - Right (ASF)


Object Number: 739646  Size: CH

Connector Part Information

  • OEM: CA-252-92-5-Q
  • Service: See Catalog
  • Description: 2-Way F (PU) With (YE) Case

Terminal Part Information

  • Terminal/Tray: Service with Pigtail
  • Core/Insulation Crimp: N/A
  • Release Tool/Test Probe: See Terminal Repair Kit

Inflatable Restraint Roof Rail Module - Right (ASF)

Pin

Wire

Circuit

Function

1

0.5 D-GN

5021

Roof Rail Module - Right - High Control

2

0.5 WH

5022

Roof Rail Module - Right - Low Control

Inflatable Restraint Sensing and Diagnostic Module (SDM) (ASF)


Object Number: 1468532  Size: CH

Connector Part Information

  • OEM: 15488865
  • Service: 88988302
  • Description: 60-Way F Micro-Pack 64 Series (GY) With (YE) Case

Terminal Part Information

  • Terminal/Tray: Service with Terminated Lead
  • Core/Insulation Crimp: N/A
  • Release Tool/Test Probe: See Terminal Repair Kit

Inflatable Restraint Sensing and Diagnostic Module (SDM) (ASF)

Pin

Wire

Circuit

Function

1

0.35 RD/WH

1340

Battery Positive Voltage

2

0.35 D-GN

5060

Low Speed GMLAN Serial Data

3

0.35 PK

5057

Low Reference

4

0.35 TN/WH

238

Seat Belt Switch Left

5

--

--

Not Available

6

0.35 OG

1362

Passenger Seat Belt Switch Right

7

--

--

Not Available

8

0.5 PK

5020

Roof Rail Module - Left - Low Control

9

0.5 PU/WH

5019

Roof Rail Module - Left - High Control

10

0.5 YE/BK

5021

Roof Rail Module - Right - High Control

11

0.5 WH/BK

5022

Roof Rail Module - Right - Low Control

12

0.5 PU

3026

I/P Module Stage 2 Low Control

13

0.5 GY

3027

I/P Module Stage 2 High Control

14

0.5 TN

3021

Steering Wheel Module Stage 1 High Control

15

0.5 BN

3020

Steering Wheel Module Stage 1 Low Control

16

0.5 PK

3022

Steering Wheel Module Stage 2 Low Control

17

0.5 WH

3023

Steering Wheel Module Stage 2 High Control

18

0.5 YE

3025

I/P Module Stage 1 High Control

19

0.5 OG

3024

I/P Module Stage 1 Low Control

20-30

--

--

Not Available

31

0.8 BK/WH

351

Ground

32

--

--

Not Available

33

0.35 PK

1339

Ignition 1 Voltage

34-37

--

--

Not Available

38

0.35 YE

1834

Forward Discriminating Sensor Signal

39

0.35 TN/OG

5045

Discriminating Sensor Low Reference

40-45

--

--

Not Available

46

0.35 WH

2132

Side Impact Sensing Module - Left - Signal

47

0.35 YE

2131

Side Impact Sensing Module - Left - Voltage

48

0.35 TN

2133

Side Impact Sensing Module - Right - Voltage

49

0.35 D-GN

2134

Side Impact Sensing Module - Right - Signal

50-51

--

--

Not Available

52

0.5 L-GN

2116

Seat Belt Pretensioner - Right - High Control

53

0.5 OG

2117

Seat Belt Pretensioner - Right - Low Control

54-55

--

--

Not Available

56

0.5 TN/WH

2118

Seat Belt Pretensioner - Left - High Control

57

0.5 OG/BK

2119

Seat Belt Pretensioner - Left - Low Control

58-59

--

--

Not Available

60

0.35 PK

5018

Occupant Sensor - Serial Data

Inflatable Restraint Sensing and Diagnostic Module (SDM) (without ASF)


Object Number: 1468532  Size: CH

Connector Part Information

  • OEM: 15456067
  • Service: 88987858
  • Description: 60-Way F Micro-Pack 64 Series (BU) With (YE) Case

Terminal Part Information

  • Terminal/Tray: Service with Terminated Lead
  • Core/Insulation Crimp: N/A
  • Release Tool/Test Probe: See Terminal Repair Kit

Inflatable Restraint Sensing and Diagnostic Module (SDM) (without ASF)

Pin

Wire

Circuit

Function

1

0.35 RD/WH

1340

Battery Positive Voltage

2

0.35 D-GN

5060

Low Speed GMLAN Serial Data

3

0.35 PK

5057

Seat Position Sensor - Low Reference

4

0.35 TN/WH

238

Seat Belt Switch - Left

5

--

--

Not Available

6

0.35 OG

1362

Seat Belt Switch - Right

7-11

--

--

Not Available

12

0.5 PU

3026

I/P Module Stage 2 Low Control

13

0.5 GY

3027

I/P Module Stage 2 High Control

14

0.5 TN

3021

Steering Wheel Module - Stage 1 - High Control

15

0.5 BN

3020

Steering Wheel Module Stage 1 Low Control

16

0.5 PK

3022

Steering Wheel Module Stage 2 Low Control

17

0.5 WH

3023

Steering Wheel Module Stage 2 High Control

18

0.5 YE

3025

I/P Module Stage 1 High Control

19

0.5 OG

3024

I/P Module Stage 1 Low Control

20-30

--

--

Not Available

31

0.8 BK/WH

351

Ground

32

--

--

Not Available

33

0.35 PK

1339

Ignition 1 Voltage

34-37

--

--

Not Available

38

0.35 YE

1834

Forward Discriminating Sensor Signal

39

0.35 TN/OG

5045

Discriminating Sensor - Low Reference

40-51

--

--

Not Available

52

0.5 L-GN

2116

Seat Belt Pretensioner - Right - High Control

53

0.5 OG

2117

Seat Belt Pretensioner - Right - Low Control

54-55

--

--

Not Available

56

0.5 TN/WH

2118

Seat Belt Pretensioner - Left - High Control

57

0.5 OG/BK

2119

Seat Belt Pretensioner - Left- Low Control

58-59

--

--

Not Available

60

0.35 PK

5018

Occupant Sensor Serial Data

Inflatable Restraint Side Impact Sensor (SIS) - Left (ASF)


Object Number: 1336240  Size: CH

Connector Part Information

  • OEM: 15356725
  • Service: 15306362
  • Description: 2-Way F GT 150 Series Sealed (YE)

Terminal Part Information

  • Terminal/Tray: Service with Pigtail
  • Core/Insulation Crimp: N/A
  • Release Tool/Test Probe: See Terminal Repair Kit

Inflatable Restraint Side Impact Sensor (SIS) - Left (ASF)

Pin

Wire

Circuit

Function

A

0.35 YE

2131

Side Impact Sensing Module - Left - Voltage

B

0.35 WH

2132

Side Impact Sensing Module - Left - Signal

Inflatable Restraint Side Impact Sensor (SIS) - Right (ASF)


Object Number: 1336240  Size: CH

Connector Part Information

  • OEM: 15356725
  • Service: 15306362
  • Description: 2-Way F GT 150 Series Sealed (YE)

Terminal Part Information

  • Terminal/Tray: Service with Pigtail
  • Core/Insulation Crimp: N/A
  • Release Tool/Test Probe: See Terminal Repair Kit

Inflatable Restraint Side Impact Sensor (SIS) - Right (ASF)

Pin

Wire

Circuit

Function

A

0.35 TN

2133

Side Impact Sensing Module - Right - Voltage

B

0.35 D-GN

2134

Side Impact Sensing Module - Right - Signal

Inflatable Restraint Steering Wheel Module X1


Object Number: 1841819  Size: CH

Connector Part Information

  • OEM: 54560236
  • Service: See Catalog
  • Description: 2-Way F ABX-4 Code B (WH)

Terminal Part Information

  • Terminal/Tray: Service with Pigtail
  • Core/Insulation Crimp: N/A
  • Release Tool/Test Probe: See Terminal Repair Kit

Inflatable Restraint Steering Wheel Module X1

Pin

Wire

Circuit

Function

1

0.5 TN

3021

Steering Wheel Module - Stage 1 - High Control

2

0.5 BN

3020

Steering Wheel Module - Stage 1 - Low Control

Inflatable Restraint Steering Wheel Module X2


Object Number: 1841821  Size: CH

Connector Part Information

  • OEM: 54560222
  • Service: See Catalog
  • Description: 2-Way F Type G (PK)

Terminal Part Information

  • Terminal/Tray: Service with Pigtail
  • Core/Insulation Crimp: N/A
  • Release Tool/Test Probe: See Terminal Repair Kit

Inflatable Restraint Steering Wheel Module X2

Pin

Wire

Circuit

Function

1

0.5 WH

3023

Steering Wheel Module - Stage 2 - High Control

2

0.5 PK

3022

Steering Wheel Module - Stage 2 - Low Control

Inflatable Restraint Steering Wheel Module Coil X1


Object Number: 845610  Size: CH

Connector Part Information

  • OEM: 15393433
  • Service: 22710638
  • Description: 10-Way F Micro-Pack 064 (BK)

Terminal Part Information

  • Pins: C, F, K
  • Terminal/Tray: Service with Terminated Lead
  • Core/Insulation Crimp: N/A
  • Release Tool/Test Probe: See Terminal Repair Kit
  • Pins: D, E, G, J
  • Terminal/Tray: Service with Terminated Lead
  • Core/Insulation Crimp: N/A
  • Release Tool/Test Probe: 12180559-1/J-35616-64B (L-BU)

Inflatable Restraint Steering Wheel Module Coil X1

Pin

Wire

Circuit

Function

A-B

--

--

Not Used

C

0.5 PK

339

Ignition 1 Voltage

D

0.35 GY

1884

Cruise Control Switch Signal (K34)

E

0.35 D-BU

1796

Remote Radio Control Signal (UK3)

F

0.35 WH/BK

644

12-Volt Reference (UK3)

G

0.35 GY

8

Instrument Panel Lamp Supply Voltage

H

0.35 D-GN/WH

1358

Driver Information Center Switch Signal

J

0.35 TN

28

Horn Relay Control

K

0.35 BK/WH

151

Ground

Inflatable Restraint Steering Wheel Module Coil X2


Object Number: 845610  Size: CH

Connector Part Information

  • OEM: 15393433
  • Service: 22710638
  • Description: 10-Way F Micro-Pack 064 (BK)

Terminal Part Information

  • Terminal/Tray: Service with Terminated Lead
  • Core/Insulation Crimp: N/A
  • Release Tool/Test Probe: 12180559-1/J-35616-64B (L-BU)

Inflatable Restraint Steering Wheel Module Coil X2

Pin

Wire

Circuit

Function

A-B

--

--

Not Used

C

0.35 PK

1539

Ignition 1 Voltage (K34)

D

0.35 GY

1884

Cruise Control Switch Signal (K34)

E

0.35 D-BU

1796

Steering Wheel Controls Signal (UK3)

F

0.35 WH/BK

644

12-Volt Reference (UK3)

G

0.35 GY

8

Instrument Panel Lamp Supply Voltage

H

0.35 D-GN/WH

1358

Driver Information Center Switch Signal

J

0.35 TN

28

Horn Relay Control

K

0.5 BK/WH

1051

Ground

Inflatable Restraint Steering Wheel Module Coil X3


Object Number: 1399226  Size: CH

Connector Part Information

  • OEM: 15393421
  • Service: 88987853
  • Description: 4-Way F Micro-Pack 064 (YE)

Terminal Part Information

  • Terminal/Tray: Service with Pigtail
  • Core/Insulation Crimp: N/A
  • Release Tool/Test Probe: See Terminal Repair Kit

Inflatable Restraint Steering Wheel Module Coil X3

Pin

Wire

Circuit

Function

1

0.5 BN

3020

Steering Wheel Module Stage 2 Low Control

2

0.5 TN

3021

Steering Wheel Module Stage 2 High Control

3

0.5 PK

3022

Steering Wheel Module Stage 1 Low Control

4

0.5 WH

3023

Steering Wheel Module Stage 1 High Control

INLINE Fuse - 50 AMP


Object Number: 350882  Size: CH

Connector Part Information

  • OEM: 12110057
  • Service: 12110057
  • Description: 2-Way F Maxi (BK)

Terminal Part Information

  • Terminal/Tray: 12110127/19
  • Core/Insulation Crimp: F/G
  • Release Tool/Test Probe: 12150860/J-35616-44 (YE)

INLINE Fuse - 50 AMP

Pin

Wire

Circuit

Function

A

5 RD/BK

142

Battery Positive Voltage

B

5 RD

1

Unfused Battery Positive Voltage

Inside Rearview Mirror (UE1)


Object Number: 1471689  Size: CH

Connector Part Information

  • OEM: 15441350
  • Service: 15306351
  • Description: 16-Way F Micro HVT (BK)

Terminal Part Information

  • Pins: 1, 6, 8, 9, 11-15
  • Terminal/Tray: 15445905/23
  • Core/Insulation Crimp: Pins 1, 6, 8, 9, 11, 12, 14, 15: J/J
  • Core/Insulation Crimp: Pins 13: K/K
  • Release Tool/Test Probe: 12180559/J-35616-6 (BN)

Inside Rearview Mirror (UE1)

Pin

Wire

Circuit

Function

1

0.5 GY

157

Courtesy Lamp Control (CF5)

2-5

--

--

Not Used

6

0.5 D-BU/WH

149

Courtesy Lamp Supply Voltage (CF5)

7

--

--

Not Used

8

0.5 BK

750

Ground

9-10

--

--

Not Used

11

0.35 D-GN/WH

2514

Keypad Signal

12

0.35 L-GN/BK

2515

Keypad Supply Voltage

13

--

--

Not Used

14

0.35 YE/BK

2516

Keypad Green LED Signal

15

0.35 BN/WH

2517

Keypad Red LED Signal

16

--

--

Not Used

Inside Rearview Mirror (without UE1)


Object Number: 153632  Size: CH

Connector Part Information

  • OEM: 12124782
  • Service: 15306078
  • Description: 7-Way F Misc (BK)

Terminal Part Information

  • Terminal/Tray: SVH-21T-P1.1/20
  • Core/Insulation Crimp: E/2
  • Release Tool/Test Probe: 12094429/J-35616-18 (BK)

Inside Rearview Mirror (without UE1)

Pin

Wire

Circuit

Function

1

--

--

Not Used

2

0.5 BK

750

Ground

3-5

--

--

Not Used

6

0.5 GY

157

Courtesy Lamp Control

7

0.5 D-BU/WH

149

Courtesy Lamp Supply Voltage

Instrument Panel Cluster (IPC)


Object Number: 1454404  Size: CH

Connector Part Information

  • OEM: 15429805
  • Service: 89047195
  • Description: 16-Way F Micro 64 (GY)

Terminal Part Information

  • Terminal/Tray: 15359541/4
  • Core/Insulation Crimp: M/M
  • Release Tool/Test Probe: 15381651-2/J-35616-64B (L-BU)

Instrument Panel Cluster (IPC)

Pin

Wire

Circuit

Function

1-4

--

--

Not Used

5

0.35 D-GN/WH

1358

DIC Switch Signal

6

0.35 BN/WH

419

MIL Control

7

--

--

Not Used

8

0.35 GY

8

Instrument Panel Lamp Supply Voltage

9

0.35 D-GN

5060

Low Speed GMLAN Serial Data

10

--

--

Not Used

11

0.5 PK

339

Ignition 1 Voltage

12

--

--

Not Used

13

0.5 RD/WH

1440

Battery Positive Voltage

14

0.35 D-GN

264

Security Indicator Supply Voltage

15

0.5 BK/WH

1051

Ground

16

0.8 BK

550

Ground

Intake Air Pressure and Temperature Sensor (LNF)


Object Number: 647979  Size: CH

Connector Part Information

  • OEM: 15336035
  • Service: See Catalog
  • Description: 4-Way F Metri-Pack 150 Series Sealed (BK)

Terminal Part Information

  • Terminal/Tray: See Terminal Repair Kit
  • Core/Insulation Crimp: See Terminal Repair Kit
  • Release Tool/Test Probe: See Terminal Repair Kit

Intake Air Pressure and Temperature Sensor (LNF)

Pin

Wire

Circuit

Function

1

0.35 GY

597

5-Volt Reference

2

0.35 L-BU

7329

Pre-Throttle Air Temp and Press (TMAP) Temperature Signal

3

0.35 TN

407

Low Reference

4

0.35 PU

7330

Pre-Throttle Air Temp and Press (TMAP) Air Pressure Signal

I/P Dimmer Switch


Object Number: 646420  Size: CH

Connector Part Information

  • OEM: 15332135
  • Service: 15306414
  • Description: 4-Way F GT 150 Series (BK)

Terminal Part Information

  • Terminal/Tray: 12191812/19
  • Core/Insulation Crimp: E/C
  • Release Tool/Test Probe: 15315247/J-35616-2A (GY)

I/P Dimmer Switch

Pin

Wire

Circuit

Function

A-B

--

--

Not Used

C

0.35 PU

719

Low Reference

D

0.35 D-GN

44

Instrument Panel Lamp Dimmer Switch Signal

Knock Sensor (KS)


Object Number: 684799  Size: CH

Connector Part Information

  • OEM: 12077900
  • Service: 12116247
  • Description: 2-Way F Metri-Pack 280 Series Sealed (BK)

Terminal Part Information

  • Terminal/Tray: 12077411/2
  • Core/Insulation Crimp: 2/5
  • Release Tool/Test Probe: 12094430/J-35616-4A (PU)

Knock Sensor (KS)

Pin

Wire

Circuit

Function

A

0.5 D-BU

496

Knock Sensor (1) Signal

B

0.5 GY

1716

Knock Sensor Signal

Knock Sensor (KS) 2 (LNF)


Object Number: 684799  Size: CH

Connector Part Information

  • OEM: 12077900
  • Service: See Catalog
  • Description: 2-Way F Metri-Pack 280 Series Sealed (BK)

Terminal Part Information

  • Terminal/Tray: See Terminal Repair Kit
  • Core/Insulation Crimp: See Terminal Repair Kit
  • Release Tool/Test Probe: See Terminal Repair Kit

Knock Sensor (KS) 2 (LNF)

Pin

Wire

Circuit

Function

A

0.35 L-BU

1876

KS 2 Signal

B

0.35 GY

2303

KS 2 Signal

License Lamp


Object Number: 877923  Size: CH

Connector Part Information

  • OEM: 12052641
  • Service: 12102747
  • Description: 2-Way F Metri-Pack 150 Series Sealed (BK)

Terminal Part Information

  • Terminal/Tray: 12048074/2
  • Core/Insulation Crimp: E/1
  • Release Tool/Test Probe: 12094429/J-35616-2A (GY)

License Lamp

Pin

Wire

Circuit

Function

A

0.5 BN

9

Park Lamp Supply Voltage

B

0.8 BK

750

Ground (Cobalt)

0.5 BK

750

Ground (G5)

Manifold Absolute Pressure (MAP) Sensor (L61/LE5)


Object Number: 1331443  Size: CH

Connector Part Information

  • OEM: 15365614
  • Service: 88987997
  • Description: 3-Way F Metri-Pack 150 Series Sealed (BK)

Terminal Part Information

  • Terminal/Tray: 12048074/2
  • Core/Insulation Crimp: E/1
  • Release Tool/Test Probe: 12094429/J-35616-2A (GY)

Manifold Absolute Pressure (MAP) Sensor (L61/LE5)

Pin

Wire

Circuit

Function

1

0.5 GY

2704

5-Volt Reference - 2

2

0.5 OG/BK

469

Low Reference

3

0.5 L-GN

432

MAP Sensor Signal

Manifold Absolute Pressure (MAP) Sensor (LNF)


Object Number: 1826292  Size: CH

Connector Part Information

  • OEM: 15398808
  • Service: 88987997
  • Description: 3-Way F Metri-Pack 150 Series Sealed (BK)

Terminal Part Information

  • Terminal/Tray: 12048074/2
  • Core/Insulation Crimp: E/1
  • Release Tool/Test Probe: 12094429/J-35616-2A (GY)

Manifold Absolute Pressure (MAP) Sensor (LNF)

Pin

Wire

Circuit

Function

1

0.5 GY

2704

5-Volt Reference - 2

2

0.5 OG/BK

469

Low Reference

3

0.5 L-GN

432

MAP Sensor Signal

Marker Lamp - Left Front


Object Number: 877923  Size: CH

Connector Part Information

  • OEM: 16530675
  • Service: See Catalog
  • Description: 2-Way F Sealed (BK)

Terminal Part Information

  • Terminal/Tray: See Terminal Repair Kit
  • Core/Insulation Crimp: See Terminal Repair Kit
  • Release Tool/Test Probe: See Terminal Repair Kit

Marker Lamp - Left Front

Pin

Wire

Circuit

Function

A

0.5 BN

9

Park Lamp Supply Voltage

B

0.5 BK

150

Ground

0.5 BK

150

Ground

Marker Lamp - Left Rear (Coupe)


Object Number: 1814569  Size: CH

Connector Part Information

  • OEM: 15491912
  • Service: 88988366
  • Description: 2-Way F Metri-Pack 150 Series Sealed (BK)

Terminal Part Information

  • Terminal/Tray: 12048074/2
  • Core/Insulation Crimp: E/1
  • Release Tool/Test Probe: 12094429/J-35616-2A (GY)

Marker Lamp - Left Rear (Coupe)

Pin

Wire

Circuit

Function

1

0.5 BN

9

Park Lamp Supply Voltage

2

0.5 BK

750

Ground

Marker Lamp - Left Rear (Sedan)


Object Number: 877923  Size: CH

Connector Part Information

  • OEM: 12052641
  • Service: 12102747
  • Description: 2-Way F Metri-Pack 150 Series Sealed (GY)

Terminal Part Information

  • Terminal/Tray: 12048074/2
  • Core/Insulation Crimp: E/1
  • Release Tool/Test Probe: 12094429/J-35616-2A (GY)

Marker Lamp - Left Rear (Sedan)

Pin

Wire

Circuit

Function

A

0.5 BN

9

Park Lamp Supply Voltage

B

0.5 BK

750

Ground

Marker Lamp - Right Front


Object Number: 877923  Size: CH

Connector Part Information

  • OEM: 16530675
  • Service: See Catalog
  • Description: 2-Way F Sealed (BK)

Terminal Part Information

  • Terminal/Tray: See Terminal Repair Kit
  • Core/Insulation Crimp: See Terminal Repair Kit
  • Release Tool/Test Probe: See Terminal Repair Kit

Marker Lamp - Right Front

Pin

Wire

Circuit

Function

A

0.5 BN

9

Park Lamp Supply Voltage

B

0.5 BK

250

Ground

0.5 BK

250

Ground

Marker Lamp - Right Rear (Coupe)


Object Number: 1814569  Size: CH

Connector Part Information

  • OEM: 15491912
  • Service: 88988366
  • Description: 2-Way F Metri-Pack 150 Series Sealed (BK)

Terminal Part Information

  • Terminal/Tray: 12048074/2
  • Core/Insulation Crimp: E/1
  • Release Tool/Test Probe: 12094429/J-35616-2A (GY)

Marker Lamp - Right Rear (Coupe)

Pin

Wire

Circuit

Function

1

0.5 BN

9

Park Lamp Supply Voltage

2

0.5 BK

850

Ground

Marker Lamp - Right Rear (Sedan)


Object Number: 877923  Size: CH

Connector Part Information

  • OEM: 12052641
  • Service: 12102747
  • Description: 2-Way F Metri-Pack 150 Series Sealed (GY)

Terminal Part Information

  • Pins: A
  • Terminal/Tray: 12048074/2
  • Core/Insulation Crimp: E/1
  • Release Tool/Test Probe: 12094429/J-35616-2A (GY)
  • Pins: B
  • Terminal/Tray: See Terminal Repair Kit
  • Core/Insulation Crimp: See Terminal Repair Kit
  • Release Tool/Test Probe: See Terminal Repair Kit

Marker Lamp - Right Rear (Sedan)

Pin

Wire

Circuit

Function

A

0.5 BN

9

Park Lamp Supply Voltage

B

0.5 BK

850

Ground

Mass Air Flow (MAF)/Intake Air Temperature (IAT) Sensor


Object Number: 647974  Size: CH

Connector Part Information

  • OEM: 15326822
  • Service: 88987186
  • Description: 5-Way F Global Terminal 150 Series Sealed (BK)

Terminal Part Information

  • Terminal/Tray: 12191819/8
  • Core/Insulation Crimp: E/A
  • Release Tool/Test Probe: 15315247/J-35616-2A (GY)

Mass Air Flow (MAF)/Intake Air Temperature (IAT) Sensor

Pin

Wire

Circuit

Function

A

0.35 YE

492

MAF Sensor Signal

B

0.5 BK/WH

451

Ground

C

0.5 PK/BK

5291

Ignition 1 Voltage

D

0.35 TN

2760

Low Reference

E

0.35 L-BU

6289

IAT Sensor Signal

Mode Actuator


Object Number: 280764  Size: CH

Connector Part Information

  • OEM: 12064993
  • Service: 12102485
  • Description: 6-Way F Micro-Pack 100 Series (BK)

Terminal Part Information

  • Terminal/Tray: See Terminal Repair Kit
  • Core/Insulation Crimp: See Terminal Repair Kit
  • Release Tool/Test Probe: See Terminal Repair Kit

Mode Actuator

Pin

Wire

Circuit

Function

5

0.35 PK

339

Ignition 1 Voltage

6

0.35 TN

2273

Mode Door Control

7

0.35 BK/WH

550

Ground

8

--

--

Not Available

9

0.35 L-GN

2275

Mode Position Signal

10

0.35 L-BU/BK

1688

5-Volt Reference - 2

Outside Rearview Mirror - Driver (DG7)


Object Number: 39661  Size: CH

Connector Part Information

  • OEM: 15419810
  • Service: See Catalog
  • Description: 4-Way M Metri-Pack 150 Series (BK)

Terminal Part Information

  • Pins: See Terminal Repair Kit
  • Terminal/Tray: See Terminal Repair Kit
  • Release Tool/Test Probe: See Terminal Repair Kit

Outside Rearview Mirror - Driver (DG7)

Pin

Wire

Circuit

Function

A

0.35 WH/BK

81

Left Mirror Motor Right Control (Coupe)

0.35 WH

81

Left Mirror Motor Right Control (Sedan)

B

0.35 L-GN

89

Left Mirror Motor Down Control

C

0.35 YE

329

Left Mirror Motor Supply Voltage

D

--

--

Not Used

Outside Rearview Mirror - Passenger (DG7)


Object Number: 39661  Size: CH

Connector Part Information

  • OEM: 15419810
  • Service: See Catalog
  • Description: 4-Way M Metri-Pack 150 Series (BK)

Terminal Part Information

  • Pins: See Terminal Repair Kit
  • Terminal/Tray: See Terminal Repair Kit
  • Release Tool/Test Probe: See Terminal Repair Kit

Outside Rearview Mirror - Passenger (DG7)

Pin

Wire

Circuit

Function

A

0.35 PU/WH

889

Right Mirror Motor Down Control

B

0.35 OG/WH

881

Right Mirror Motor Right Control

C

0.35 WH

330

Right Mirror Motor Supply Voltage

D

--

--

Not Used

Outside Rearview Mirror Switch (DG7)


Object Number: 62464  Size: CH

Connector Part Information

  • OEM: 12064769
  • Service: See Catalog
  • Description: 10-Way F Metri-Pack 150 Series (BK)

Terminal Part Information

  • Pins: See Terminal Repair Kit
  • Terminal/Tray: See Terminal Repair Kit
  • Release Tool/Test Probe: See Terminal Repair Kit

Outside Rearview Mirror Switch (DG7)

Pin

Wire

Circuit

Function

A

--

--

Not Used

B

0.5 BK

1250

Ground

C

0.35 WH

330

Right Mirror Motor Supply Voltage (Coupe)

0.35 WH/BK

330

Right Mirror Motor Supply Voltage (Sedan)

D

0.35 WH/BK

81

Left Mirror Motor Right Control (Coupe)

0.35 WH

81

Left Mirror Motor Right Control (Sedan)

E

0.35 GY

8

Instrument Panel Lamp Supply Voltage (1)

F

0.35 L-GN

89

Left Mirror Motor Down Control

G

0.35 RD/WH

440

Battery Positive Voltage

H

0.35 YE

329

Left Mirror Motor Supply Voltage

J

0.35 OG/WH

881

Right Mirror Motor Right Control

K

0.35 PU/WH

889

Right Mirror Motor Down Control

Park Brake Switch


Object Number: 439818  Size: CH

Connector Part Information

  • OEM: 12047682
  • Service: 12101850
  • Description: 1-Way F Metri-Pack 150 Series (BK)

Terminal Part Information

  • Terminal/Tray: 12064971/5
  • Core/Insulation Crimp: E/C
  • Release Tool/Test Probe: 12094429/J-35616-2A (GY)

Park Brake Switch

Pin

Wire

Circuit

Function

A

0.35 L-BU

1134

Park Brake Switch Signal

Park/Neutral Position (PNP) Switch (MN5/MXO)


Object Number: 1256394  Size: CH

Connector Part Information

  • OEM: 15416724
  • Service: 89046696
  • Description: 12-Way F GT 150, 280 Series Solid (L-GY)

Terminal Part Information

  • Terminal: See Terminal Repair Kit
  • Core/Insulation Crimp: See Terminal Repair Kit
  • Release Tool/Test Probe: See Terminal Repair Kit

Park/Neutral Position (PNP) Switch (MN5/MXO)

Pin

Wire

Circuit

Function

1

0.5 BK/WH

451

Ground

2

0.35 WH

776

Transmission Range Signal P

3

--

--

Not Used

4

0.5 L-GN

24

Backup Lamp Supply Voltage

5

0.5 PK/BK

539

Ignition 1 Voltage

6-7

--

--

Not Used

8

0.35 YE

772

Transmission Range Signal B

9

0.35 TN/WH

771

Transmission Range Signal A

10

0.35 GY

773

Transmission Range Signal C

11

0.5 BK/WH

451

Ground

12

0.5 D-GN

6307

Park/Neutral Signal

Park/Turn Signal Lamp - Left Front


Object Number: 1717007  Size: CH

Connector Part Information

  • OEM: 0001340
  • Service: See Catalog
  • Description: 3-Way F CE-F22.2 Series Bulbsocket, Sealed (BK)

Terminal Part Information

  • Terminal/Tray: See Terminal Repair Kit
  • Core/Insulation Crimp: See Terminal Repair Kit
  • Release Tool/Test Probe: See Terminal Repair Kit

Park/Turn Signal Lamp - Left Front

Pin

Wire

Circuit

Function

A

0.8 L-BU

14

Left Turn Signal Lamp Supply Voltage

B

0.35 BN

9

Park Lamp Supply Voltage

0.35 BN

9

Park Lamp Supply Voltage

G

0.8 BK

150

Ground

0.8 BK

150

Ground

Park/Turn Signal Lamp - Right Front


Object Number: 1717007  Size: CH

Connector Part Information

  • OEM: 0001340
  • Service: See Catalog
  • Description: 3-Way F CE-F22.2 Series Bulbsocket, Sealed (BG)

Terminal Part Information

  • Terminal/Tray: See Terminal Repair Kit
  • Core/Insulation Crimp: See Terminal Repair Kit
  • Release Tool/Test Probe: See Terminal Repair Kit

Park/Turn Signal Lamp - Right Front

Pin

Wire

Circuit

Function

A

0.8 L-BU

15

Right Turn Signal Lamp Supply Voltage

B

0.35 BN

9

Park Lamp Supply Voltage

0.35 BN

9

Park Lamp Supply Voltage

G

0.8 BK

250

Ground

0.5 BK

250

Ground

Pressure Control (PC) Solenoid Valve (MN5/MXO)


Object Number: 1910666  Size: CH

Connector Part Information

  • OEM: 15466861
  • Service: Non-Serviceable
  • Description: 2-Way F Metri-Pack 150.2 Series P2S (GY)

Terminal Part Information

  • Terminal: Non-Serviceable
  • Core/Insulation Crimp: Non-Serviceable
  • Release Tool/Test Probe: Non-Serviceable

Pressure Control Solenoid Valve (MN5/MXO)

Pin

Wire

Circuit

Function

A

0.35 PU

1228

Pressure Control (PC) Solenoid Valve High Control

B

0.35 L-BU

1229

PC Solenoid Valve Low Control

PRNDL Lamp


Object Number: 810080  Size: CH

Connector Part Information

  • OEM: 12162083
  • Service: See Catalog
  • Description: 2-Way F Lamp Socket Bulb Base Type W-2 Axial (BK)

Terminal Part Information

  • Terminal/Tray: See Terminal Repair Kit
  • Core/Insulation Crimp: See Terminal Repair Kit
  • Release Tool/Test Probe: See Terminal Repair Kit

PRNDL Lamp

Pin

Wire

Circuit

Function

A

0.35 BK

1250

Ground

B

0.35 WH

8

Instrument Panel Lamp Supply Voltage

Radio X1


Object Number: 1673491  Size: CH

Connector Part Information

  • OEM: 15488568
  • Service: 12110206
  • Description: 14-Way F Micro-Pack 100 Series (BK)

Terminal Part Information

  • Pins: 1, 8
  • Terminal/Tray: 12146447/3
  • Core/Insulation Crimp: C
  • Release Tool/Test Probe: 12031876-1/J-35616-6 (BN)
  • Pins: 2, 4-7 , 9, 11
  • Terminal/Tray: 12146448/19
  • Core/Insulation Crimp: E/A
  • Release Tool/Test Probe: 12031876-1/J-35616-6 (BN)

Radio X1

Pin

Wire

Circuit

Function

1

1 RD/WH

1140

Battery Positive Voltage

2-3

--

--

Not Used

4

0.35 D-GN

117

Right Front Speaker Output (-) (UQ4)

0.35 L-GN

1948

Right Front Low Level Audio Signal (-) (UQ3)

5

0.35 L-GN

200

Right Front Speaker Output (+) (UQ4)

0.35 L-GN/WH

512

Right Front Low Level Audio Signal (+) (UQ3)

6

0.35 GY

118

Left Front Speaker Output (-) (UQ4)

0.35 D-GN

1947

Left Front Low Level Audio (-) (UQ3)

7

0.35 TN

201

Left Front Speaker Output (+) (UQ4)

0.35 TN

511

Left Front Low Level Audio Signal (UQ3)

8

1 BK/WH

1051

Ground

9

0.35 D-GN

5060

Low Speed GMLAN Serial Data

10

--

--

Not Used

11

0.35 D-BU

1796

Steering Wheel Controls Signal (UK3)

12-14

--

--

Not Used

Radio X2


Object Number: 1653409  Size: CH

Connector Part Information

  • OEM: 15491285
  • Service: 15305996
  • Description: 16-Way F Micro-Pack 100 Series (BK)

Terminal Part Information

  • Terminal/Tray: 12146447/3
  • Core/Insulation Crimp: E/C
  • Release Tool/Test Probe: 12031876-1/J-35616-6 (BN)

Radio X2

Pin

Wire

Circuit

Function

1

0.35 BN/WH

367

Left Audio Signal (+) (U2K)

2

0.35 D-GN/WH

368

Right Audio Signal (+) (U2K)

3

0.35 PK

314

Radio On Signal (UQ3)

4

0.35 D-BU

46

Right Rear Speaker Output (+) (UQ4)

0.35 D-BU

546

Right Rear Low Level Audio Signal (+) (UQ3)

5

0.35 L-BU

115

Right Rear Speaker Output (-) (UQ4)

0.35 TN

1946

Right Rear Low Level Audio Signal (-) (UQ3)

6

0.35 BN

199

Left Rear Speaker Output (+) (UQ4)

0.35 BN/WH

599

Left Rear Low Level Audio Signal (+) (UQ3)

7

0.35 YE

116

Left Rear Speaker Output (-) (UQ4)

0.35 BN

1999

Left Rear Low Level Audio Signal (-) (UQ3)

8

0.35 PK/BK

2062

Cellular Telephone Voice Signal (UE1)

9

0.35 TN/WH

372

Audio Common (U2K)

10-13

--

--

Not Used

14

0.35 WH/BK

644

10-Volt Reference (UK3)

15

0.35 L-GN

1011

Remote Radio Control Signal (UQ3)

16

0.35 OG/BK

2061

Cellular Telephone Voice Low Reference (UE1)

Rear Compartment Courtesy Lamp


Object Number: 82383  Size: CH

Connector Part Information

  • OEM: 12047662
  • Service: 12085535
  • Description: 2-Way F Metri-Pack 150 Series (BK)

Terminal Part Information

  • Terminal/Tray: See Terminal Repair Kit
  • Core/Insulation Crimp: See Terminal Repair Kit
  • Release Tool/Test Probe: See Terminal Repair Kit

Rear Compartment Courtesy Lamp

Pin

Wire

Circuit

Function

A

0.5 OG/BK

737

Rear Compartment Lamp Control

B

0.5 D-BU/WH

149

Courtesy Lamp Supply Voltage

Rear Compartment Lid Release Actuator


Object Number: 1542145  Size: CH

Connector Part Information

  • OEM: 15489043
  • Service: 88988309
  • Description: 4-Way F Timer Micro III Sealed (BK)

Terminal Part Information

  • Terminal/Tray: See Terminal Repair Kit
  • Core/Insulation Crimp: See Terminal Repair Kit
  • Release Tool/Test Probe: See Terminal Repair Kit

Rear Compartment Lid Release Actuator

Pin

Wire

Circuit

Function

1

--

--

Not Used

2

0.5 OG/BK

744

Rear Compartment Lid Ajar Switch Signal

3

0.5 BK

750

Ground

4

0.8 TN/WH

56

Rear Compartment Lid Release Switch

Rear Compartment Lid Release Switch


Object Number: 39665  Size: CH

Connector Part Information

  • OEM: 12089248
  • Service: 12102900
  • Description: 4-Way F Metri-Pack 150 Series (NA)

Terminal Part Information

  • Terminal/Tray: 12064971/5
  • Core/Insulation Crimp: E/C
  • Release Tool/Test Probe: 12094429/J-35616-2A (GY)

Rear Compartment Lid Release Switch

Pin

Wire

Circuit

Function

A

0.35 BK/WH

651

Ground

B

--

--

Not Used

C

0.35 TN

1576

Rear Compartment Lid Release Switch Signal

D

--

--

Not Used

Rear Window Defogger Grid X1


Object Number: 365953  Size: CH

Connector Part Information

  • OEM: 12092133
  • Service: 12167133
  • Description: 1-Way F Metri-Pack 630 Series (BK)

Terminal Part Information

  • Terminal/Tray: 12103325/3
  • Core/Insulation Crimp: A/B
  • Release Tool/Test Probe: 12094430/J-35616-42 (RD)

Rear Window Defogger Grid X1

Pin

Wire

Circuit

Function

A

3 BK

293

Rear Defog Element Supply Voltage

Rear Window Defogger Grid X2


Object Number: 365953  Size: CH

Connector Part Information

  • OEM: 12092133
  • Service: 12167133
  • Description: 1-Way F Metri-Pack 630 Series (BK)

Terminal Part Information

  • Terminal/Tray: 12103325/3
  • Core/Insulation Crimp: A/B
  • Release Tool/Test Probe: 12094430/J-35616-42 (RD)

Rear Window Defogger Grid X2

Pin

Wire

Circuit

Function

A

3 BK

850

Ground

Recirculation Actuator


Object Number: 704047  Size: CH

Connector Part Information

  • OEM: 12059110
  • Service: 88953271
  • Description: 2-Way F Metri-Pack 150 Series (BK)

Terminal Part Information

  • Terminal/Tray: See Terminal Repair Kit
  • Core/Insulation Crimp: See Terminal Repair Kit
  • Release Tool/Test Probe: See Terminal Repair Kit

Recirculation Actuator

Pin

Wire

Circuit

Function

A

0.35 L-GN/BK

1647

Open Recirculation Door Control - B

B

0.35 PK/WH

1648

Close Recirculation Door Control - A

Remote Control Door Lock Receiver (RCDLR) (AU0)


Object Number: 1580055  Size: CH

Connector Part Information

  • OEM: 13514032
  • Service: 12102635
  • Description: 4-Way F Micro-Pack 100 Series (BU)

Terminal Part Information

  • Terminal/Tray: 12146447/3
  • Core/Insulation Crimp: E/C
  • Release Tool/Test Probe: 12031876-1/J-35616-6 (BN)

Remote Control Door Lock Receiver (RCDLR) (AU0)

Pin

Wire

Circuit

Function

1

0.5 BK/WH

1051

Ground

2

0.35 D-GN

5060

Keyless Entry Program Enable Signal

3

--

--

Not Used

4

0.5 RD/WH

1140

Battery Positive Voltage

Seat Belt Retractor Pretensioner - Driver


Object Number: 878503  Size: CH

Connector Part Information

  • OEM: 15380395
  • Service: 88988308
  • Description: 2-Way F MISC (YE)

Terminal Part Information

  • Terminal/Tray: See Terminal Repair Kit
  • Core/Insulation Crimp: See Terminal Repair Kit
  • Release Tool/Test Probe: See Terminal Repair Kit

Seat Belt Retractor Pretensioner - Driver

Pin

Wire

Circuit

Function

1

0.5 OG/BK

2119

Seat Belt Pretensioner - Left - Low Control

2

0.5 TN/WH

2118

Seat Belt Pretensioner - Left - High Control

Seat Belt Retractor Pretensioner - Passenger


Object Number: 878503  Size: CH

Connector Part Information

  • OEM: 15380395
  • Service: 88988308
  • Description: 2-Way F MISC (YE)

Terminal Part Information

  • Terminal/Tray: See Terminal Repair Kit
  • Core/Insulation Crimp: See Terminal Repair Kit
  • Release Tool/Test Probe: See Terminal Repair Kit

Seat Belt Retractor Pretensioner - Passenger

Pin

Wire

Circuit

Function

1

0.5 OG

2117

Seat Belt Pretensioner - Right - Low Control

2

0.5 L-GN

2116

Seat Belt Pretensioner - Right - High Control

Seat Belt Switch - Driver


Object Number: 1243663  Size: CH

Connector Part Information

  • OEM: 15332132
  • Service: 88986266
  • Description: 3-Way F MISC (BK)

Terminal Part Information

  • Terminal/Tray: See Terminal Repair Kit
  • Core/Insulation Crimp: See Terminal Repair Kit
  • Release Tool/Test Probe: See Terminal Repair Kit

Seat Belt Switch - Driver

Pin

Wire

Circuit

Function

A

0.35 TN/WH

238

Seat Belt Switch - Left

B

--

--

Not Used

C

0.35 PK

5057

Low Reference

Seat Belt Switch - Passenger


Object Number: 1391783  Size: CH

Connector Part Information

  • OEM: 15332133
  • Service: 88986266
  • Description: 3-Way M GT150 (BK)

Terminal Part Information

  • Terminal/Tray: See Terminal Repair Kit
  • Core/Insulation Crimp: See Terminal Repair Kit
  • Release Tool/Test Probe: See Terminal Repair Kit

Seat Belt Switch - Passenger

Pin

Wire

Circuit

Function

A

0.35 OG

1362

Seat Belt Switch - Right

B

--

--

Not Used

C

0.35 BN

5057

Low Reference

Secondary Air Injection (AIR) Pump (NU6)


Object Number: 1413064  Size: CH

Connector Part Information

  • OEM: 12124819
  • Service: 12085498
  • Description: 2-Way F Metri-Pack 280 Series (NA)

Terminal Part Information

  • Terminal/Tray: 12077413/4
  • Core/Insulation Crimp: B/5
  • Release Tool/Test Probe: 12094430/J-35616-4A (PU)

Secondary Air Injection (AIR) Pump (NU6)

Pin

Wire

Circuit

Function

A

5 OG

78

AIR Pump Supply Voltage

B

5 BK

1050

Ground

Secondary Air Injection (AIR) Solenoid (NU6)


Object Number: 1526382  Size: CH

Connector Part Information

  • OEM: 13539171
  • Service: 88988601
  • Description: 6-Way F Metri-Pack 150 Sealed Series (BK)

Terminal Part Information

  • Terminal/Tray: 12191819/8
  • Core/Insulation Crimp: E/A
  • Release Tool/Test Probe: 15315247/J-35616-2A (GY)

Secondary Air Injection (AIR) Solenoid (NU6)

Pin

Wire

Circuit

Function

1

0.35 TN

407

Low Reference

2

0.35 BN/WH

6331

AIR Solenoid Position Sensor

3

0.35 WH

6452

5-Volt Reference

4

0.5 BK/WH

451

Ground

5

--

--

Not Used

6

0.5 PK/BK

415

AIR Solenoid Supply Voltage

Speaker - Left Front Door (UQ3)


Object Number: 130724  Size: CH

Connector Part Information

  • OEM: 15485606
  • Service: 12117323
  • Description: 2-Way F Metri-Pack 150 Series (BU)

Terminal Part Information

  • Terminal/Tray: 12064971/5
  • Core/Insulation Crimp: E/C
  • Release Tool/Test Probe: 12094429/J-35616-2A (GY)

Speaker - Left Front Door (UQ3)

Pin

Wire

Circuit

Function

A

0.35 GY/BK

118

Left Front Speaker Output (-)

B

0.35 TN

201

Left Front Speaker Output (+)

Speaker - Left Front Door (UQ4)


Object Number: 280768  Size: CH

Connector Part Information

  • OEM: 12052832
  • Service: 12101825
  • Description: 2-Way F Metri-Pack 150 Series (BK)

Terminal Part Information

  • Terminal/Tray: 12064971/5
  • Core/Insulation Crimp: E/C
  • Release Tool/Test Probe: 12094429/J-35616-2A (GY)

Speaker - Left Front Door (UQ4)

Pin

Wire

Circuit

Function

A

0.35 GY

118

Left Front Speaker Output (-)

B

0.35 TN

201

Left Front Speaker Output (+)

Speaker - Left Front Door Tweeter (UQ3)


Object Number: 309396  Size: CH

Connector Part Information

  • OEM: 12064870
  • Service: See Catalog
  • Description: 2-Way M Metri-Pack 150 Series (BU)

Terminal Part Information

  • Terminal/Tray: See Terminal Repair Kit
  • Core/Insulation Crimp: See Terminal Repair Kit
  • Release Tool/Test Probe: See Terminal Repair Kit

Speaker - Left Front Door Tweeter (UQ3)

Pin

Wire

Circuit

Function

A

0.35 GY

118

Left Front Speaker Output (-)

B

0.35 TN

201

Left Front Speaker Output (+)

Speaker - Left Rear (UQ3)


Object Number: 130724  Size: CH

Connector Part Information

  • OEM: 12064869
  • Service: 12117323
  • Description: 2-Way F Metri-Pack 150 Series (BU)

Terminal Part Information

  • Terminal/Tray: 12047767/2
  • Core/Insulation Crimp: E/A
  • Release Tool/Test Probe: 12094429/J-35616-2A (GY)

Speaker - Left Rear (UQ3)

Pin

Wire

Circuit

Function

A

1.0 YE/BK

116

Left Rear Speaker Output (-)

B

0.8 BN/WH

199

Left Rear Speaker Output (+)

Speaker - Left Rear (UQ4)


Object Number: 280768  Size: CH

Connector Part Information

  • OEM: 12052832
  • Service: 12101825
  • Description: 2-Way F Metri-Pack 150 Series (BK)

Terminal Part Information

  • Terminal/Tray: 12047767/2
  • Core/Insulation Crimp: E/C
  • Release Tool/Test Probe: 12094429/J-35616-2A (GY)

Speaker - Left Rear (UQ4)

Pin

Wire

Circuit

Function

A

0.5 YE

116

Left Rear Speaker Output (-)

B

0.5 BN

199

Left Rear Speaker Output (+)

Speaker - Right Front Door (UQ3)


Object Number: 130724  Size: CH

Connector Part Information

  • OEM: 15485606
  • Service: 12117323
  • Description: 2-Way F Metri-Pack 150 Series (BU)

Terminal Part Information

  • Terminal/Tray: 12047767/2
  • Core/Insulation Crimp: E/C
  • Release Tool/Test Probe: 12094429/J-35616-2A (GY)

Speaker - Right Front Door (UQ3)

Pin

Wire

Circuit

Function

A

0.35 D-GN

117

Right Front Speaker Output (-)

B

0.35 L-GN

200

Right Front Speaker Output (+)

Speaker - Right Front Door (UQ4)


Object Number: 280768  Size: CH

Connector Part Information

  • OEM: 12052832
  • Service: 12101825
  • Description: 2-Way F Metri-Pack 150 Series (BK)

Terminal Part Information

  • Terminal/Tray: 12064971/5
  • Core/Insulation Crimp: E/C
  • Release Tool/Test Probe: 12094429/J-35616-2A (GY)

Speaker - Right Front Door (UQ4)

Pin

Wire

Circuit

Function

A

0.35 D-GN

117

Right Front Speaker Output (-)

B

0.35 L-GN

200

Right Front Speaker Output (+)

Speaker - Right Front Door Tweeter (UQ3)


Object Number: 309396  Size: CH

Connector Part Information

  • OEM: 12064870
  • Service: See Catalog
  • Description: 2-Way M Metri-Pack 150 Series (BU)

Terminal Part Information

  • Terminal/Tray: See Terminal Repair Kit
  • Core/Insulation Crimp: See Terminal Repair Kit
  • Release Tool/Test Probe: See Terminal Repair Kit

Speaker - Right Front Door Tweeter (UQ3)

Pin

Wire

Circuit

Function

A

0.35 D-GN

117

Right Front Speaker Output (-) (Coupe)

0.35 D-GN/WH

117

Right Front Speaker Output (-) (Sedan)

B

0.35 L-GN

200

Right Front Speaker Output (+)

Speaker - Right Rear (UQ3)


Object Number: 130724  Size: CH

Connector Part Information

  • OEM: 12064869
  • Service: 12117323
  • Description: 2-Way F Metri-Pack 150 Series (BU)

Terminal Part Information

  • Terminal/Tray: 12047767/2
  • Core/Insulation Crimp: E/A
  • Release Tool/Test Probe: 12094429/J-35616-2A (GY)

Speaker - Right Rear (UQ3)

Pin

Wire

Circuit

Function

A

1 L-BU/BK

115

Right Rear Speaker Output (-)

B

1 D-BU/BK

46

Right Rear Speaker Output (+)

Speaker - Right Rear (UQ4)


Object Number: 280768  Size: CH

Connector Part Information

  • OEM: 12052832
  • Service: 12101825
  • Description: 2-Way F Metri-Pack 150 Series (BK)

Terminal Part Information

  • Terminal/Tray: 12047767/2
  • Core/Insulation Crimp: E/C
  • Release Tool/Test Probe: 12094429/J-35616-2A (GY)

Speaker - Right Rear (UQ4)

Pin

Wire

Circuit

Function

A

0.5 L-BU

115

Right Rear Speaker Output (-)

B

0.5 D-BU

46

Right Rear Speaker Output (+)

Speaker - Subwoofer (UQ3)


Object Number: 130637  Size: CH

Connector Part Information

  • OEM: 12064760
  • Service: 12085208
  • Description: 4-Way F Metri-Pack 150 Series (BK)

Terminal Part Information

  • Terminal/Tray: 12047767/2
  • Core/Insulation Crimp: E/A
  • Release Tool/Test Probe: 12094429/J-35616-2A (GY)

Speaker - Subwoofer (UQ3)

Pin

Wire

Circuit

Function

A

0.8 L-BU/BK

315

Right Rear Subwoofer Speaker Output (+)

B

0.8 D-GN

1795

Right Rear Subwoofer Speaker Output (+)

C

0.8 D-BU/WH

346

Rear Subwoofer Speaker Output (-)

D

0.8 L-GN/BK

1794

Rear Subwoofer Speaker Output (+)

Starter X1


Object Number: 696940  Size: CH

Connector Part Information

  • OEM: 12089916
  • Service: See Catalog
  • Description: 1-Way F Metri-Pack 280 Series Sealed (BK)

Terminal Part Information

  • Terminal/Tray: See Terminal Repair Kit
  • Core/Insulation Crimp: See Terminal Repair Kit
  • Release Tool/Test Probe: See Terminal Repair Kit

Starter X1

Pin

Wire

Circuit

Function

A

2 PU

6

Starter Solenoid Crank Voltage

Starter X2 (To Battery)

Terminal Part Information

  • Terminal: 12161134
  • Core/Insulation Crimp: N/A
  • Description: Ring Terminal

Starter X2 (To Battery)

Pin

Wire

Circuit

Function

+

32 RD

1

Battery Positive Voltage

Starter X2 (To Generator)

Terminal Part Information

  • Terminal: 12103501
  • Core/Insulation Crimp: N/A
  • Description: Ring Terminal

Starter X2 (To Generator)

Pin

Wire

Circuit

Function

+

8 BK

2

Battery Positive Voltage

Steering Angle Sensor (JL4/JL9)


Object Number: 1835137  Size: CH

Connector Part Information

  • OEM: 13547374
  • Service: See Catalog
  • Description: 6-Way F 064 GET Series (BK)

Terminal Part Information

  • Terminal/Tray: See Terminal Repair Kit
  • Core/Insulation Crimp: See Terminal Repair Kit
  • Release Tool/Test Probe: See Terminal Repair Kit

Steering Angle Sensor (JL4/JL9)

Pin

Wire

Circuit

Function

1

0.35 GY

1056

5-Volt Reference

2

--

--

Not Used

3

0.35 PK/BK

6434

CAN Bus High Serial Data

4

0.35 GY/BK

6435

CAN Bus Low Serial Data

5

--

--

Not Used

6

0.35 OG/BK

556

Low Reference

Steering Wheel Controls - Left (K34)


Object Number: 1333392  Size: CH

Connector Part Information

  • OEM: 50-57-9407
  • Service: See Catalog
  • Description: 7-Way F (BK)

Terminal Part Information

  • Terminal/Tray: See Terminal Repair Kit
  • Core/Insulation Crimp: See Terminal Repair Kit
  • Release Tool/Test Probe: See Terminal Repair Kit

Steering Wheel Controls - Left (K34)

Pin

Wire

Circuit

Function

1

0.35 D-GN/WH

1358

DIC Switch Signal

2

--

--

Not Used

3

0.35 GY

8

Instrument Panel Lamp Supply Voltage

4

0.5 PK

339

Ignition 1 Voltage

5

0.35 GY

1884

Cruise Control Switch Signal

6

--

--

Not Used

7

0.35 BK/WH

151

Ground

Steering Wheel Controls Right (K34 with UK3)


Object Number: 605502  Size: CH

Connector Part Information

  • OEM: 12103499
  • Service: 88987918
  • Description: 4-Way F (BK)

Terminal Part Information

  • Terminal/Tray: See Terminal Repair Kit
  • Core/Insulation Crimp: See Terminal Repair Kit
  • Release Tool/Test Probe: See Terminal Repair Kit

Steering Wheel Controls Right (K34 with UK3)

Pin

Wire

Circuit

Function

1

0.35 BK/WH

151

Ground

2

0.35 WH/BK

644

12-Volt Reference

3

0.35 GY

8

Instrument Panel Lamps Supply Voltage

4

0.35 D-BU

1796

Steering Wheel Controls Signal

Sunroof Motor (CF5)


Object Number: 258688  Size: CH

Connector Part Information

  • OEM: 12186775
  • Service: 15306098
  • Description: 3-Way F (BK)

Terminal Part Information

  • Terminal/Tray: See Terminal Repair Kit
  • Core/Insulation Crimp: See Terminal Repair Kit
  • Release Tool/Test Probe: See Terminal Repair Kit

Sunroof Motor (CF5)

Pin

Wire

Circuit

Function

1

0.5 YE

131

Sunroof Limit Switch Low Reference

2

0.5 WH

750

Ground

3

0.5 D-GN

127

Sunroof Motor Open Control

Sunroof Switch (CF5)


Object Number: 130718  Size: CH

Connector Part Information

  • OEM: 12059800
  • Service: 15306169
  • Description: 5-Way F Metri-Pack 150 Series (BK)

Terminal Part Information

  • Pins: A-E
  • Terminal/Tray: 12047767/2
  • Core/Insulation Crimp: Pins A-D: E/C
  • Core/Insulation Crimp: Pins E: E/A
  • Release Tool/Test Probe: 12094429/J-35616-2A (GY)

Sunroof Switch (CF5)

Pin

Wire

Circuit

Function

A

0.5 BK

750

Ground

B

0.5 L-BU

131

Sunroof Limit Switch Range Signal

C

0.5 L-GN

129

Sunroof Motor Close Control

D

0.5 D-GN

127

Sunroof Motor Open Control

E

1 D-GN

1301

RAP Fuse Supply Voltage

Tail/Stop and Turn Signal Lamp - Left (Coupe)


Object Number: 847206  Size: CH

Connector Part Information

  • OEM: 12040977
  • Service: 12085492
  • Description: 3-Way F Metri-Pack 280 Series Sealed (BK)

Terminal Part Information

  • Pins: A, B
  • Terminal/Tray: 12077411/2
  • Core/Insulation Crimp: 2/5
  • Release Tool/Test Probe: 12094430/J-35616-4A (PU)
  • Pins: C
  • Terminal/Tray: See Terminal Repair Kit
  • Core/Insulation Crimp: See Terminal Repair Kit
  • Release Tool/Test Probe: See Terminal Repair Kit

Tail/Stop and Turn Signal Lamp - Left (Coupe)

Pin

Wire

Circuit

Function

A

0.5 YE

18

Left Rear Stop/Turn Lamp Supply Voltage

B

0.5 BN

9

Park Lamp Supply Voltage

C

0.5 BK

750

Ground

Tail/Stop and Turn Signal Lamp - Left (Sedan)


Object Number: 1717007  Size: CH

Connector Part Information

  • OEM: 16530671
  • Service: See Catalog
  • Description: 3-Way F (GY)

Terminal Part Information

  • Terminal/Tray: See Terminal Repair Kit
  • Core/Insulation Crimp: See Terminal Repair Kit
  • Release Tool/Test Probe: See Terminal Repair Kit

Tail/Stop and Turn Signal Lamp - Left (Sedan)

Pin

Wire

Circuit

Function

A

0.5 YE

18

Left Rear Stop/Turn Lamp Supply Voltage

B

0.5 BN

9

Park Lamp Supply Voltage

0.5 BN

9

Park Lamp Supply Voltage

G

0.5 BK

750

Ground

0.5 BK

750

Ground

Tail/Stop and Turn Signal Lamp - Right (Coupe)


Object Number: 847206  Size: CH

Connector Part Information

  • OEM: 12040977
  • Service: 12085492
  • Description: 3-Way F Metri-Pack 280 Series Sealed (BK)

Terminal Part Information

  • Pins: A, B
  • Terminal/Tray: 12077411/2
  • Core/Insulation Crimp: 2/5
  • Release Tool/Test Probe: 12094430/J-35616-4A (PU)
  • Pins: C
  • Terminal/Tray: See Terminal Repair Kit
  • Core/Insulation Crimp: See Terminal Repair Kit
  • Release Tool/Test Probe: See Terminal Repair Kit

Tail/Stop and Turn Signal Lamp - Right (Coupe)

Pin

Wire

Circuit

Function

A

0.5 D-GN

19

Right Rear Stop/Turn Lamp Supply Voltage

B

0.5 BN

9

Park Lamp Supply Voltage

C

0.5 BK

850

Ground

Tail/Stop and Turn Signal Lamp - Right (Sedan)


Object Number: 1717007  Size: CH

Connector Part Information

  • OEM: 16530671
  • Service: See Catalog
  • Description: 3-Way F (GY)

Terminal Part Information

  • Terminal/Tray: See Terminal Repair Kit
  • Core/Insulation Crimp: See Terminal Repair Kit
  • Release Tool/Test Probe: See Terminal Repair Kit

Tail/Stop and Turn Signal Lamp - Right (Sedan)

Pin

Wire

Circuit

Function

A

0.5 YE

19

Left Rear Stop/Turn Lamp Supply Voltage

B

0.5 BN

9

Park Lamp Supply Voltage

0.5 BN

9

Park Lamp Supply Voltage

G

0.5 BK

850

Ground

0.5 BK

850

Ground

Theft Deterrent Control Module


Object Number: 1593355  Size: CH

Connector Part Information

  • OEM: 15383337
  • Service: 88988353
  • Description: 5-Way F (BK)

Terminal Part Information

  • Terminal: See Terminal Repair Kit
  • Core/Insulation Crimp: See Terminal Repair Kit
  • Release Tool/Test Probe: See Terminal Repair Kit

Theft Deterrent Control Module

Pin

Wire

Circuit

Function

1

0.35 RD/WH

1540

Battery Positive Voltage

2

0.35 BN

4

Accessory Voltage Signal

3

0.35 BK/WH

1051

Ground

4

0.35 D-GN

5060

Low Speed GMLAN Serial Data

5

--

--

Not Used

Throttle Actuator Control (TAC) Module


Object Number: 1664617  Size: CH

Connector Part Information

  • OEM: 15355297
  • Service: 88988106
  • Description: 6-Way F GT 150 Series Sealed (BK)

Terminal Part Information

  • Terminal/Tray: 12191819/8
  • Core/Insulation Crimp: E/A
  • Release Tool/Test Probe: 15315247/J-35616-2A (GY)

Throttle Actuator Control (TAC) Module

Pin

Wire

Circuit

Function

A

0.5 BN

582

Throttle Actuator Motor Control (2)

B

0.5 YE

581

Throttle Actuator Motor Control (1)

C

0.5 TN

2752

Low Reference

D

0.5 D-GN

485

Throttle Position Sensor (1) Signal

E

0.5 GY

2701

5-Volt Reference

F

0.5 PU

486

Throttle Position Sensor (2) Signal

Torque Converter Clutch Pulse Width Modulation (TCC PWM) Solenoid Valve (MN5/MXO)


Object Number: 168428  Size: CH

Connector Part Information

  • OEM: 15473845
  • Service: Non-Serviceable
  • Description: 2-Way F Metri-Pack 150.2 Series P2S (BU)

Terminal Part Information

  • Terminal: Non-Serviceable
  • Core/Insulation Crimp: Non-Serviceable
  • Release Tool/Test Probe: Non-Serviceable

Torque Converter Clutch Pulse Width Modulated (TCC PWM) Solenoid Valve (MN5/MXO)

Pin

Wire

Circuit

Function

A

0.35 RD

839

Ignition 1 Voltage

B

0.35 TN

418

TCC PWM Solenoid Valve Control

Traction Control Switch (JL4/JL9)


Object Number: 39660  Size: CH

Connector Part Information

  • OEM: 12047785
  • Service: See Catalog
  • Description: 4-Way F Metri-Pack 150 Series (BK)

Terminal Part Information

  • Terminal: See Terminal Repair Kit
  • Core/Insulation Crimp: See Terminal Repair Kit
  • Release Tool/Test Probe: See Terminal Repair Kit

Traction Control Switch (JL4/JL9)

Pin

Wire

Circuit

Function

A

0.35 BK/WH

651

Ground

B

--

--

Not Used

C

0.35 L-BU

1788

Traction Control Switch Signal

D

0.35 GY

8

Instrument Panel Lamp Supply Voltage

Transmission Control Module (TCM) (MN5/MXO)


Object Number: 1372727  Size: CH

Connector Part Information

  • OEM: 15480141
  • Service: 89046898
  • Description: 49-Way F Micro-64 GT 280 Series Sealed (BK with BU center)

Terminal Part Information

  • Pins: 1-46
  • Terminal/Tray: 15359541/4
  • Core/Insulation Crimp: M/M
  • Release Tool/Test Probe: 15381651-2/J-35616-64B (L-BU)
  • Pins: 49
  • Terminal/Tray: 15491972/24
  • Core/Insulation Crimp: E/5
  • Release Tool/Test Probe: 15315247/J-35616-4A (PU)

Transmission Control Module (TCM) (MN5/MXO)

Pin

Wire

Circuit

Function

1

0.35 TN/BK

422

Torque Converter Clutch Pulse Width Modulated (TCC PWM) Solenoid Valve Control

2

0.35 L-GN

1222

1-2 Shift Solenoid (SS) Valve Control

3

0.35 OG/BK

1230

Input Speed Sensor (ISS) High Signal

4-5

--

--

Not Used

6

0.5 TN

2501

High Speed GMLAN Serial Data Bus - (CAN)

7

0.5 TN/BK

2500

High Speed GMLAN Serial Data Bus + (CAN)

8

--

--

Not Used

9

0.35 YE

657

TCC Release Switch Signal

10

--

--

Not Used

11

0.35 BN

4

Accessory Voltage

12-15

--

--

Not Used

16

0.35 PU

401

Output Speed Sensor (OSS) Low Signal

17

0.35 L-BU/WH

1229

Pressure Control (PC) Solenoid Valve Low Control

18-19

--

--

Not Used

20

0.35 YE/BK

1223

2-3 SS Valve Control

21-22

--

--

Not Used

23

0.35 GY

773

Transmission Range Switch Signal C

24-25

--

--

Not Used

26

0.35 D-BU/WH

1231

ISS Low Signal

27-28

--

--

Not Used

29

0.35 TN/WH

771

Transmission Range Switch Signal A

30

0.5 TN

2762

Transmission Fluid Temperature (TFT) Sensor Low Reference

31

0.5 PK

1039

Ignition 1 Voltage

32

0.5 RD/WH

840

Battery Positive Voltage

33

0.35 OG

1226

Transmission Fluid Pressure (TFP) Switch Signal C

34

--

--

Not Used

35

0.35 YE/BK

1227

TFT Sensor Signal

36

--

--

Not Used

37

0.5 TN

2501

High Speed GMLAN Serial Data Bus - (CAN)

38

0.5 TN/BK

2500

High Speed GMLAN Serial Data Bus + (CAN)

39

0.35 WH

776

Transmission Range Switch Signal P

40

0.35 OG/BK

1228

PC Solenoid Valve High Control

41

0.35 YE

400

OSS High Signal

42

0.35 L-BU

20

Stop Lamp Switch Signal

43

--

--

Not Used

44

0.35 D-BU

1225

TFP Switch Signal B

45

--

--

Not Used

46

0.35 YE

772

Transmission Range Switch Signal B

47-48

--

--

Not Used

49

0.5 BK/WH

451

Ground

Turbo Bypass Valve Solenoid (LNF)


Object Number: 1826250  Size: CH

Connector Part Information

  • OEM: 10756754
  • Service: See Catalog
  • Description: 2-Way F Sealed (BK)

Terminal Part Information

  • Terminal/Tray: See Terminal Repair Kit
  • Core/Insulation Crimp: See Terminal Repair Kit
  • Release Tool/Test Probe: See Terminal Repair Kit

Turbo Bypass Valve Solenoid (LNF)

Pin

Wire

Circuit

Function

1

D-GN

6391

Turbo Bypass Valve Control

2

PK/BK

5293

Powertrain Main Relay Fused Supply (4)

Turbocharger Boost Gauge (LNF)


Object Number: 39665  Size: CH

Connector Part Information

  • OEM: 12089248
  • Service: See Catalog
  • Description: 4-Way F Metri-Pack 150 Series (NA)

Terminal Part Information

  • Terminal/Tray: See Terminal Repair Kit
  • Core/Insulation Crimp: See Terminal Repair Kit
  • Release Tool/Test Probe: See Terminal Repair Kit

Turbocharger Boost Gauge (LNF)

Pin

Wire

Circuit

Function

A

0.35 PK

439

Ignition 1 Voltage

B

0.35 GY

8

Instrument Panel Lamps Dimming Signal

C

0.35 TN

891

Boost Gauge Signal

D

0.35 BK/WH

651

Ground

Turbocharger Boost Pressure Sensor (LNF)


Object Number: 647979  Size: CH

Connector Part Information

  • OEM: 15336035
  • Service: See Catalog
  • Description: 4-Way F Metri-Pack 150 Series (NA)

Terminal Part Information

  • Terminal/Tray: See Terminal Repair Kit
  • Core/Insulation Crimp: See Terminal Repair Kit
  • Release Tool/Test Probe: See Terminal Repair Kit

Turbocharger Boost Pressure Sensor (LNF)

Pin

Wire

Circuit

Function

1

0.5 GY

597

5-Volt Reference

2

0.35 PU/WH

7329

PreThrottle Air Temp and Press (TMAP) Temperature Signal

3

0.5 TN

407

Low Reference

4

0.35 PU

7330

PreThrottle Air Temp and Press (TMAP) Air Pressure Signal

Turbocharger Wastegate Solenoid (LNF)


Object Number: 1826250  Size: CH

Connector Part Information

  • OEM: 10756754
  • Service: See Catalog
  • Description: 2-Way F Sealed (BK)

Terminal Part Information

  • Terminal/Tray: See Terminal Repair Kit
  • Core/Insulation Crimp: See Terminal Repair Kit
  • Release Tool/Test Probe: See Terminal Repair Kit

Turbocharger Wastegate Solenoid (LNF)

Pin

Wire

Circuit

Function

1

0.5 YE

258

Wastegate Solenoid Control

2

0.5 PK/BK

5293

Powertrain Main Relay Fused Supply (4)

Turn Signal/Multifunction Switch X1


Object Number: 1376709  Size: CH

Connector Part Information

  • OEM: 15450317
  • Service: 88987843
  • Description: 8-Way F Misc (WH)

Terminal Part Information

  • Terminal/Tray: SNAC-A03T-M040/20
  • Core/Insulation Crimp: J/J
  • Release Tool/Test Probe: 12094429/J-35616-12 (BU)

Turn Signal/Multifunction Switch X1

Pin

Wire

Circuit

Function

1

0.35 BK/WH

651

Ground

2

0.35 WH

103

Headlamp Switch Headlamps On Signal

3

0.35 BN/WH

301

Park Lamp Switch Signal

4

0.35 PU/WH

549

Headlamp Switch Headlamps Off Signal

5-8

--

--

Not Used

Turn Signal/Multifunction Switch X2


Object Number: 845610  Size: CH

Connector Part Information

  • OEM: 15393435
  • Service: 88986438
  • Description: 10-Way F Micro-Pack 064 Series (GY)

Terminal Part Information

  • Terminal/Tray: 12177007/19
  • Core/Insulation Crimp: E/2
  • Release Tool/Test Probe: 12180559-1/J-35616-64B (L-BU)

Turn Signal/Multifunction Switch X2

Pin

Wire

Circuit

Function

A

--

--

Not Used

B

0.35 BK/WH

651

Ground

C

0.35 BN

1356

Flash To Pass Switch Signal

D

0.35 PU

524

Headlamp Dimmer Switch High Beam Signal

E

0.35 PK/WH

1970

Headlamp Low Beam Relay Control

F

0.35 YE

10

Headlamp Switch Signal

G

0.35 YE/BK

1418

Left Turn Signal Switch Signal

H

0.35 D-GN/WH

1419

Right Turn Signal Switch Signal

J-K

--

--

Not Used

Vehicle Communication Interface Module (VCIM) X1 (UE1)


Object Number: 1471689  Size: CH

Connector Part Information

  • OEM: 15431362
  • Service: 15306351
  • Description: 16-Way F Micro HVT (WH)

Terminal Part Information

  • Terminal/Tray: 15445905/23
  • Core/Insulation Crimp: J/J
  • Release Tool/Test Probe: 12181559/J-35616-16 (L-GN)

Vehicle Communication Interface Module (VCIM) X1 (UE1)

Pin

Wire

Circuit

Function

1

--

--

Not Used

2

0.35 BN/WH

2517

Keypad Red LED Signal

3

0.35 YE/BK

2516

Keypad Green LED Signal

4-5

--

--

Not Used

6

0.35 L-GN/BK

2515

Keypad Supply Voltage

7

--

--

Not Used

8

0.5 BK/WH

751

Ground

9-10

--

--

Not Used

11

0.35 D-GN/WH

2514

Keypad Signal

12-14

--

--

Not Used

15

0.5 RD/WH

1240

Battery Positive Voltage

16

--

--

Not Used

Vehicle Communication Interface Module (VCIM) X2 (UE1)


Object Number: 1471691  Size: CH

Connector Part Information

  • OEM: 15431365
  • Service: 88952886
  • Description: 12-Way F Micro 100A (WH)

Terminal Part Information

  • Terminal/Tray: 15445905/23
  • Core/Insulation Crimp: J/J
  • Release Tool/Test Probe: 12181559/J-35616-16 (L-GN)

Vehicle Communication Interface Module (VCIM) X2 (UE1)

Pin

Wire

Circuit

Function

1

0.35 PK/BK

2062

Cellular Telephone Voice Signal

2

0.35 OG/BK

2061

Cellular Telephone Voice Low Reference

3-7

--

--

Not Used

8

BARE

813

Drain Wire

9

0.35 GY

655

Cellular Microphone Signal

10

BARE

1489

Drain Wire

11-12

--

--

Not Used

Vehicle Communication Interface Module (VCIM) X3 (UE1)


Object Number: 697023  Size: CH

Connector Part Information

  • OEM: 15431368
  • Service: 88988545
  • Description: 12-Way F Micro 100A (BK)

Terminal Part Information

  • Terminal/Tray: 15445905/23
  • Core/Insulation Crimp: J/J
  • Release Tool/Test Probe: 12181559/J-35616-16 (L-GN)

Vehicle Communication Interface Module (VCIM) X3 (UE1)

Pin

Wire

Circuit

Function

1

0.35 D-GN

5060

Low Speed GMLAN Serial Data

2

0.5 TN/BK

2500

High Speed GMLAN Serial Data Bus (+)

3

0.5 TN

2501

High Speed GMLAN Serial Data Bus (-)

4-7

--

--

Not Used

8

0.5 TN/BK

2500

High Speed GMLAN Serial Data Bus (+)

9

0.5 TN

2501

High Speed GMLAN Serial Data Bus (-)

10-12

--

--

Not Used

Vehicle Speed Sensor (VSS) (L61/LE5)


Object Number: 1538760  Size: CH

Connector Part Information

  • OEM: 15449028
  • Service: N/A
  • Description: 2-Way F Metri-Pack 150 Series Sealed (GY)

Terminal Part Information

  • Terminal/Tray: N/A
  • Core/Insulation Crimp: N/A
  • Release Tool/Test Probe: N/A

Vehicle Speed Sensor (VSS) (L61/LE5)

Pin

Wire

Circuit

Function

A

0.35 PU

401

VSS Low Signal (MN5/MX0)

0.35 PU/WH

6356

VSS Low Signal (M86)

B

0.35 YE

400

VSS High Signal (MN5/MX0)

0.35 BN/WH

6354

VSS High Signal (M86)

Vehicle Speed Sensor (VSS) (LNF)


Object Number: 646406  Size: CH

Connector Part Information

  • OEM: 15336004
  • Service: N/A
  • Description: 2-Way F Metri-Pack 150 Series Sealed (GY)

Terminal Part Information

  • Terminal/Tray: N/A
  • Core/Insulation Crimp: N/A
  • Release Tool/Test Probe: N/A

Vehicle Speed Sensor (VSS) (LNF)

Pin

Wire

Circuit

Function

A

0.35 PU

401

VSS Low Signal

B

0.35 YE

400

VSS High Signal

Wheel Speed Sensor (WSS) - Left Front (JM4/JL9/JL4)


Object Number: 537107  Size: CH

Connector Part Information

  • OEM: 12052644
  • Service: See Catalog
  • Description: 2-Way F Metri-Pack 150 Series Sealed (L-GY)

Terminal Part Information

  • Terminal/Tray: See Terminal Repair Kit
  • Core/Insulation Crimp: See Terminal Repair Kit
  • Release Tool/Test Probe: See Terminal Repair Kit

Wheel Speed Sensor (WSS) - Left Front (JM4/JL9/JL4)

Pin

Wire

Circuit

Function

A

0.5 D-GN

830

Left Front Wheel Speed Sensor Signal

B

0.5 TN

873

Left Front Wheel Speed Sensor Low Reference

Wheel Speed Sensor (WSS) - Left Rear (L61/LE5 with JM4/JL9/JL4)


Object Number: 287974  Size: CH

Connector Part Information

  • OEM: 15305168
  • Service: See Catalog
  • Description: 2-Way F Metri-Pack 150 Series Sealed (L-GY)

Terminal Part Information

  • Terminal/Tray: See Terminal Repair Kit
  • Core/Insulation Crimp: See Terminal Repair Kit
  • Release Tool/Test Probe: See Terminal Repair Kit

Wheel Speed Sensor (WSS) - Left Rear (L61/LE5 with JM4/JL9/JL4)

Pin

Wire

Circuit

Function

A

0.8 BK

884

Left Rear Wheel Speed Sensor Signal

B

0.8 RD

885

Left Rear Wheel Speed Sensor Low Reference

Wheel Speed Sensor (WSS) - Left Rear (LNF with JM4/JL9/JL4)


Object Number: 537107  Size: CH

Connector Part Information

  • OEM: 12052644
  • Service: See Catalog
  • Description: 2-Way F Metri-Pack 150 Series Sealed (L-GY)

Terminal Part Information

  • Terminal/Tray: See Terminal Repair Kit
  • Core/Insulation Crimp: See Terminal Repair Kit
  • Release Tool/Test Probe: See Terminal Repair Kit

Wheel Speed Sensor (WSS) - Left Rear (LNF with JM4/JL9/JL4)

Pin

Wire

Circuit

Function

A

0.8 BK

884

Left Rear Wheel Speed Sensor Signal

B

0.8 RD

885

Left Rear Wheel Speed Sensor Low Reference

Wheel Speed Sensor (WSS) - Right Front (JM4/JL9/JL4)


Object Number: 537107  Size: CH

Connector Part Information

  • OEM: 12052644
  • Service: See Catalog
  • Description: 2-Way F Metri-Pack 150 Series Sealed (L-GY)

Terminal Part Information

  • Terminal/Tray: See Terminal Repair Kit
  • Core/Insulation Crimp: See Terminal Repair Kit
  • Release Tool/Test Probe: See Terminal Repair Kit

Wheel Speed Sensor (WSS) - Right Front (JM4/JL9/JL4)

Pin

Wire

Circuit

Function

A

0.5 D-GN

872

Right Front Wheel Speed Sensor Signal

B

0.5 TN

833

Right Front Wheel Speed Sensor Low Reference

Wheel Speed Sensor (WSS) - Right Rear (L61/LE5 with JM4/JL9/JL4)


Object Number: 287974  Size: CH

Connector Part Information

  • OEM: 15305168
  • Service: See Catalog
  • Description: 2-Way F Metri-Pack 150 Series Sealed (L-GY)

Terminal Part Information

  • Terminal/Tray: See Terminal Repair Kit
  • Core/Insulation Crimp: See Terminal Repair Kit
  • Release Tool/Test Probe: See Terminal Repair Kit

Wheel Speed Sensor (WSS) - Right Rear (L61/LE5 with JM4/JL9/JL4)

Pin

Wire

Circuit

Function

A

0.8 BN

882

Right Rear Wheel Speed Sensor Signal

B

0.8 WH

883

Right Rear Wheel Speed Sensor Low Reference

Wheel Speed Sensor (WSS) - Right Rear (LNF with JM4/JL9/JL4)


Object Number: 537107  Size: CH

Connector Part Information

  • OEM: 12052644
  • Service: See Catalog
  • Description: 2-Way F Metri-Pack 150 Series Sealed (L-GY)

Terminal Part Information

  • Terminal/Tray: See Terminal Repair Kit
  • Core/Insulation Crimp: See Terminal Repair Kit
  • Release Tool/Test Probe: See Terminal Repair Kit

Wheel Speed Sensor (WSS) - Right Rear (LNF with JM4/JL9/JL4)

Pin

Wire

Circuit

Function

A

0.8 BN

882

Right Rear Wheel Speed Sensor Signal

B

0.8 WH

883

Right Rear Wheel Speed Sensor Low Reference

Window Motor - Driver (AU3/DG7)


Object Number: 684837  Size: CH

Connector Part Information

  • OEM: 12129487
  • Service: 12167133
  • Description: 2-Way F Metri-Pack 280 Series Sealed (GY)

Terminal Part Information

  • Terminal/Tray: 12110845/2
  • Core/Insulation Crimp: C
  • Release Tool/Test Probe: 12094430/J-35616-42 (RD)

Window Motor - Driver (AU3/DG7)

Pin

Wire

Circuit

Function

A

2 D-BU

164

Power Window Motor Left Front Up Control (Coupe)

A

2 BN

165

Power Window Motor Left Front Down Control (Sedan)

B

2 BN

165

Power Window Motor Left Front Down Control (Coupe)

B

2 D-BU

164

Power Window Motor Left Front Up Control (Sedan)

Window Motor - Front Passenger (AU3/DG7)


Object Number: 684837  Size: CH

Connector Part Information

  • OEM: 12129487
  • Service: 12167133
  • Description: 2-Way F Metri-Pack 280 Series Sealed (GY)

Terminal Part Information

  • Terminal/Tray: 12110845/2
  • Core/Insulation Crimp: C
  • Release Tool/Test Probe: 12094430/J-35616-42 (RD)

Window Motor - Front Passenger (AU3/DG7)

Pin

Wire

Circuit

Function

A

2 D-BU

666

Power Window Motor Right Front Up Control (Coupe)

A

2 BN

667

Power Window Motor Right Front Down Control (Sedan)

B

2 BN

667

Power Window Motor Right Front Down Control (Coupe)

B

2 D-BU

666

Power Window Motor Right Front Up Control (Sedan)

Window Motor - Left Rear (Sedan) (AU3/DG7)


Object Number: 684837  Size: CH

Connector Part Information

  • OEM: 12129487
  • Service: 12167133
  • Description: 2-Way F Metri-Pack 280 Series Sealed (GY)

Terminal Part Information

  • Terminal/Tray: 12110845/2
  • Core/Insulation Crimp: C
  • Release Tool/Test Probe: 12094430/J-35616-42 (RD)

Window Motor - Left Rear (Sedan) (AU3/DG7)

Pin

Wire

Circuit

Function

A

2 D-BU

668

Power Window Motor Left Rear Up Control

B

2 BN

669

Power Window Motor Left Rear Down Control

Window Motor - Right Rear (Sedan) (AU3/DG7)


Object Number: 684837  Size: CH

Connector Part Information

  • OEM: 12129487
  • Service: 12167133
  • Description: 2-Way F Metri-Pack 280 Series Sealed (GY)

Terminal Part Information

  • Terminal/Tray: 12110845/2
  • Core/Insulation Crimp: C
  • Release Tool/Test Probe: 12094430/J-35616-42 (RD)

Window Motor - Right Rear (Sedan) (AU3/DG7)

Pin

Wire

Circuit

Function

A

2 D-BU

670

Power Window Motor Right Rear Up Control

B

2 BN

671

Power Window Motor Right Rear Down Control

Window Switch - Driver (Coupe) (AU3/DG7)


Object Number: 556473  Size: CH

Connector Part Information

  • OEM: 15326924
  • Service: 12167133
  • Description: 8-Way F GT 280 Series Sealed (BK)

Terminal Part Information

  • Terminal/Tray: 15304712/2
  • Core/Insulation Crimp: C
  • Release Tool/Test Probe: 12094430/J-35616-42 (RD)

Window Switch - Driver (Coupe) (AU3/DG7)

Pin

Wire

Circuit

Function

A

2 L-BU

166

Power Window Master Switch Right Front Up Signal

B

0.35 GY

8

Instrument Panel Lamp Supply Voltage

C

3 D-GN

801

Retained Accessory Power Fuse Supply Voltage

D

2 TN

167

Power Window Master Switch Right Front Down Signal

E

--

--

Not Used

F

2 BK

650

Ground

G

2 D-BU

164

Power Window Motor Left Front Up Control

H

2 BN

165

Power Window Motor Left Front Down Control

Window Switch - Driver X1 (Sedan) (AU3/DG7)


Object Number: 646380  Size: CH

Connector Part Information

  • OEM: 15326900
  • Service: See Catalog
  • Description: 6-Way F GT 280 Series Sealed (BK)

Terminal Part Information

  • Terminal/Tray: 15304712/2
  • Core/Insulation Crimp: C
  • Release Tool/Test Probe: 12094430/J-35616-42 (RD)

Window Switch - Driver X1 (Sedan) (AU3/DG7)

Pin

Wire

Circuit

Function

A

0.35 BN

165

Power Window Motor Left Front Down Control

B

2 L-BU

166

Power Window Master Switch Right Front Up Signal

C

0.35 TN

167

Power Window Master Switch Right Front Down Signal

D

--

--

Not Used

E

0.35 D-BU

164

Power Window Motor Left Front Up Control

F

0.35 GY

8

Instrument Panel Lamp Supply Voltage

Window Switch - Driver X2 (Sedan) (AU3/DG7)


Object Number: 556473  Size: CH

Connector Part Information

  • OEM: 15326924
  • Service: See Catalog
  • Description: 8-Way F GT 280 Series Sealed (BK)

Terminal Part Information

  • Terminal/Tray: 15304712/2
  • Core/Insulation Crimp: C
  • Release Tool/Test Probe: 12094430/J-35616-42 (RD)

Window Switch - Driver X2 (Sedan) (AU3/DG7)

Pin

Wire

Circuit

Function

A

--

--

Not Used

B

0.5 BK

650

Ground

C

2 PU

169

Power Window Master Switch Left Rear Down Signal

D

2 D-GN

168

Power Window Master Switch Left Rear Up Signal

E

3 D-GN

801

Retained Accessory Power Fuse Supply Voltage

F

2 D-BU

1307

Power Window Master Switch Lockout Signal

G

2 L-GN

170

Power Window Master Switch Right Rear Up Signal

H

2 PU

171

Power Window Master Switch Right Rear Down Signal

Window Switch - Front Passenger (AU3/DG7)


Object Number: 333036  Size: CH

Connector Part Information

  • OEM: 12191825
  • Service: See Catalog
  • Description: 8-Way F GT 280 Series Sealed (BN)

Terminal Part Information

  • Terminal/Tray: 15304712/2
  • Core/Insulation Crimp: C
  • Release Tool/Test Probe: 12094430/J-35616-42 (RD)

Window Switch - Front Passenger (AU3/DG7)

Pin

Wire

Circuit

Function

A

3 D-GN

801

Retained Accessory Power Fuse Supply Voltage

B

0.35 GY

8

Instrument Panel Lamp Supply Voltage

C

0.5 BK

650

Ground

D

3 TN

167

Power Window Master Switch Right Front Down Signal

E

--

--

Not Used

F

3 BN

667

Power Window Motor Right Front Down Control

G

3 D-BU

666

Power Window Motor Right Front Up Control

H

3 L-BU

166

Power Window Master Switch Right Front Up Signal

Window Switch - Left Rear (Sedan) (AU3/DG7)


Object Number: 333036  Size: CH

Connector Part Information

  • OEM: 12191825
  • Service: See Catalog
  • Description: 8-Way F GT 280 Series Sealed (BK)

Terminal Part Information

  • Terminal/Tray: 15304712/2
  • Core/Insulation Crimp: C
  • Release Tool/Test Probe: 12094430/J-35616-42 (RD)

Window Switch - Left Rear (Sedan) (AU3/DG7)

Pin

Wire

Circuit

Function

A

2 D-BU

1307

Power Window Master Switch Lockout Signal

B-C

--

--

Not Used

D

2 PU

169

Power Window Master Switch Left Rear Down Signal

E

--

--

Not Used

F

2 BN

669

Power Window Motor Left Rear Down Control

G

2 D-BU

668

Power Window Motor Left Rear Up Control

H

2 D-GN

168

Power Window Master Switch Left Rear Up Signal

Window Switch - Right Rear (Sedan) (AU3/DG7)


Object Number: 333036  Size: CH

Connector Part Information

  • OEM: 12191825
  • Service: See Catalog
  • Description: 8-Way F GT 280 Series Sealed (BK)

Terminal Part Information

  • Terminal/Tray: 15304712/2
  • Core/Insulation Crimp: C
  • Release Tool/Test Probe: 12094430/J-35616-42 (RD)

Window Switch - Right Rear (Sedan) (AU3/DG7)

Pin

Wire

Circuit

Function

A

2 D-BU

1307

Power Window Master Switch Lockout Signal

B-C

--

--

Not Used

D

2 PU

171

Power Window Master Switch Right Rear Down Signal

E

--

--

Not Used

F

2 D-BU

670

Power Window Motor Right Rear Up Control

G

2 BN

671

Power Window Motor Right Rear Down Control

H

2 L-GN

170

Power Window Master Switch Right Rear Up Signal

Windshield Washer Fluid Pump


Object Number: 635009  Size: CH

Connector Part Information

  • OEM: 12052641
  • Service: 12102747
  • Description: 2-Way F Metri-Pack 150 Series Sealed (BK)

Terminal Part Information

  • Terminal/Tray: 12048074/2
  • Core/Insulation Crimp: E/1
  • Release Tool/Test Probe: 12094429/J-35616-2A (GY)

Windshield Washer Fluid Pump

Pin

Wire

Circuit

Function

A

0.5 OG

228

Windshield Washer Pump Control

B

0.5 BK

150

Ground

Windshield Wiper Motor


Object Number: 1538775  Size: CH

Connector Part Information

  • OEM: 10811710
  • Service: 88987987
  • Description: 4-Way F Timer JR-Power Sealed (BK)

Terminal Part Information

  • Terminal/Tray: 4-964286-1/16
  • Core/Insulation Crimp: E/1
  • Release Tool/Test Probe: 12093647/J-35616-4A (PU)

Windshield Wiper Motor

Pin

Wire

Circuit

Function

1

1 PU

92

Windshield Wiper Motor High Speed Control

2

1 D-GN

95

Windshield Wiper Motor Low Speed Control

3

0.5 YE

196

Windshield Wiper Motor Park Switch Signal

4

1 BK

150

Ground

Windshield Wiper/Washer Switch


Object Number: 130718  Size: CH

Connector Part Information

  • OEM: 12059800
  • Service: 15306169
  • Description: 5-Way F Metri-Pack 150 Series (BK)

Terminal Part Information

  • Terminal/Tray: 12064971/5
  • Core/Insulation Crimp: E/C
  • Release Tool/Test Probe: 12094429/J-35616-2A (GY)

Windshield Wiper/Washer Switch

Pin

Wire

Circuit

Function

A

--

--

Not Used

B

0.35 OG

228

Windshield Washer Pump Control

C

0.35 L-GN

1715

Windshield Wiper Switch High Signal

D

0.35 PK

439

Ignition 1 Voltage

E

0.35 GY

112

Windshield Wiper Switch Signal 1

Yaw and Lateral Acceleration Sensor (JL4/JL9)


Object Number: 831393  Size: CH

Connector Part Information

  • OEM: 10750569
  • Service: See Catalog
  • Description: 6-Way F MQS Socket Housing, Sealed (GY)

Terminal Part Information

  • Terminal/Tray: See Terminal Repair Kit
  • Core/Insulation Crimp: See Terminal Repair Kit
  • Release Tool/Test Probe: See Terminal Repair Kit

Yaw and Lateral Acceleration Sensor (JL4/JL9)

Pin

Wire

Circuit

Function

1

0.5 GY/BK

6435

CAN Bus Low Serial Data

2

0.5 PK/BK

6434

CAN Bus High Serial Data

3

0.5 D-GN

2087

12-Volt Reference

4

--

--

Not Used

5

0.5 L-BU

2088

Low Reference

6

--

--

Not Used