| Subject: | General Guide to Panoramic Sunroof Noise Issues (WPC P/N 400 or P/N 401) |
| Models: | 2005-2007 Pontiac G6 |
| 2007 Saturn Aura |
This bulletin is being revised to include additional repair information. Please discard Corporate Bulletin Number 05-08-67-014F (Section 08 - Body and Accessories).
Important: The intent of this bulletin is to identify the appropriate issue(s) and apply the appropriate correction(s) pertaining to the customer's comments. To determine the final service labor operation time, use the initial base time and then apply the appropriate add times, depending on the issue correction(s) performed. Please note - only the items performed on the vehicle being serviced should be used as the final repair time and the Repair Order must indicate the Bulletin Number and the Condition Number(s) used.
Important: Do not replace an entire sunroof module for creak/pop type noise or wind noise-type complaints. A new sunroof module does not come as a complete assembly and will require many components - including all of the glass panels - to be swapped over from the old module to the new module being installed. Correctly following the bulletin should correct these concerns.
Important: U.S. Dealer Technicians - Please review Tech Assist video 50250.17T1 at the GM Training web site prior to any repair of the panoramic sunroof system.
PLEASE VERIFY CUSTOMER CONCERN BEFORE SERVICE.
Important: If the sunroof motor/actuator assembly has been replaced, or has lost battery positive voltage or ground for any other reason, it will be necessary to initialize the motor/actuator when service has been completed. Refer to Sunroof Control Module Programming and Setup in Programming and Setup.
This bulletin covers the following issues:
| • | Creak/snap/pop type noise coming from the sunroof module - Install mylar washers and lubricate all module fasteners (Refer to Condition #1) |
| • | Windnoise coming from sunroof glass panels and/or HVAC blower whistle type noise that changes with fan speed - Install glass panel cross car foam (Refer to Condition #2) |
| • | Windnoise coming from the sunroof module seal to roof - Install updated module seal (Refer to Condition #3) |
| • | Glass panel loose/rattling - (Refer to Condition #4) |
| • | Plastic/metal rattle type noise coming from the rear area of the sunroof module - (Refer to Condition #5) |
| • | Sunshade will not cycle (open or close) - (Refer to Condition #6) |
| • | Seal itch between glass panels - (Refer to Condition #7) |
| • | Intermittently the sunroof closes while opening - (Refer to Condition #8) |
| • | Light coming through at the rear corner of the glass panels - (Refer to Condition #9) |
| • | Headliner itch type noise - (Refer to Condition #10) |
Some customers may comment on creak/snap/pop type noise from the sunroof module that occurs while driving over bumps.
This condition may be caused by the module mounting bolts/fasteners (roof interaction with the fasteners).
For vehicles built before January 1st, 2006, perform steps 1-8 below (Install mylar washers and lubricate all fasteners). For vehicles built after January 1st 2006, perform steps 5-8 only (ensure mylar washers are present and lubricate all fasteners).
Important: Use hand tools only, power tools will not allow the compensator to seat properly.
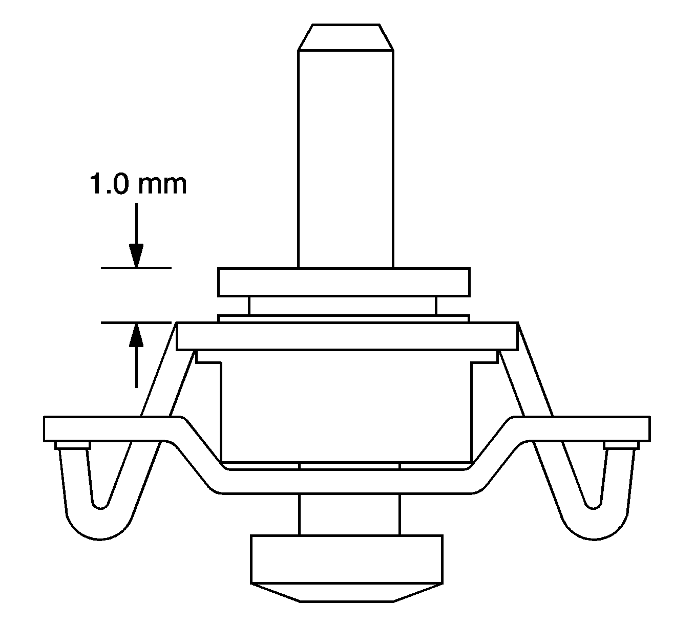
Important: To achieve proper seal to body compression, have one person push firmly upward on the black rail of the module between the two front center compensators as another person tightens the center two compensators (refer to figure 4A).
This will improve the seal contact along the front edge of the module to body. Then reinstall the two outboard tolerance compensators to the roof. (Torque specification 10 N·m/89 lb in) (refer to figure 4B)
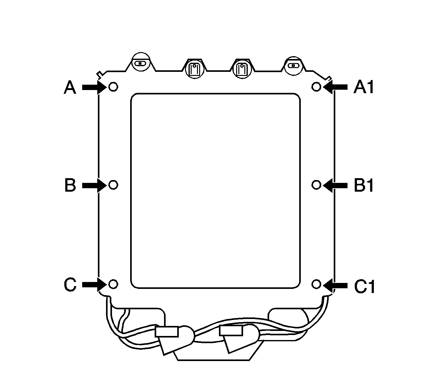
Important: To prevent the sunroof from dropping, loosen one corner at a time following the procedure listed below. Do not over tighten the mounting bolts.
| • | Loosen A. (refer to figure 6 and description above). |
| • | Loosen B. |
| • | Install two washers to A (refer to figure 5) and one to B (refer to figure 2). |
| • | Tighten A. (See note # 1 below) |
| • | Loosen C. |
| • | Install two washers to C. |
| • | Tighten C and B. (See note # 1 and note # 2 below). |
| • | Repeat for A1, B1 and C1. |
| • | Note # 1: Retighten TORX screw into body to 10 N·m/89 lb in. |
| • | Note # 2: Prior to fastening the two side center tolerance compensators B and B1 (refer to figure 6), turn the compensator to lower the barrel to its lowest position (refer to figure 3). Before fastening, get out of the vehicle and observe the main seal to body contact. If the seal appears to have good engagement to the roof, proceed with tightening the center two tolerance compensators screws, B and B1 (torque specification 10 N·m/89 lb in). |
| • | If the seal does not appear to have good engagement to the roof, from the inside of the vehicle, have one person push firmly upward on the center black rail of the module, while the other person tightens the two side center compensators B and B1. This will improve the seal compression to module. |
Caution: Be cautious when spraying GM super lube. To avoid any damage to the interior trim, cover all exposed areas before spraying. While spraying, use a shop towel with the other hand to catch any drips and pat the sprayed area to remove any excess lubricant.
Some customers may comment on wind noise coming from the glass panel areas of the sunroof. This condition could also be reported as a HVAC blower motor whistle type noise that changes with fan speed.
This condition may be caused by one of more glass panels out of adjustment and not sealing properly.
VERIFY THE CUSTOMER CONCERN - Windnoise and/or HVAC blower/whistle type noise can vary depending on the blower fan speed setting. Higher fan speeds increase cabin pressure allowing more air flow out of the cabin through marginal sealing areas. To properly diagnose, it is important to know at what vehicle speeds and/or what fan speed settings the windnoise occurs.
Important: The foam should be seated evenly in the channel and across the panel to ensure proper glass panel sealing. Note - the cross car foam can be obtained by calling the Warranty Parts Center and requesting P/N 400 (three foam strips per order).
Test drive the vehicle, and ONLY if the noise is still present perform the following taping diagnostic procedure to determine the source of leak and proper glass panel adjustment.
| • | Run a line of tape across the vehicle from module seal to front of first glass panel (refer to figure 9). Test drive. If the noise is gone, adjust the first glass panel downward to create a better seal per the procedure below. |
| • | If the noise is still present, run a line of tape across the vehicle covering the back of the first glass to the front of second glass. If the noise is gone, adjust the second glass panel downward to create a better seal. |
| • | If the noise is still present, run a line of tape across the vehicle covering the back of the second glass to the front of third glass. If the noise is gone, adjust the third glass panel downward to create a better seal. |
| • | If the noise is still present, run a line of tape across the vehicle covering the back of the third glass to the front of fourth glass. If the noise is gone, adjust the fourth glass panel downward to create a better seal. |
Adjust the glass panel downward one side at a time.
Notice: The first glass panel must be open to remove the actuator side covers; all others can be removed closed.
Notice: Over compression of the seal may cause too much resistance on the seal to glass interface potentially causing false reversals when attempting to close sunroof.
A = Gap between glass edge to metal roof edge. Panoramic Roof (Gap) 4.0+/- 1.5 mm (front). Panoramic Roof (Gap) 4.0 +/- 1.5 mm (Rear)
B = Gap between glass panels. 4.0 mm +/- 1.5 mm Glass gap between 1st & 2nd, 2nd & 3rd and 3rd & 4th panels.
Important: It is always desirable to have glass panels display a slight shingle effect (refer to figure 12).
Important: Keep in mind that some air leakage is normal at the T-joint areas and are there by design (refer to figure 13).
Some customers may comment on wind noise/wind rush type noise coming from outside of the vehicle in the sunroof module seal to roof area.
This condition may be caused by a lack of seal compression from the sunroof module to metal roof.
A rolled seal and/or a puckered seal at one of the corners at the module.
Correction A and Cause B do not correct the windnoise.
Lack of Module Seal Compression to the metal roof
| • | If the noise is coming from the front center of the sunroof module (refer to figure 14), loosen all front 4 module mounting bolts (refer to figure 1). Verify that the compensators are not engaged into the roof. Spin all front four compensator barrels all the way down (refer to figure 3). |
| Important: To achieve proper seal to body compression, have one person push firmly upward on the black rail of the module between the two front center screws as another person tightens the center two screws (refer to figure 4). This will improve the seal contact along the front edge of the module to body. Then reinstall the two outboard tolerance compensators to the roof. (Torque specification 10 N·m/89 lb in) (refer to figure 4A). |
| • | If the noise is coming from the side center of the sunroof module (refer to figure 14), loosen the three side mounting bolts (refer to figure 15). Verify that the compensators are not engaged into the roof. Spin all the three compensator barrels all the way down (refer to figure 3). |
| Important: To achieve proper seal to body compression, have one person push firmly upward on the center of the side black rail of the module as another person tightens the center compensator (refer to figure 15). This will improve the seal contact along the side center edge of the module to body. Then reinstall the other two side outboard tolerance compensators to the roof. (Torque specification 10 N·m/89 lb in) . |
| • | If the noise is coming from the one of the four corners (refer to figure 14), adjust the proper corner leveling nut (height adjusters) accordingly (19 mm hex heads) (refer to figure 16). |
| Important: When you loosen the nut, you are tightening the seal to roof, creating a better module to roof seal. When you are tightening the nut, you are loosening the seal to roof. |
Verify seal fit consistency to the entire perimeter of the roof.
Repair rolled perimeter seal by spooning into position with "Trim Stick" or credit card type tool.
Incorrect position rolled seal.
Pull seal out from under roof edge with trim stick.
Corrected position.
Push seal back under roof edge with trim stick.
Corrected position.
Important: Test drive vehicle and verify condition is gone.
Notice: In some instances, over longer periods of time and sun exposure, the seal may take a permanent set. In these types of cases, the seal may have to be replaced (see Correction C below).
Replace the sunroof module seal.
DO NOT order an entire sunroof module to get the seal. Note: the new seal can be obtained by calling the Warranty Parts Center.
For vehicles built prior to April 28, 2005, replace the module seal with updated P/N 15291339 and adjust the front glass panel properly (refer to Sun Roof Window Alignment in SI). If the vehicle was built after April 28, 2005, the vehicle already has the updated module seal. Adjust the front panel properly (refer to Sun Roof Windows Alignment ).
Important: When installing the new seal, DO NOT remove all glass panels. Remove only the first glass panel, with the sunroof in the open position, remove the old seal and install the new seal working your way around the perimeter of the roof. This will avoid the need to totally readjust all four glass panels. Use the ignition key to properly place the panel in the appropriate position to properly install and seat the seal.
After installing the module seal, reinstall and properly adjust first glass panel. Operate the sunroof to ensure proper operation. Test drive vehicle to make sure no noise issues are present.
Some customers may comment on glass panel rattling or loose.
Glass panel retention pins loose or missing.
DO NOT order an entire sunroof module to get the retention pins. The pins are available through the Warranty Parts Center. Request P/N 401 (2 pins per order).
Customers may comment on a plastic/metal rattle type noise that occurs while driving over bumps. This noise usually comes from the rear of the sunroof module.
This condition may be caused by loose mounting bolts/fasteners.
Important: Do not over tighten the mounting bolts.
Important: These screws should be snug. Do not over tighten the mounting bolts.
After servicing the sunroof module, the sunshade does not cycle.
This condition may be caused by an incorrect drive motor on the sunshade.
Since both these motor have different internal software, verify that the sunshade motor (passenger side motor) has a black case. (The white case motor is the glass drive motor [driver side motor]) (refer to figure 23).
Seal itch between glass panels.
Apply GM Weatherstrip Lubricant, P/N 3634770 (in Canada, P/N 10953518), to the entire module seal and at forward seal edge of glass panel 2, 3, & 4. Follow these steps:
Notice: Excess lubrication will attract debris and cause other issues.
Customer complains that intermittently, while closing the sunroof, it reverses and opens.
False reversals may occur due to high electrical load on the vehicle while operating the sunroof. This could be caused by of one of the following:
Customer may comment on light coming through the T-joints areas.
It is important to note that this is caused by a clear area in the glass black out for the GM Glass part number. This is a normal condition and is not actual opening in the glass.
If the customer does not accept this explanation, use a black permanent marker to "black-out" the area (refer to figure 24).
Some customers may comment on an itch type noise occurring over bumps. The noise comes from the front area of headliner at the corners where headliner meets the sunroof module, over the driver’s and/or front passenger’s head area.
The headliner may rub on a pair of plastic screw boss holes (empty/no screws in these bosses) that are part of the sunroof module on each side of the module towards the front (refer to figure 25).
For vehicles built before May 9, 2005, (Note: vehicles built after May 9, 2005, already has this update) partially lower the front of the headliner enough to access this area, being careful not to bend or damage the headliner while performing the following procedure. Install a 102 mm X 102 mm (4 in X 4 in) felt/flocking tape* patch to the backside of the headliner, just under the pair of plastic screw boss holes (empty/no screws in these bosses) that are part of the sunroof module on each side of the module (driver/passenger) towards the front (refer to figure 26).
VERIFY CUSTOMER COMPLAINT HAS BEEN ELIMINATED Reinstall the headliner. *The felt/flocking tape, BSR P/N KT13296, can be purchased from Kent Automotive by calling 1-800-654-6333 (in Canada, 1-800-563-1717).
Part Number | Description | Qty |
|---|---|---|
15911310 | Mylar Washer | 14 |
The intent of this bulletin is to identify the appropriate issue/s and apply the appropriate correction(s) pertaining to the customer's comments. To determine the final service labor operation time, use the initial base time and then apply the appropriate add times depending on the issue correction(s) performed. Please note - only the items performed on the vehicle being serviced should be used as the final repair time and the Repair Order must indicate the Bulletin Number and the Condition Number(s) used.
Labor Operation | Description | Labor Time |
|---|---|---|
B9826* | Road Test and Inspect | 0.2 hr |
ADD | Condition #1 | 0.9 hr |
ADD | Condition #2 | 0.3 hr |
ADD | Condition #3A | 0.9 hr |
ADD | Condition #3C | 0.5 hr |
ADD | Condition #4 | 0.2 hr |
ADD | Condition #5 | 0.6 hr |
ADD | Condition #6 | 0.9 hr |
ADD | Condition #7 | 0.2 hr |
ADD | Condition #10 | 0.6 hr |
*This is a unique labor operation for bulletin use only. It will not be published in the Labor Time Guide. | ||
IMPORTANT NOTE WHEN PRINTING THIS FORM: If the form prints out on two pages, make certain you fax BOTH pages so that the WPC receives all the needed information. Missing information will delay or prevent the part from being shipped.
Parts Request Form - Warranty Parts Center |
|---|
To: Warranty Parts Center
e-mail: warrantypartscenterUSA@gm.com
or WPC Fax: 248-371-0192
Attn: Jeannette Dunn
Part Being Requested (please circle correct P/N):
WPC400 - FOAM STRIPS (set of 3)
WPC401 - GLASS PANEL PINS (set of 2)
Dealer BAC (U.S.) / Dealer Code (Canada):
Dealer Name:
Dealer Address:
Dealer Contact Person:
Dealer Phone Number:
Repair Order Number:
Vehicle VIN:
Important: If you do not receive the part within 2 business days after e-mailing or faxing your part request to the Warranty Parts Center, please call Customer Assistance at 248-371-9901/9902. IMPORTANT NOTE WHEN PRINTING THIS FORM: If the form prints out on two pages, make certain you fax BOTH pages so that the WPC receives all the needed information. Missing information will delay or prevent the part from being shipped. |