GM Service Manual Online
For 1990-2009 cars only
Makes
🢒
Pontiac
🢒
2007
🢒
G6
🢒
Steering
🢒
Steering Wheel and Column
🢒 Steering Column Disassembled View
Steering Column Disassembled View Electronic Power Steering
(1)
Pinch Bolt
(2)
Intermediate Steering Shaft
(3)
Column and Assist Mechanism
(4)
R/H Tilt Spring
(5)
Nylon Insert Nut
(6)
Thrust Bearing Assembly
(7)
Bolt Spacer
(8)
Bolt Retainer
(9)
Tilt and Tele Teeth
(10)
Tilt and Tele Adj Cam
(11)
Follower Release
(12)
Tilt Lever Assembly
(13)
L/H Tilt Spring
(14)
TORX® Bolt
(15)
Motor and Controller Assembly
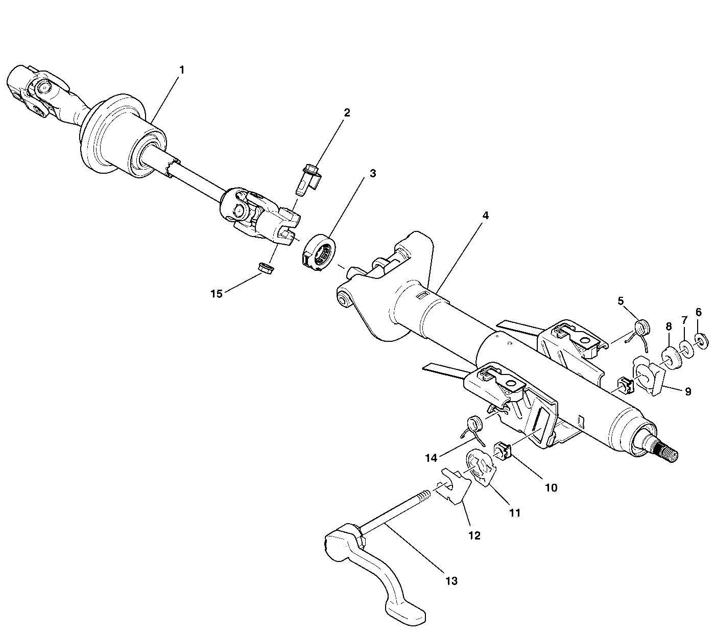
Steering Column Disassembled View Hydraulic Power Steering
(1)
Intermediate Steering Shaft
(2)
Bolt and Retainer Assembly
(3)
Steering Wheel Position Sensor
(4)
Steering Column Assembly
(5)
R/H Tilt Spring
(6)
Nylon Insert Nut
(7)
Thrust Bearing Assembly
(8)
Bolt Spacer
(9)
Bolt Retainer
(10)
Rake and Tele Teeth
(11)
Rake and Tele Adj Cam
(12)
Follower Release
(13)
Tilt Lever Assembly
(14)
L/H Tilt Spring
(15)
Pinch Bolt Nut