GM Service Manual Online
For 1990-2009 cars only
Figure 1:

Forward Lamp


Object Number: 1470400  Size: MF
(1)G101
(2)Horn Assembly
(3)Hood Ajar Switch (AP3)
(4)Ambient Air Temperature Sensor
(5)G102
(6)C110 Forward Lamp Harness to Headlamp - RH
(7)Fog Lamp - RF
(8)Fog Lamp - LF
(9)Windshield Washer Fluid Pump
(10)Windshield Washer Fluid Level Switch
(11)Fuse Block - Underhood C3
(12)C109 Forward Lamp Harness to Headlamp - LH
Figure 2:

Front Headlamp Splices


Object Number: 1859989  Size: LF
(1)C109
(2)S113
(3)Park/Turn Signal Lamp-LF
(4)Park/Turn Signal Lamp-RF
(5)S112
(6)C110
(7)Headlamp Assembly-Right
(8)Headlamp assembly-Left
Figure 3:

Front ABS Harnesses


Object Number: 1469960  Size: MF
(1)C102
(2)C101
(3)LF Strut Tower
(4)Wheel Speed Sensor (WSS) - LF Connector
(5)RF Strut Tower
(6)Wheel Speed Sensor (WSS) - RF Connector
Figure 4:

Body Harness - Engine Compartment (Coupe)


Object Number: 1577052  Size: LF
(1)RF Strut Tower
(2)C102 (JL9/J67)
(2)Electronic Brake Comtrol Module (EBCM) Connector (JL9/J67)
(4)C101 (JL9/J67)
(5)LF Strut Tower
(6)Fuse Block - Underhood C4
(7)Fuse Block - Underhood C2
(8)C108
(9)Powertrain Control Module (PCM) C1 (LX9) or Engine Control Module (ECM) C1 (LZ9)
(10)G109
Figure 5:

Body Harness Engine Compartment


Object Number: 1470404  Size: LF
(1)Windshield Wiper Motor Assembly
(2)C101 Body Harness to Wheel Speed Sensor (WSS) Harness - LF
(3)Electronic Brake Control Module (EBCM) (JL9)
(4)Fuse Block - Underhood C4
(5)Fuse Block - Underhood C2
(6)C108 Body Harness to Engine Harness
(7)Powertrain Control Module (PCM) C1
(8)G109
(9)Inflatable Restraint Front End Discriminating Sensor - Left
(10)Inflatable Restraint Front End Discriminating Sensor - Right
(11)C102 Body Harness to Wheel Speed Sensor (WSS) Jumper Harness - RF
(12)A/C Refrigerant Pressure Sensor
(13)Coolant Level Switch
(14)Brake Fluid Level Switch
Figure 6:

Front of the Engine (LE5)


Object Number: 1555567  Size: LF
(1)Mass Air Flow (MAF) Sensor Connector
(2)S101
(3)G106
(4)Fuse Block - Underhood C1
(5)C108
(6)C100
(7)S118
(8)G105
(9)C130
Figure 7:

Engine Front


Object Number: 1469967  Size: LF
(1)C130
(2)S119
(3)S118
(4)Fuse Block - Underhood C1
(5)C108
(6)Powertrain Control Module (PCM) C3
(7)Powertrain Control Module (PCM) C2
(8)C100
(9)Cooling Fan - Left Connector
(10)G105
(11)S111
(12)Cooling Fan - Right Connector
(13)A/C Compressor Clutch Connector
(14)Mass Air Flow (MAF) / Intake Air Temperature (IAT) Sensor Connector
Figure 8:

Front of the Engine (LZ9 w/MT2)


Object Number: 1554529  Size: LF
(1)C130
(2)G105
(3)Fuse Block - Underhood C1
(4)C108
(5)S118
(6)S119
(7)S111
(8)G106
(9)Engine Block
Figure 9:

Front of the Engine (LZ9 w/M15)


Object Number: 1554527  Size: LF
(1)C130
(2)Throttle Actuator Control (TAC) Module Connector
(3)G105
(4)C108
(5)Fuse Block Underhood C1 Connector
(6)Transmission Control Module (TCM) Connector
(7)S118
(8)S119
(9)Transmission
(10)S111
(11)Cooling Fan - Right Connector
(12)G106
Figure 10:

Front View of Engine (LY7)


Object Number: 1858147  Size: LF
(1)G113
(2)S199
(3)C108
(4)C130
Figure 11:

Injector Harness (LZ9)


Object Number: 1554526  Size: LF
(1)S130
(2)Lower Intake Manifold
(3)C130
(4)Camshaft Position (CMP) Sensor Connector
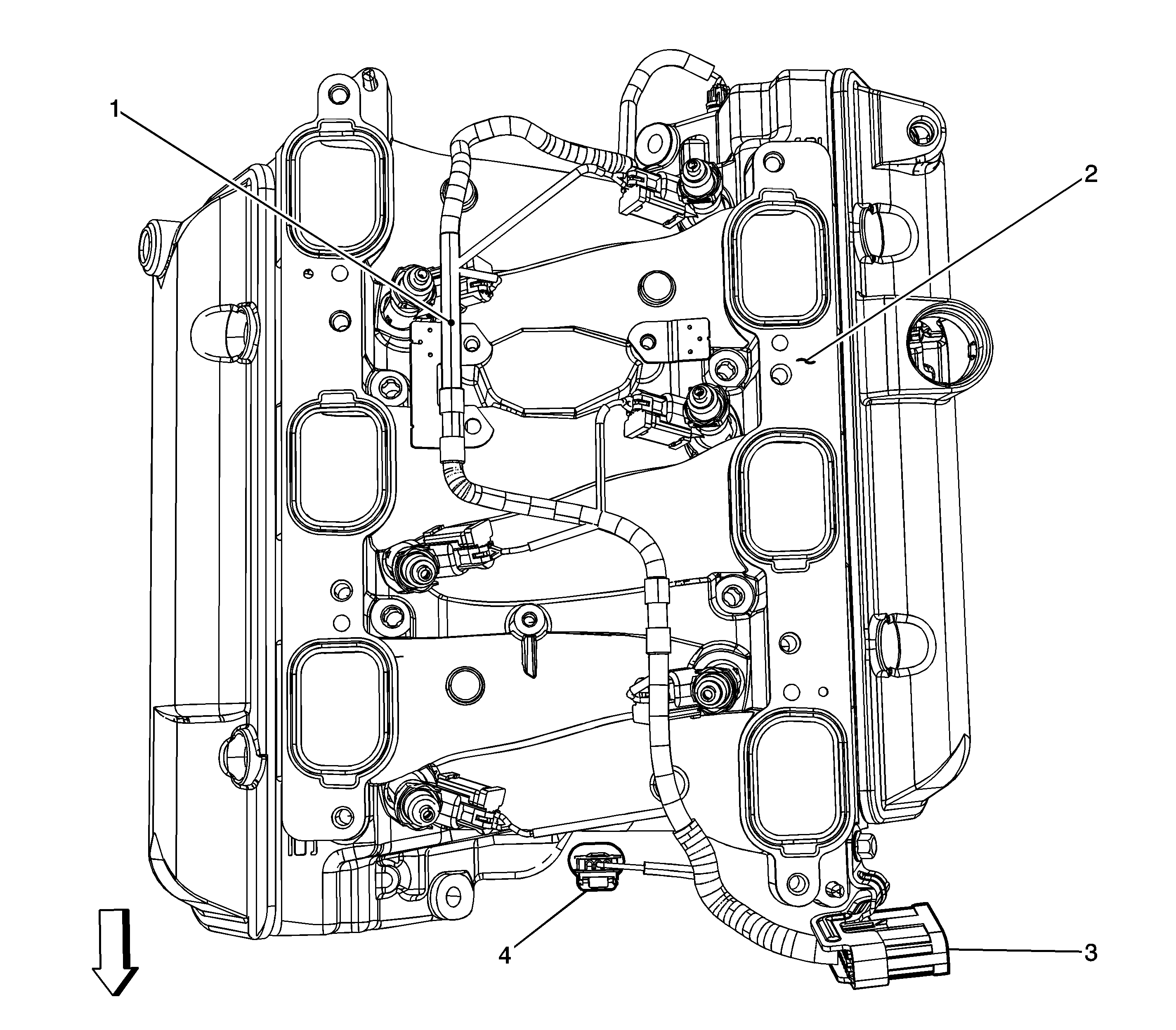
Figure 12:

Rear of the Engine (LE5)


Object Number: 1555566  Size: LF
(1)C108
(2)G110
(3)S101
(4)Cylinder Head
(5)Vehicle Speed Sensor (VSS) Connector
(6)C100
(7)Fuse Block - Underhood C1
Figure 13:

Engine Rear


Object Number: 1469980  Size: LF
(1)C108
(2)Powertrain Control Module (PCM) C3
(3)Powertrain Control Module (PCM) C2
(4)S118
(5)C100
(6)Exhaust Gas Recirculation (EGR) Valve Connector
(7)Generator Connector
(8)Heated Oxygen Connector (HO2S) Bank 1 Sensor 1 Connector
(9)Vehicle Speed Sensor (VSS) Connector
(10)Park/Neutral Position (PNP) Switch Connector
(11)G106
(12)Fuse Block - Underhood C1
Figure 14:

Rear of the Engine (LZ9 w/MT2)


Object Number: 1554530  Size: LF
(1)Generator Connector
(2)C130
(3)Camshaft Position (CMP) Actuator Solenoid
(4)Cooling Fan - Right Connector
(5)Transmission
(6)Knock Sensor Connector
Figure 15:

Rear View of Engine (LY7)


Object Number: 1858150  Size: LF
(1)G105
(2)Throttle Actuator Control (TAC) Module
(3)S198
(4)G108
(5)G111
Figure 16:

Left Side of Engine (LZ4/LZ9)


Object Number: 1858134  Size: LF
(1)G106
(2)Park/Neutral Position (PNP) Switch
(3)Fuse Block - Underhood
(4)C108
(5)Engine Control Module (ECM)
(6)C103
(7)G105
Figure 17:

Left Rear of Engine Compartment


Object Number: 1709015  Size: LF
(1)Brake Fluid Pressure Sensor (FX3)
(2)C104 (FX3)
Figure 18:

I/P Harness Left Side of Console


Object Number: 1470402  Size: LF
(1)Ambient Light Sensor
(2)Theft Deterrent Control Module
(3)Ignition Switch
(4)C216 I/P Harness to Inflatable Restraint I/P Module Harness
(5)C206 I/P Harness to Body Harness
(6)Adjustable Pedal Module (JF4)
(7)Data Link Connector (DLC)
(8)Power Steering Control Module
(9)Brake Pedal Position Sensor
(10)Adjustable Pedal Position Sensor (JF4)
(11)Adjustable Accelerator Pedal Position Motor (JF4)
(12)Accelerator Pedal Position (APP) Sensor
(13)Air Temperature Actuator
(14)Body Control Module (BCM) C3
(15)Body Control Module (BCM) C2
(16)Radio Connectors
(17)HVAC Control Module C2
(18)HVAC Control Module C1
Figure 19:

I/P Harness Right Side of Console


Object Number: 1470401  Size: LF
(1)GPS Coax - to the VCIM (UE1)
(2)C207 I/P Harness to Body Harness
(3)C291 I/P to Antenna Pigtail (UE1)
(4)Blower Motor Resistor Assembly
(5)G203
(6)G201
(7)Blower Motor
(8)Recirculation Actuator
(9)Cell Phone Coax - to the VCIM (UE1)
(10)Vehicle Communication Interface Module (VCIM) Connectors (UE1)
Figure 20:

Body Harness - Passenger Compartment (Coupe)


Object Number: 1577057  Size: LF
(1)C319 (AY0)
(2)C351 (UE1)
(3)C304
(4)C300
(5)C308 (AY0)
(6)C208
(7)C206
(8)C203
(9)C500
(10)G303
(11)C214
(12)Body Control Module (BCM) C3
(13)C207
(14)C600
(15)G305
(16)G304
(17)C216
(18)C310
(19)C309 (AY0)
(20)C305
(21)G301
(22)C320 (AY0)
(23)Fuse Block - Rear C4
(24)Fuse Block - Rear C1
(25)G302
Figure 21:

Body Harness Front Compartment


Object Number: 1470406  Size: LF
(1)C308 Body Harness to Driver Seat Inflatable Restraint Module
(2)Park Brake Switch
(3)A/T Shift Lock Control Assembly
(4)C208 Body Harness to Inflatable Restraint Steering Wheel Module
(5)C206 Body Harness to I/P Harness
(6)C500 Body Harness to Driver Door Harness
(7)G303
(8)C214 Body Harness to Console Harness
(9)Body Control Module (BCM) C3
(10)C208 Body Harness to Inflatable Restraint Side Impact Sensor (SIS)
(11)C203 Coax Cable - AM/FM
(12)C600 Body Harness to Passenger Door Harness
(13)G305
(14)G304
(15)C206 Body Harness to I/P Harness
(16)Body Control Module (BCM) C1
(17)C309 Body Harness to Passenger Seat Inflatable Restraint Module
(18)C310 Body Harness to Passenger Seat Harness
(19)Seat Belt Pretensioner - RF
(20)C800 Body Harness to Right Rear Door Harness
(21)Inflatable Restraint Sensing and Diagnostic Module (SDM)
(22)C300 Body Harness to Driver Seat Harness
(23)Seat Belt Pretensioner - LF
(24)C700 Body Harness to Left Rear Door Harness
Figure 22:

Lower Left Side of I/P


Object Number: 1724515  Size: LF
(1)Body Harness
(2)Headliner Harness (Convertible)
(3)C200 Body Harness to Headliner Harness (Convertible)
(4)G303
Figure 23:

Under Driver/Passenger Seats


Object Number: 1724543  Size: LF
(1)Passenger Seat
(2)Driver Seat
(3)C302 Body Harness to Inflatable Restraint Side Impact Module Harness (AY0)
(4)C300 Body Harness to Driver Seat Harness
(5)C301 Body Harness to Inflatable Restraint Side Impact Module Harness (AY0)
(6)C310 Body Harness to Passenger Seat Harness
Figure 24:

Underneath Passenger Seat


Object Number: 1860043  Size: LF
(1)Passenger Seat
(2)Heated Seat Module
(3)C307
(4)S305
(5)Inflatable Restraint Passenger Presence System (PPS) Module
(6)Heated Seat Element
Figure 25:

Driver Door


Object Number: 1469942  Size: LF
(1)Window Switch - Driver C1
(2)Window Switch - Driver C2
(3)Door Frame
(4)C500
(5)Speaker - LF Door
(6)Rear Compartment Lid Release Switch Connector
(7)Window Motor Connector
(8)Door Latch Assembly
Figure 26:

LF Door Harness (Coupe/Convertible)


Object Number: 1577077  Size: LF
(1)Door Frame
(2)Outside Rearview Mirror Connector
(3)C500
(4)Speaker - LF Connector
Figure 27:

Left Front Door Trim Pad


Object Number: 1567355  Size: MF
(1)Speaker - LF Door Tweeter
(2)Speaker to Door Trim Pad Harness Connector
(3)Door Lock Switch - Driver
(4)C501
(5)Rear Compartment Lid Release Switch - Interior
Figure 28:

Front Passenger Door


Object Number: 1469936  Size: LF
(1)Door Frame
(2)Window Switch - Passenger
(3)Door Latch Assembly
(4)Speaker - RF Door Connector
(5)C600
Figure 29:

RF Door Harness (Coupe/Convertible)


Object Number: 1577080  Size: LF
(1)C600
(2)Outside Rearview Mirror Connector
(3)Door Frame
(4)Window Switch - Passenger Connector
Figure 30:

Right Front Door Trim Pad


Object Number: 1567356  Size: MF
(1)Speaker - RF Door Tweeter
(2)Speaker to Door Trim Pad Harness Connector
(3)Door Lock Switch - Passenger
(4)C601
Figure 31:

Driver Seat


Object Number: 1469963  Size: LF
(1)Seat Rear Vertical Motor (AG1)
(2)C300
(3)Seat Adjuster Switch - Driver (AG1/ASN)
(4)Heated Seat Switch Connector (KA1)
(5)Seat Front Vertical Motor (AG1)
(6)Seat Horizontal Motor (AG1)
Figure 32:

Headliner Harness (Coupe)


Object Number: 1577069  Size: LF
(1)Headliner
(2)Sunroof Control Module Connector (CF5)
(3)C351 (UE1)
(4)Fuse Block - Rear (C3)
(5)Vanity Mirror Lamp - Left Connector (DH6)
Figure 33:

Headliner Harness (w/o CF5)


Object Number: 1469985  Size: MF
(1)Headliner
(2)Fuse Block - Rear C3
(3)C351 (UE1)
(4)C415 (C3Y)
(5)Vanity Mirror Lamp - Left Connector (DH6)
(6)Inside Rearview Mirror Connector (UE1)
Figure 34:

Headliner Harness (CF5)


Object Number: 1469989  Size: MF
(1)Vanity Mirror Lamp - Right Connector (DH6)
(2)Sunroof Module Connector (CF5)
(3)Fuse Block - Rear C3
(4)C351 (UE1)
(5)Vanity Mirror Lamp - Left Connector (DH6)
(6)Inside Rearview Mirror Connector (UE1)
(7)Headliner
Figure 35:

LR Door (Sedan)


Object Number: 1470013  Size: LF
(1)Window Motor Connector
(2)Door Frame
(3)Door Latch Assembly Connector
(4)Speaker Connector
(5)C700
Figure 36:

RR Door (Sedan)


Object Number: 1469993  Size: LF
(1)Door Frame
(2)C800
(3)Window Motor Connector
(4)Speaker Connector
(5)Door Latch Assembly Connector
Figure 37:

Body Harness Rear Compartment


Object Number: 1470407  Size: LF
(1)Rear Compartment Lid Release Switch
(2)Center High Mounted Stop Lamp (CHMSL)
(3)Rear Compartment Courtesy Lamp
(4)Fuse Block - Rear C4
(5)Fuse Block - Rear C1
(6)Speaker - LR
(7)C319 Body Harness to Roof Rail Inflatable Restraint Module - LH (AY0)
(8)Rear Window Defogger Grid C1
(9)G302
(10)C351 Body Harness to Headliner Harness (UE1)
(11)Antenna Amplifier Module C1
(12)Coax AM/FM
(13)C413 Body Harness to Fuel Tank Harness
(14)C403 Body Harness to Wheel Speed Sensor (WSS) Jumper Harness - RR/LR
(15)G301
(16)C320 Body Harness to Roof Rail Inflatable Restraint Module - RH (AY0)
(17)Digital Radio Receiver (U2K)
(18)Rear Window Defogger Grid C2
(19)Audio Amplifier Connectors (U85)
(20)Speaker - RR
(21)Remote Control Door Lock Receiver (RCDLR) (AU0)
(22)Rear Compartment Lid Pulldown Actuator
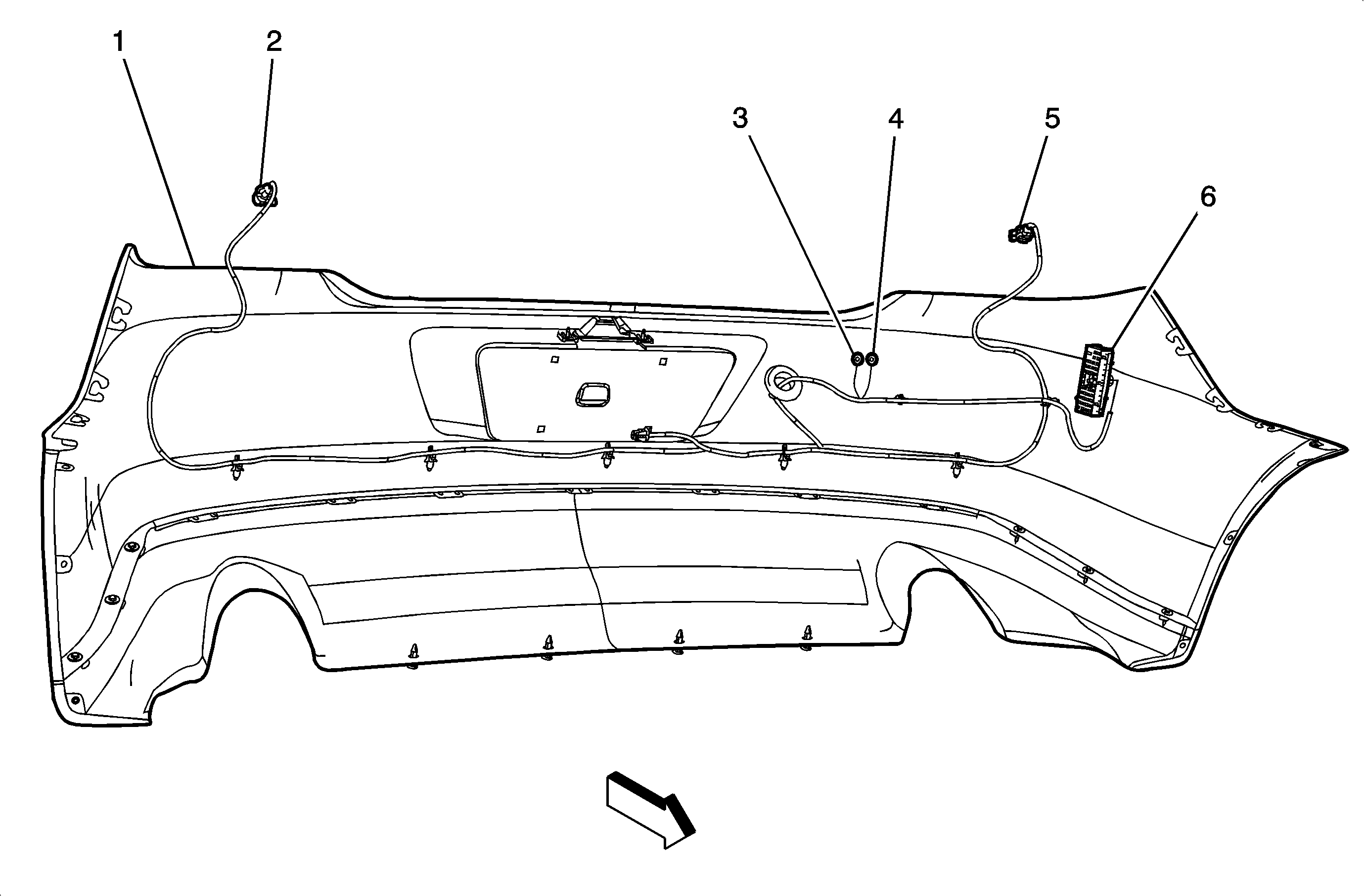
Figure 38:

Rear Lamp Harness (Coupe)


Object Number: 1577065  Size: MF
(1)Rear Fascia
(2)C402
(3)G403
(4)G401
(5)C401
(6)Fuse Block - Rear C2
Figure 39:

Rear Fascia


Object Number: 1470409  Size: LF
(1)C402 Rear Lamp Harness to RR Tail Lamp Harness
(2)License Lamp Connector
(3)G401
(4)G403
(5)C401 Rear Lamp Harness to LR Tail Lamp Harness
(6)Rear Junction Block C1
Figure 40:

Under Vehicle Forward of RR Wheel


Object Number: 1263945  Size: MF
(1)C403
(2)C413