GM Service Manual Online
For 1990-2009 cars only
Makes
🢒
Pontiac
🢒
2007
🢒
G6
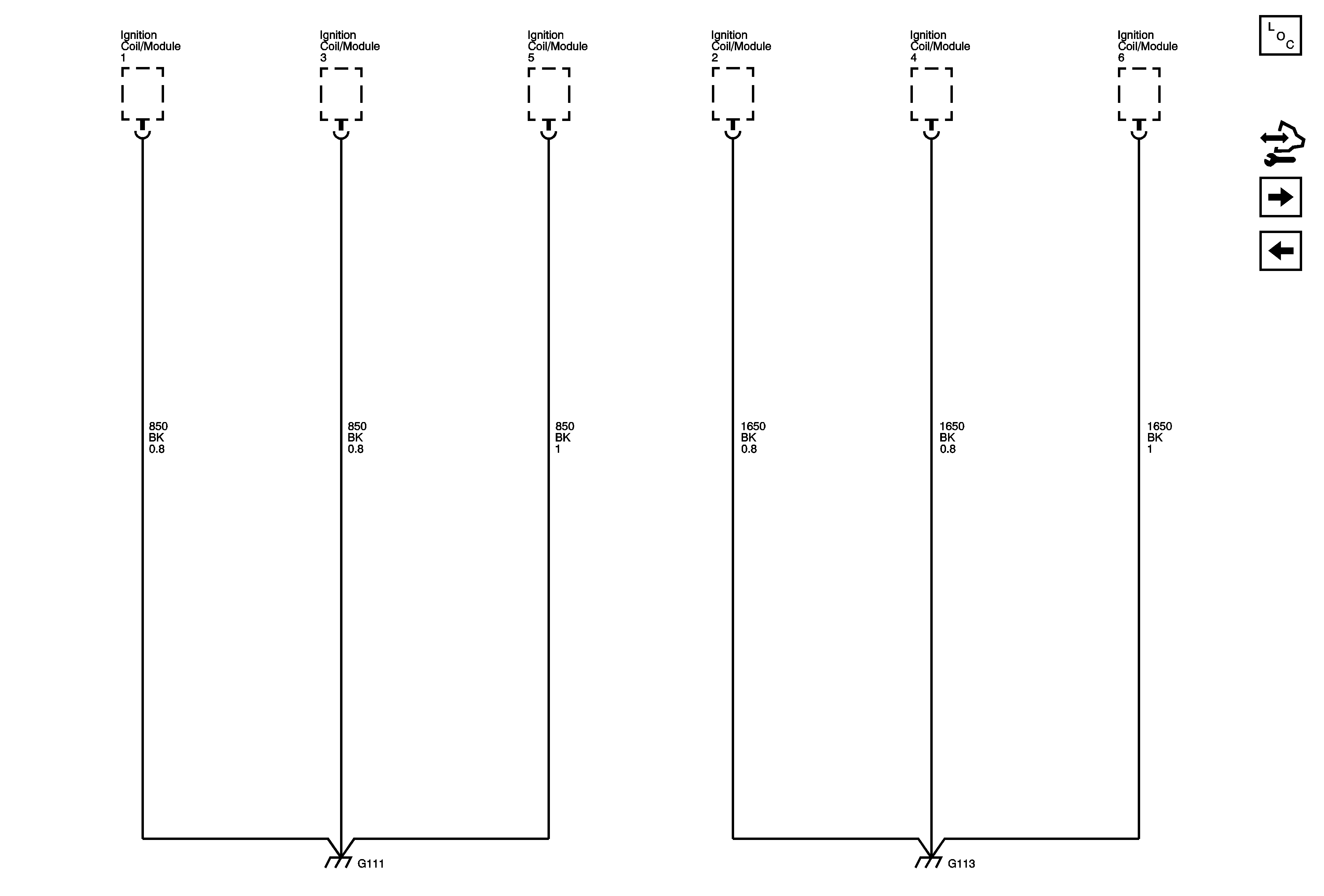
🢒 G111 and G113
G111 and G113
G111 and G113
Master Electrical Component List
Control Module References
G201
G110 (LE5)