GM Service Manual Online
For 1990-2009 cars only

Storing a Flat Tire and Tools -- All Models Except GXP and Retractable Hardtop

Caution: Storing a jack, a tire, or other equipment in the passenger compartment of the vehicle could cause injury. In a sudden stop or collision, loose equipment could strike someone. Store all these in the proper place.

To store the flat tire and jack in the compact spare tire compartment:

  1. Open the trunk. See Trunk.
  2. Remove the bolt extension (in the yellow sleeve) from the jack and remove the center cap from the wheel.

  3. Object Number: 1225650  Size: B3
  4. Collapse the wrench using the same button used to extend it.
  5. Attach the wrench to the jack by placing the tab on the wrench into the hole on the side of the jack. Then place the wrench handle over the tab on the side of the jack.

  6. Object Number: 2064237  Size: A2

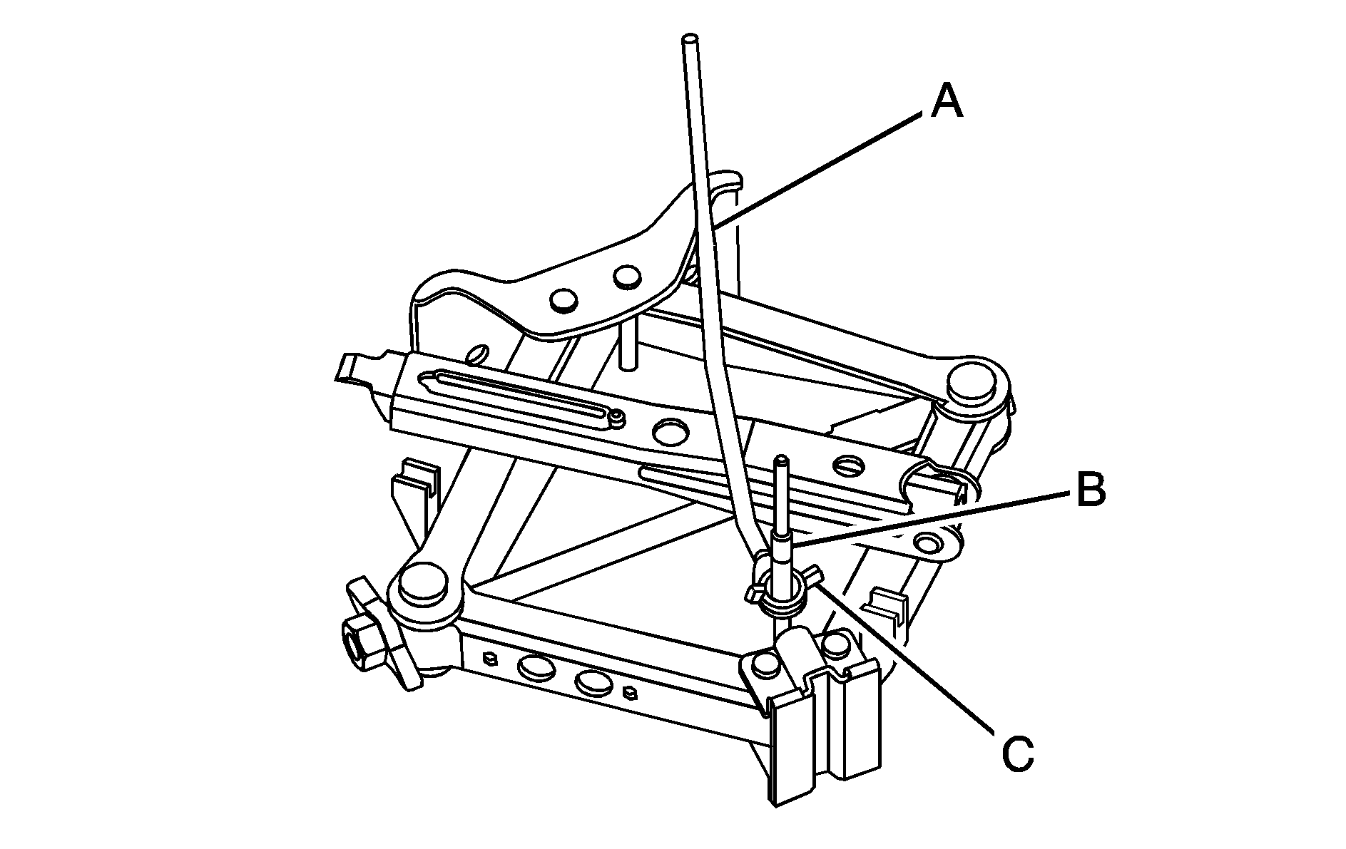
    Raise the jack to the height shown and lock the wrench onto the jack.


    Object Number: 1518593  Size: B3
  7. Place the jack over the bolt (A) on the floor, making sure it contacts the bolt. Thread the jack retainer nut until it contacts the jack.
  8. With the valve stem up, place the tire on the compartment floor with the rear of the tire under the trim panel. The tire may not lay completely flat.
  9. Line up the bolt with the wheel center.
  10. With the yellow cap in place to prevent the wheel from being scratched, screw the bolt extension onto the bolt through the wheel center hole.
  11. Remove the yellow cap from the bolt extension.
  12. Secure the tire and wheel with the larger wing nut.

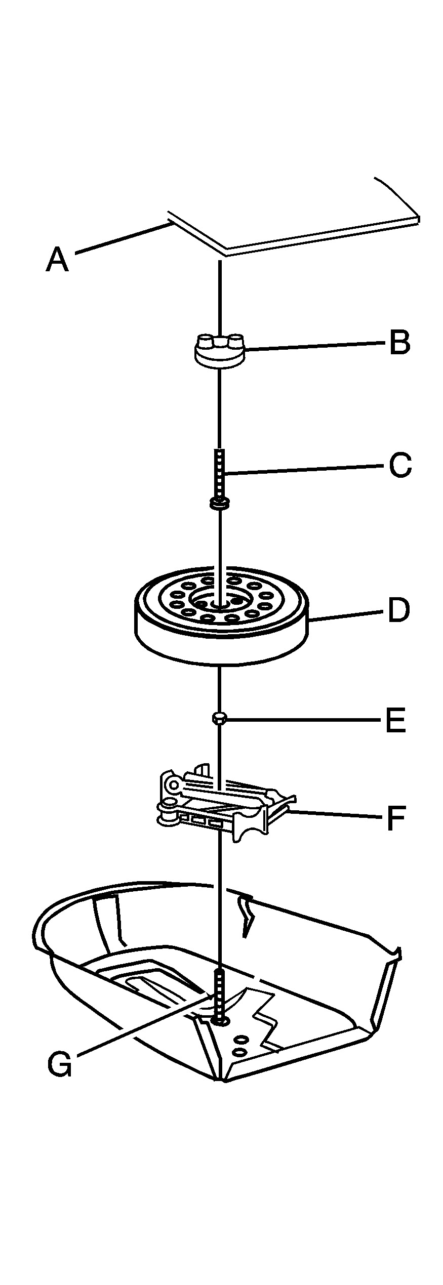
Object Number: 2066100  Size: A4
  1. Cover

  2. Wing Nut

  3. Extension

  4. Flat Tire (valve stem up)

  5. Nut

  6. Jack

  7. Bolt

The compact spare is for temporary use only. Replace the compact spare tire with a full-size tire as soon as you can. See Compact Spare Tire.

Storing a Flat Tire and Tools -- GXP and Retractable Hardtop Models

To store the flat tire and jack in the compact spare tire compartment:

  1. Make sure the retractable hardtop is in the up position.
  2. Open the trunk. See Trunk.
  3. If you have a retractable hardtop model, unlatch the trunk cargo cover so that it is in the open position.
  4. Remove the bolt extension (in the yellow sleeve) from the jack and remove the center cap from the wheel.

  5. Object Number: 1225650  Size: B3
  6. Collapse the wrench using the same button used to extend it.
  7. Attach the wrench to the jack by placing the tab on the wrench into the hole on the side of the jack. Then place the wrench handle over the tab on the side of the jack.

  8. Object Number: 2064237  Size: A2

    Raise the jack to the height shown and lock the wrench onto the jack.


    Object Number: 1554321  Size: B3
  9. Place the jack over the bolt (B) on the floor, making sure it contacts the bolt.
  10. Place the extension bolt (A) onto the bolt (B).
  11. Thread the jack retainer nut (C) until it is at or near the end of the threads.
  12. While placing the flat tire in the wheel tub, reach under the wheel and lift the extension bolt so the threaded end of the bolt passes through the center hole of the wheel.
  13. Remove the yellow cap.
  14. Secure the tire and wheel with the larger wing nut.
  15. Replace the cover.

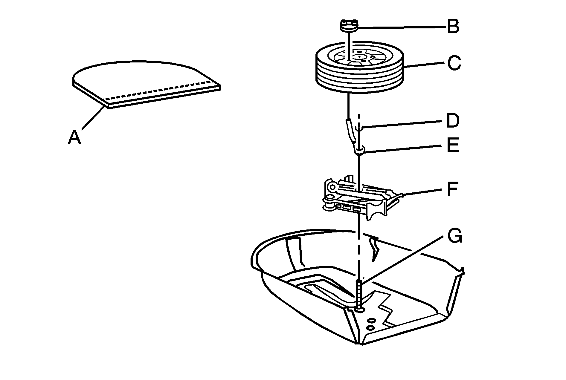
Object Number: 1910986  Size: B3
  1. Cover

  2. Retainer

  3. Flat Tire (Valve Stem Up)

  4. Nut

  5. Bolt Extension

  6. Jack and Wheel Wrench

  7. Bolt

The compact spare tire is for temporary use only. Replace the compact spare tire with a full-size tire as soon as you can. See Compact Spare Tire.

Storing the Spare Tire and Tools -- All Models Except Retractable Hardtop

Caution: Storing a jack, a tire, or other equipment in the passenger compartment of the vehicle could cause injury. In a sudden stop or collision, loose equipment could strike someone. Store all these in the proper place.

  1. Open the trunk. See Trunk.

  2. Object Number: 1225650  Size: B3
  3. Collapse the wrench using the same button used to extend it.
  4. Attach the wrench to the jack by placing the tab on the wrench into the hole on the side of the jack. Then place the wrench handle over the tab on the side of the jack.

  5. Object Number: 2064237  Size: A2

    Raise the jack to the height shown and lock the wrench onto the jack.

  6. Place the jack in the spare tire well. Make sure the stow bolt goes through the hole in the center of the wrench on the jack, with the base of the jack towards the front of the vehicle. Turn the jack retainer nut until it firmly contacts the wrench. Do not over tighten.
  7. Place the compact spare into the tire compartment with the stow bolt going through the center hole of the wheel.
  8. Turn the spare tire retainer nut until it firmly contacts the wheel. Do not over tighten.

Storing the Spare Tire and Tools -- Retractable Hardtop Models


Object Number: 2064657  Size: A2

Follow the previous instructions except turn the jack so the lift arm is parallel to the rear of the vehicle when placing it in the spare tire compartment.