GM Service Manual Online
For 1990-2009 cars only
Connector 1: X100 Engine Side to Transmission Side (LZ9 with M15)
Connector 2: X100 Engine Side to Transmission Side (LE5/LZ4 with MN5)
Connector 3: X101 Left Front ABS Harness to Body Harness
Connector 4: X102 Right Front ABS Harness to Body Harness
Connector 5: X103 Engine Harness to Body Harness (LZ4/LZ9)
Connector 6: X108 Engine Harness to Body Harness (LE5)
Connector 7: X108 Engine Harness to Body Harness (LY7)
Connector 8: X108 Engine Harness to Body Harness (LZ4/LZ9)
Connector 9: X109 Forward Lamp Harness to Left Headlamp Harness
Connector 10: X110 Forward Lamp Harness to Right Headlamp Harness
Connector 11: X130 Engine Harness to Fuel Injector Harness (LE5)
Connector 12: X130 Engine Harness to Fuel Injector Harness (LY7)
Connector 13: X130 Engine Harness to Fuel Injector Harness (LZ4/LZ9)
Connector 14: X200 Headliner Harness to Body Harness (Convertible)
Connector 15: X206 Instrument Panel Harness to Body Harness
Connector 16: X207 Instrument Panel Harness to Body Harness
Connector 17: X208 Instrument Panel Harness to Body Harness
Connector 18: X214 Body Harness to Console Harness
Connector 19: X216 Passenger Inflatable Restraint Harness to Body Harness
Connector 20: X300 Body Harness to Driver Seat Harness
Connector 21: X307 Passenger Seat Heater Jumper Harness to Passenger Seat Harness (KA1)
Connector 22: X308 Body Harness to Left Seat Inflatable Restraint Side Impact Module Jumper Harness (AJ7/AY0)
Connector 23: X309 Body Harness to Right Seat Inflatable Restraint Side Impact Module Jumper Harness (AJ7/AY0)
Connector 24: X310 Body Harness to Passenger Seat Harness
Connector 25: X319 Body Harness to Left Roof Rail Module Harness (AY0/AY1)
Connector 26: X320 Body Harness to Right Roof Rail Module Harness (AY0/AY1)
Connector 27: X351 Headliner Harness to Body Harness (UE1)
Connector 28: X401 Left Tail Lamp Harness to Rear Lamp Harness (Convertible)
Connector 29: X401 Rear Lamp Harness to Left Tail Lamp Harness (Coupe/Sedan)
Connector 30: X402 Right Tail Lamp Harness to Rear Lamp Harness (Convertible)
Connector 31: X402 Rear Lamp Harness to Right Tail Lamp Harness (Coupe/Sedan)
Connector 32: X403 Body Harness to Rear Wheel Speed Sensor Harness
Connector 33: X413 Fuel Sender Harness to Body Harness
Connector 34: X415 Headliner Harness to Sunroof Harness (C3Y)
Connector 35: X416 Rear Lamp Harness to License Lamp Harness
Connector 36: X500 Body Harness to Left Front Door Harness
Connector 37: X501 Left Front Door Harness to Left Front Door Trim Pad Harness
Connector 38: X600 Body Harness to Right Front Door Harness
Connector 39: X601 Right Front Door Harness to Right Front Door Trim Pad Harness
Connector 40: X700 Body Harness to Left Rear Door Harness (Sedan)
Connector 41: X800 Body Harness to Right Rear Door Harness (Sedan)

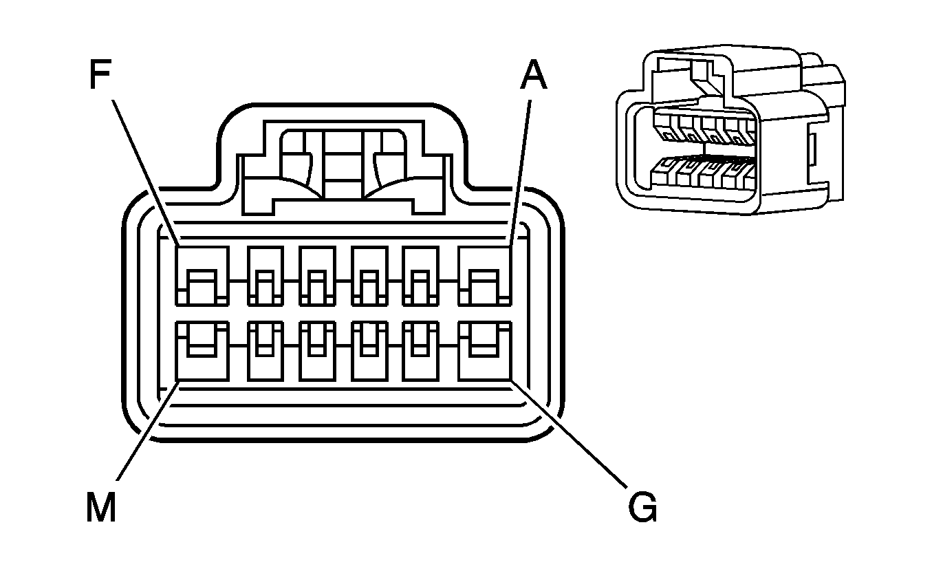
X100 Engine Side to Transmission Side (LZ9 with M15)


Object Number: 1067511  Size: CH

Object Number: 553616  Size: CH

Connector Part Information

  • OEM: 15483054
  • Service: 88988728
  • Description: 20-Way F Micro-Pack 100W Series (BK)

Terminal Part Information

  • Terminal/Tray: 12084913
  • Core/Insulation Crimp: C
  • Release Tool/Test Probe: See Terminal Repair Kit

Connector Part Information

  • OEM: 15409446
  • Service: Non-Serviceable
  • Description: 20-Way M Micro-Pack 100W (BK)

Terminal Part Information

  • Terminal/Tray: Non-Serviceable
  • Core/Insulation Crimp: Non-Serviceable
  • Release Tool/Test Probe: Non-Serviceable

X100 Engine Side to Transmission Side (LZ9 with M15)

Pin

Wire

Circuit

Function

Pin

Wire

Circuit

Function

A

0.35 L-GN

1222

1-2 Shift Solenoid (SS) Valve Control

A

0.5 L-GN

1222

1-2 Shift Solenoid (SS) Valve Control

B

0.35 YE/BK

1223

2-3 Shift Solenoid (SS) Valve Control

B

0.5 YE

1223

2-3 Shift Solenoid (SS) Valve Control

C

0.35 OG/BK

1228

Pressure Control (PC) Solenoid Valve High Control

C

0.5 PU

1228

Pressure Control (PC) Solenoid Valve High Control

D

0.35 L-BU/WH

1229

Pressure Control (PC) Solenoid Valve Low Control

D

0.5 L-BU

1229

Pressure Control (PC) Solenoid Valve Low Control

E

0.35 PK

39

Ignition Voltage

E

0.5 RD

839

Ignition Voltage

F

0.35 TN/WH

771

Transmission Range Signal A

F

0.5 RD/BK

771

Transmission Range Signal A

G

0.35 YE

772

Transmission Range Signal B

G

0.5 D-GN/WH

772

Transmission Range Signal B

H

0.35 GY

773

Transmission Range Signal C

H

0.5 YE/BK

773

Transmission Range Signal C

J

0.35 WH

776

Transmission Range Signal P

J

0.5 GY/WH

776

Transmission Range Signal P

K

0.35 BK/WH

451

Ground

K

0.5 BK/WH

1050

Ground

L

0.35 YE/BK

1227

Transmission Fluid Temperature (TFT) Sensor Signal

L

0.5 BN

1227

Transmission Fluid Temperature (TFT) Sensor Signal

M

0.35 TN

2762

Low Reference

M

0.5 GY

452

Low Reference

N-R

--

--

Not Used

N-R

--

--

Not Used

S

0.35 OG/BK

1230

Input Speed Sensor (ISS) High Signal

S

0.5 BK

1230

Input Speed Sensor (ISS) High Signal

T

0.35 BN

418

Torque Convertor Clutch Pulse Width Modulated (TCC PWM) Solenoid Valve Control

T

0.5 TN

418

Torque Convertor Clutch Pulse Width Modulated (TCC PWM) Solenoid Valve Control

U

0.35 WH

1804

Torque Convertor Clutch (TCC) Release Switch Signal

U

0.5 WH

1804

Torque Convertor Clutch (TCC) Release Switch Signal

V

0.35 D-BU/WH

1231

Input Speed Sensor (ISS) Low Signal

V

0.5 D-GN

1231

Input Speed Sensor (ISS) Low Signal

W

0.35 OG/BK

1786

Park/Neutral Signal

W

0.5 OG

1786

Park/Neutral Signal

X100 Engine Side to Transmission Side (LE5/LZ4 with MN5)


Object Number: 1067511  Size: CH

Object Number: 553616  Size: CH

Connector Part Information

  • OEM: 15472125
  • Service: Non-Serviceable
  • Description: 20-Way F Micro-Pack 100W Series Sealed (BK)

Connector Part Information

  • OEM: 15443076
  • Service: Non-Serviceable
  • Description: 20-Way M Micro-Pack 100W Series Sealed (BK)

Terminal Part Information

  • Terminal/Tray: 12084913/5
  • Core/Insulation Crimp: W/W
  • Release Tool/Test Probe: 12122523/J-35616-6 (BN)

Terminal Part Information

  • Terminal/Tray: Non-Serviceable
  • Core/Insulation Crimp: Non-Serviceable
  • Release Tool/Test Probe: Non-Serviceable

X100 Engine Side to Transmission Side (LE5/LZ4 with MN5)

Pin

Wire

Circuit

Function

Pin

Wire

Circuit

Function

A

0.35 L-GN

1222

1-2 Shift Solenoid (SS) Valve Control

A

0.5 L-GN

1222

1-2 Shift Solenoid (SS) Valve Control

B

0.35 YE/BK

1223

2-3 Shift Solenoid (SS) Valve Control

B

0.5 YE

1223

2-3 Shift Solenoid (SS) Valve Control

C

0.35 OG/BK

1228

Pressure Control (PC) Solenoid Valve High Control

C

0.5 PU

1228

Pressure Control (PC) Solenoid Valve High Control

D

0.35 L-BU/WH

1229

Pressure Control (PC) Solenoid Valve Low Control

D

0.5 L-BU

1229

Pressure Control (PC) Solenoid Valve Low Control

E

0.35 PK

39

Ignition Voltage

E

0.5 RD

839

Ignition Voltage

F-K

--

--

Not Used

F-K

--

--

Not Used

L

0.35 YE/BK

1227

Transmission Fluid Temperature (TFT) Sensor Signal

L

0.5 BN

1227

Transmission Fluid Temperature (TFT) Sensor Signal

M

0.35 TN

2762

Low Reference

M

0.5 GY

452

Low Reference

N

--

--

Not Used

N

--

--

Not Used

P

0.35 OG

1226

Transmission Fluid Pressure (TFP) Manual Valve Position Switch Signal C

P

0.5 OG

1226

Transmission Fluid Pressure (TFP) Manual Valve Position Switch Signal C

R

0.35 D-BU

1225

Transmission Fluid Pressure (TFP) Manual Valve Position Switch Signal B

R

0.5 D-BU

1225

Transmission Fluid Pressure (TFP) Manual Valve Position Switch Signal B

S

0.35 OG/BK

1230

Input Speed Sensor (ISS) High Signal

S

0.5 BK

1230

Input Speed Sensor (ISS) High Signal

T

0.35 BN

418

Torque Convertor Clutch Pulse Width Modulated (TCC PWM) Solenoid Valve Control

T

0.5 TN

418

Torque Convertor Clutch Pulse Width Modulated (TCC PWM) Solenoid Valve Control

U

0.35 YE

657

Torque Convertor Clutch (TCC) Release Switch Signal

U

0.5 WH

1804

Torque Convertor Clutch (TCC) Release Switch Signal

V

0.35 D-BU/WH

1231

Input Speed Sensor (ISS) Low Signal

V

0.5 D-GN

1231

Input Speed Sensor (ISS) Low Signal

W

--

--

Not Used

W

--

--

Not Used

X101 Left Front ABS Harness to Body Harness


Object Number: 523630  Size: CH

Object Number: 632349  Size: CH

Connector Part Information

  • OEM: 15326801
  • Service: 15306156
  • Description: 2-Way F GT 150 Series Sealed (BK)

Connector Part Information

  • OEM: 15326806
  • Service: 15306166
  • Description: 2-Way M GT 150 Series Sealed (BK)

Terminal Part Information

  • Terminal/Tray: 12191819/8
  • Core/Insulation Crimp: E/A
  • Release Tool/Test Probe: 15315247/J-35616-2A (GY)

Terminal Part Information

  • Terminal/Tray: 15326269/19
  • Core/Insulation Crimp: E/4
  • Release Tool/Test Probe: 15315247/J-35616-3 (GY)

X101 Left Front ABS Harness to Body Harness

Pin

Wire

Circuit

Function

Pin

Wire

Circuit

Function

A

0.35 L-BU

830

Left Front Wheel Speed Sensor Control

A

0.35 L-BU

830

Left Front Wheel Speed Sensor Control

B

0.35 YE

873

Left Front Wheel Speed Sensor Signal

B

0.35 YE

873

Left Front Wheel Speed Sensor Signal

X102 Right Front ABS Harness to Body Harness


Object Number: 523630  Size: CH

Object Number: 632349  Size: CH

Connector Part Information

  • OEM: 15326801
  • Service: 15306156
  • Description: 2-Way F GT 150 Series Sealed (BK)

Connector Part Information

  • OEM: 15326806
  • Service: 15306166
  • Description: 2-Way M GT 150 Series Sealed (BK)

Terminal Part Information

  • Terminal/Tray: See Terminal Repair Kit
  • Core/Insulation Crimp: See Terminal Repair Kit
  • Release Tool/Test Probe: See Terminal Repair Kit

Terminal Part Information

  • Terminal/Tray: 15326269/19
  • Core/Insulation Crimp: E/4
  • Release Tool/Test Probe: 15315247/J-35616-3 (GY)

X102 Right Front ABS Harness to Body Harness

Pin

Wire

Circuit

Function

Pin

Wire

Circuit

Function

A

0.35 L-BU

830

Right Front Wheel Speed Sensor Supply Voltage

A

0.35 D-GN

872

Right Front Wheel Speed Sensor Supply Voltage

B

0.35 YE

873

Right Front Wheel Speed Sensor Signal

B

0.35 TN

833

Right Front Wheel Speed Sensor Signal

X103 Engine Harness to Body Harness (LZ4/LZ9)


Object Number: 646400  Size: CH

Object Number: 684916  Size: CH

Connector Part Information

  • OEM: 15326835
  • Service: 88986255
  • Description: 8-Way F GT 150 Sealed 4.0 (BK)

Connector Part Information

  • OEM: 15326840
  • Service: See Catalog
  • Description: 8-Way M GT 150 Sealed 4.0 (BK)

Terminal Part Information

  • Terminal/Tray: 12191819/8
  • Core/Insulation Crimp: E/A
  • Release Tool/Test Probe: 15315247/J-35616-2A (GY)

Terminal Part Information

  • Terminal/Tray: See Terminal Repair Kit
  • Core/Insulation Crimp: See Terminal Repair Kit
  • Release Tool/Test Probe: See Terminal Repair Kit

X103 Engine Harness to Body Harness (LZ4/LZ9)

Pin

Wire

Circuit

Function

Pin

Wire

Circuit

Function

A

0.35 GY

705

5-Volt Reference

A

0.35 GY

705

5-Volt Reference

B

0.35 D-GN

890

Fuel Tank Pressure Sensor Signal

B

0.35 D-GN

890

Fuel Tank Pressure Sensor Signal

C

0.35 TN

2759

Low Reference

C

0.35 TN

2759

Low Reference

D

0.35 BN/WH

419

Malfunction Indicator Lamp (MIL) Control

D

0.35 BN/WH

419

Malfunction Indicator Lamp (MIL) Control

E

0.35 PU

5526

Tap Up/Tap Down Switch Signal (LZ4/LZ9)

E

0.35 PU

5526

Tap Up/Tap Down Switch Signal (LZ4/LZ9)

F-H

--

--

Not Used

F-H

--

--

Not Used

X108 Engine Harness to Body Harness (LE5)


Object Number: 646400  Size: CH

Object Number: 684916  Size: CH

Connector Part Information

  • OEM: 15326835
  • Service: See Catalog
  • Description: 8-Way F GT 150 Series Sealed (BK)

Connector Part Information

  • OEM: 15326840
  • Service: See Catalog
  • Description: 8-Way M GT 150 4.0 Sealed (BK)

Terminal Part Information

  • Terminal/Tray: See Terminal Repair Kit
  • Core/Insulation Crimp: See Terminal Repair Kit
  • Release Tool/Test Probe: See Terminal Repair Kit

Terminal Part Information

  • Terminal/Tray: See Terminal Repair Kit
  • Core/Insulation Crimp: See Terminal Repair Kit
  • Release Tool/Test Probe: See Terminal Repair Kit

X108 Engine Harness to Body Harness (LE5)

Pin

Wire

Circuit

Function

Pin

Wire

Circuit

Function

A

0.35 TN/BK

2500

High Speed GMLAN Serial Data Bus (+)

A

0.35 TN/BK

2500

High Speed GMLAN Serial Data Bus (+)

B

0.35 TN

2501

High Speed GMLAN Serial Data Bus (-)

B

0.35 TN

2501

High Speed GMLAN Serial Data Bus (-)

C

0.35 YE

492

Mass Air Flow Sensor Signal

C

0.35 YE

492

Mass Air Flow Sensor Signal

D

0.35 TN

472

Intake Air Temperature Sensor Signal

D

0.35 TN

472

Intake Air Temperature Sensor Signal

E

0.35 OG/BK

1786

Ignition Lock Cylinder Control Actuator Signal

E

0.35 OG/BK

1786

Ignition Lock Cylinder Control Actuator Signal

F

0.35 TN/BK

2500

High Speed GMLAN Serial Data Bus (+)

F

0.35 TN/BK

2500

High Speed GMLAN Serial Data Bus (+)

G

0.35 TN

2501

High Speed GMLAN Serial Data Bus (-)

G

0.35 TN

2501

High Speed GMLAN Serial Data Bus (-)

H

0.35 BN

436

AIR Pump Relay Control

H

0.35 BN

436

AIR Pump Relay Control

X108 Engine Harness to Body Harness (LY7)


Object Number: 646400  Size: CH

Object Number: 684916  Size: CH

Connector Part Information

  • OEM: 15326835
  • Service: 88986255
  • Description: 8-Way F GT 150 Sealed 4.0 (BK)

Connector Part Information

  • OEM: 15326840
  • Service: See Catalog
  • Description: 8-Way M GT 150 Sealed 4.0 (BK)

Terminal Part Information

  • Terminal/Tray: 12191818/8
  • Core/Insulation Crimp: See Terminal Repair Kit
  • Release Tool/Test Probe: See Terminal Repair Kit

Terminal Part Information

  • Terminal/Tray: See Terminal Repair Kit
  • Core/Insulation Crimp: See Terminal Repair Kit
  • Release Tool/Test Probe: See Terminal Repair Kit

X108 Engine Harness to Body Harness (LY7)

Pin

Wire

Circuit

Function

Pin

Wire

Circuit

Function

A

0.35 PU

5526

Tap Up/Tap Down Switch Signal

A

0.35 PU

5526

Tap Up/Tap Down Switch Signal

B

0.35 TN

5514

Low Reference

B

0.35 TN

5514

Low Reference

C

0.35 GY

2700

5-Volt Reference

C

0.35 GY

2700

5-Volt Reference

D

0.35 OG/BK

380

A/C Refrigerant Pressure Sensor Signal

D

0.35 OG/BK

380

A/C Refrigerant Pressure Sensor Signal

E

0.35 BN

4

Ignition Voltage

E

0.35 BN

4

Ignition Voltage

F

0.35 TN/WH

2759

Low Reference

F

0.35 TN/WH

2759

Low Reference

G

0.35 TN/BK

2500

High Speed GMLAN Serial Data Bus (+)

G

0.35 TN/BK

2500

High Speed GMLAN Serial Data Bus (+)

H

0.35 TN

2501

High Speed GMLAN Serial Data Bus (-)

H

0.35 TN

2501

High Speed GMLAN Serial Data Bus (-)

X108 Engine Harness to Body Harness (LZ4/LZ9)


Object Number: 646383  Size: CH

Object Number: 632345  Size: CH

Connector Part Information

  • OEM: 15326863
  • Service: 15306381
  • Description: 16-Way F GT 150 Sealed 4.0 (BK)

Connector Part Information

  • OEM: 15326868
  • Service: See Catalog
  • Description: 16-Way M GT 150 Sealed 4.0 (BK)

Terminal Part Information

  • Terminal/Tray: 12191819/8
  • Core/Insulation Crimp: E/A
  • Release Tool/Test Probe: 15315247/J-35616-2A (GY)

Terminal Part Information

  • Terminal/Tray: See Terminal Repair Kit
  • Core/Insulation Crimp: See Terminal Repair Kit
  • Release Tool/Test Probe: See Terminal Repair Kit

X108 Engine Harness to Body Harness (LZ4/LZ9)

Pin

Wire

Circuit

Function

Pin

Wire

Circuit

Function

A

0.35 L-BU

1162

Accelerator Pedal Position (APP) Sensor 2 Signal

A

0.35 L-BU

1162

Accelerator Pedal Position (APP) Sensor 2 Signal

B

0.35 TN

1274

5-Volt Reference

B

0.35 TN

1274

5-Volt Reference

C

0.35 PU

1272

Low Reference

C

0.35 PU

1272

Low Reference

D

0.35 D-GN/WH

465

Fuel Pump Relay Control - Primary

D

0.35 D-GN/WH

465

Fuel Pump Relay Control - Primary

E

0.35 WH

1310

EVAP Canister Vent Solenoid Control

E

0.35 WH

1310

EVAP Canister Vent Solenoid Control

F

0.35 GY

2700

5-Volt Reference

F

0.35 GY

2700

5-Volt Reference

G

0.35 OG/BK

380

A/C Refrigerant Pressure Sensor Signal

G

0.35 OG/BK

380

A/C Refrigerant Pressure Sensor Signal

H

0.35 TN

5514

Low Reference

H

0.35 TN

5514

Low Reference

J

0.35 D-BU

1161

Accelerator Pedal Position Sensor 2 Signal Sensor 1 Signal

J

0.35 D-BU

1161

Accelerator Pedal Position Sensor 2 Signal Sensor 1 Signal

K

0.35 WH/BK

1164

5-Volt Reference

K

0.35 WH/BK

1164

5-Volt Reference

L

0.35 BN

1271

Low Reference

L

0.35 BN

1271

Low Reference

M

0.35 PU

1589

Fuel Level Sensor Signal - Primary

M

0.35 PU

1589

Fuel Level Sensor Signal - Primary

N

0.35 OG/BK

1057

Low Reference

N

0.35 OG/BK

1057

Low Reference

P

0.35 BN

818

Vehicle Speed Signal (VSS) (Sedan)

P

--

--

Not Used

R

0.35 TN/BK

2500

High Speed GMLAN Serial Data Bus (+)

R

0.35 TN/BK

2500

High Speed GMLAN Serial Data Bus (+)

S

0.35 TN

2501

High Speed GMLAN Serial Data Bus (-)

S

0.35 TN

2501

High Speed GMLAN Serial Data Bus (-)

X109 Forward Lamp Harness to Left Headlamp Harness


Object Number: 646169  Size: CH

Object Number: 684802  Size: CH

Connector Part Information

  • OEM: 12146045
  • Service: 12146045
  • Description: 5-Way F Metri-Pack 150 Series Sealed (WH)

Connector Part Information

  • OEM: 12103974
  • Service: 88987990
  • Description: 5-Way M Metri-Pack 150 Series Sealed (WH)

Terminal Part Information

  • Terminal/Tray: 12048074/2
  • Core/Insulation Crimp: E/1
  • Release Tool/Test Probe: 12094429/J-35616-2A (GY)

Terminal Part Information

  • Terminal/Tray: See Terminal Repair Kit
  • Core/Insulation Crimp: See Terminal Repair Kit
  • Release Tool/Test Probe: See Terminal Repair Kit

X109 Forward Lamp Harness to Left Headlamp Harness

Pin

Wire

Circuit

Function

Pin

Wire

Circuit

Function

A

0.5 BK

150

Ground

A

0.5 BK

150

Ground

B

0.35 YE

712

Left Headlamp Low Beam Control

B

0.5 YE

712

Left Headlamp Low Beam Control

C

0.35 D-GN/WH

711

Left Headlamp High Beam Control

C

0.5 L-GN

711

Left Headlamp High Beam Control

D

0.35 L-BU/WH

1314

Left Front Turn Signal Lamp Control

D

0.5 PU

1314

Left Front Turn Signal Lamp Control

E

0.5 BN

9

Park Lamp Control

E

0.5 BN

9

Park Lamp Control

X110 Forward Lamp Harness to Right Headlamp Harness


Object Number: 646169  Size: CH

Object Number: 684802  Size: CH

Connector Part Information

  • OEM: 12146045
  • Service: 12146045
  • Description: 5-Way F Metri-Pack 150 Series Sealed (WH)

Connector Part Information

  • OEM: 12103974
  • Service: 88987990
  • Description: 5-Way M Metri-Pack 150 Series Sealed (WH)

Terminal Part Information

  • Terminal/Tray: 12048074/2
  • Core/Insulation Crimp: E/1
  • Release Tool/Test Probe: 12094429/J-35616-2A (GY)

Terminal Part Information

  • Terminal/Tray: See Terminal Repair Kit
  • Core/Insulation Crimp: See Terminal Repair Kit
  • Release Tool/Test Probe: See Terminal Repair Kit

X110 Forward Lamp Harness to Right Headlamp Harness

Pin

Wire

Circuit

Function

Pin

Wire

Circuit

Function

A

0.5 BK

250

Ground

A

0.5 BK

250

Ground

B

0.5 TN/WH

312

Right Headlamp Low Beam Control

B

0.5 YE

312

Right Headlamp Low Beam Control

C

0.5 L-GN/BK

311

Right Headlamp High Beam Control

C

0.5 L-GN

311

Right Headlamp High Beam Control

D

0.35 D-BU/WH

1315

Right Front Turn Signal Lamp Control

D

0.5 PU

1315

Right Front Turn Signal Lamp Control

E

0.5 BN

9

Park Lamp Control

E

0.5 BN

9

Park Lamp Control

X130 Engine Harness to Fuel Injector Harness (LE5)


Object Number: 646400  Size: CH

Object Number: 684916  Size: CH

Connector Part Information

  • OEM: 15326835
  • Service: 88986452
  • Description: 8-Way F GT 150 Series Sealed (BK)

Connector Part Information

  • OEM: 15326839
  • Service: See Catalog
  • Description: 8-Way M GT 150 Series Sealed (BK)

Terminal Part Information

  • Terminal/Tray: See Terminal Repair Kit
  • Core/Insulation Crimp: See Terminal Repair Kit
  • Release Tool/Test Probe: See Terminal Repair Kit

Terminal Part Information

  • Terminal/Tray: See Terminal Repair Kit
  • Core/Insulation Crimp: See Terminal Repair Kit
  • Release Tool/Test Probe: See Terminal Repair Kit

X130 Engine Harness to Fuel Injector Harness (LE5)

Pin

Wire

Circuit

Function

Pin

Wire

Circuit

Function

A

0.5 TN

1744

Fuel Injector 1 Control

A

0.5 BK

1744

Fuel Injector 1 Control

B

0.5 L-GN/BK

1745

Fuel Injector 2 Control

B

0.5 L-GN/BK

1745

Fuel Injector 2 Control

C

0.5 PK/BK

1746

Fuel Injector 3 Control

C

0.5 PK/BK

1746

Fuel Injector 3 Control

D

0.5 L-BU/BK

844

Fuel Injector 4 Control

D

0.5 L-BU/BK

844

Fuel Injector 4 Control

E

0.5 PK/BK

5292

Ignition Voltage

E

0.5 PK

139

Ignition Voltage

F

0.35 OG/BK

469

Low Reference

F

0.35 OG/BK

469

Low Reference

G

0.35 L-GN

432

Manifold Absolute Pressure Sensor Signal

G

0.35 L-GN

432

Manifold Absolute Pressure Sensor Signal

H

0.35 GY

2704

5-Volt Reference 1

H

0.35 GY

2704

5-Volt Reference 1

X130 Engine Harness to Fuel Injector Harness (LY7)


Object Number: 831368  Size: CH

Object Number: 684916  Size: CH

Connector Part Information

  • OEM: 15326836
  • Service: 88986255
  • Description: 8-Way F GT 150 Series, Sealed (BK)

Connector Part Information

  • OEM: 15326840
  • Service: See Catalog
  • Description: 8-Way M GT 150 Sealed 4.0 (BK)

Terminal Part Information

  • Terminal/Tray: 12191818/8
  • Core/Insulation Crimp: See Terminal Repair Kit
  • Release Tool/Test Probe: See Terminal Repair Kit

Terminal Part Information

  • Terminal/Tray: See Terminal Repair Kit
  • Core/Insulation Crimp: See Terminal Repair Kit
  • Release Tool/Test Probe: See Terminal Repair Kit

X130 Engine Harness to Fuel Injector Harness (LY7)

Pin

Wire

Circuit

Function

Pin

Wire

Circuit

Function

A

0.5 PK/BK

5291

Ignition Voltage

A

0.35 PK/BK

5291

Ignition Voltage

B

0.5 TN

1744

Fuel Injector 1 Control

B

0.5 TN

1744

Fuel Injector 1 Control

C

0.5 PK/BK

1746

Fuel Injector 3 Control

C

0.5 PK/BK

1746

Fuel Injector 3 Control

D

0.5 TN/WH

845

Fuel Injector 5 Control

D

0.5 TN/WH

845

Fuel Injector 5 Control

E

0.5 PK/BK

5292

Ignition Voltage

E

0.35 PK/BK

5292

Ignition Voltage

F

0.5 L-GN/BK

1745

Fuel Injector 2 Control

F

0.5 L-GN/BK

1745

Fuel Injector 2 Control

G

0.5 L-BU/BK

844

Fuel Injector 4 Control

G

0.5 L-BU/BK

844

Fuel Injector 4 Control

H

0.5 YE/BK

846

Fuel Injector 6 Control

H

0.5 YE/BK

846

Fuel Injector 6 Control

X130 Engine Harness to Fuel Injector Harness (LZ4/LZ9)


Object Number: 646383  Size: CH

Object Number: 632345  Size: CH

Connector Part Information

  • OEM: 15326863
  • Service: 15306410
  • Description: 16-Way F GT 150 Series Sealed (BK)

Connector Part Information

  • OEM: 15326867
  • Service: 15326867
  • Description: 16-Way M GT 150 Series Sealed (BK)

Terminal Part Information

  • Terminal/Tray: 12191819/8
  • Core/Insulation Crimp: E/A
  • Release Tool/Test Probe: 15315247/J-35616-2A (GY)

Terminal Part Information

  • Terminal/Tray: 15326269/19
  • Core/Insulation Crimp: E/1
  • Release Tool/Test Probe: 15315247/J-35616-3 (GY)

X130 Engine Harness to Fuel Injector Harness (LZ4/LZ9)

Pin

Wire

Circuit

Function

Pin

Wire

Circuit

Function

A

0.5 PK/BK

5292

Ignition Voltage

A

0.5 PK

639

Ignition Voltage

B

0.35 YE

410

Engine Coolant Temperature Sensor Signal

B

0.5 YE

410

Engine Coolant Temperature Sensor Signal

C

0.5 TN

1744

Fuel Injector 1 Control

C

0.5 BK

1744

Fuel Injector 1 Control

D

0.5 L-GN/BK

1745

Fuel Injector 2 Control

D

0.5 OG

1745

Fuel Injector 2 Control

E

0.5 PK/BK

1746

Fuel Injector 3 Control

E

0.5 PK/BK

1746

Fuel Injector 3 Control

F

0.5 L-BU/BK

844

Fuel Injector 4 Control

F

0.5 D-GN

844

Fuel Injector 4 Control

G

0.5 TN/WH

845

Fuel Injector 5 Control

G

0.5 BK/WH

845

Fuel Injector 5 Control

H

0.5 YE/BK

846

Fuel Injector 6 Control

H

0.5 WH

846

Fuel Injector 6 Control

J-K

--

--

Not Used

J-K

--

--

Not Used

L

0.35 TN

2761

Low Reference

L

0.5 OG/BK

469

Low Reference

M

--

--

Not Used

M

--

--

Not Used

N

0.35 OG/WH

812

5-Volt Reference

N

0.5 RD

812

5-Volt Reference

P

0.35 PK/BK

632

Low Reference

P

0.5 BK

407

Low Reference

R

0.35 BN/WH

633

Camshaft Position Sensor Signal

R

0.5 BN/WH

633

Camshaft Position Sensor Signal

S

--

--

Not Used

S

--

--

Not Used

X200 Headliner Harness to Body Harness (Convertible)


Object Number: 646392  Size: CH

Object Number: 655857  Size: CH

Connector Part Information

  • OEM: 15304692
  • Service: See Catalog
  • Description: 18-Way F Global Terminal/Mixed Series (BK)

Connector Part Information

  • OEM: 15336468
  • Service: See Catalog
  • Description: 18-Way M GT 150 280 (BK)

Terminal Part Information

  • Terminal/Tray: See Terminal Repair Kit
  • Core/Insulation Crimp: See Terminal Repair Kit
  • Release Tool/Test Probe: See Terminal Repair Kit

Terminal Part Information

  • Terminal/Tray: See Terminal Repair Kit
  • Core/Insulation Crimp: See Terminal Repair Kit
  • Release Tool/Test Probe: See Terminal Repair Kit

X200 Headliner Harness to Body Harness (Convertible)

Pin

Wire

Circuit

Function

Pin

Wire

Circuit

Function

A1

0.35 WH

5937

Convertible Top Header Latch Switch Signal

A1

0.35 WH

5937

Convertible Top Header Latch Switch Signal

A2

0.35 OG

5933

Convertible Top Position Sensor Signal

A2

0.35 OG

5933

Convertible Top Position Sensor Signal

A3

0.35 D-BU

7165

Convertible Top Close Switch Signal

A3

0.35 D-BU

7165

Convertible Top Close Switch Signal

A4

0.35 BK

1050

Ground

A4

0.35 BK

1050

Ground

0.35 BK

1050

Ground

A5

0.35 GY

157

Courtesy Lamp Control

A5

0.35 GY

157

Courtesy Lamp Control

A6

0.35 BK

1350

Ground

A6

0.35 BK

1350

Ground

A7

0.35 PU

5936

Convertible Top Open Switch Signal

A7

0.35 PU

5936

Convertible Top Open Switch Signal

A8

0.35 OG

1732

Courtesy Lamps Control

A8

0.35 OG

1732

Courtesy Lamps Control

A9

--

--

Not Used

A9

--

--

Not Used

B1

0.35 BK/WH

2515

Keypad Control

B1

0.35 L-GN/BK

2515

Keypad Control

B2

0.35 D-BU

2514

Keypad Signal

B2

0.35 D-GN/WH

2514

Keypad Signal

B3

0.35 GY

2516

Keypad Green LED Signal

B3

0.35 YE/BK

2516

Keypad Green LED Signal

B4

0.35 BK

1050

Ground

B4

0.35 BK

1050

Ground

B5-B6

--

--

Not Used

B5-B6

--

--

Not Used

B7

0.35 BN/WH

2517

Keypad Red LED Signal

B7

0.35 BN/WH

2517

Keypad Red LED Signal

B8

0.35 BARE

1489

Drain Wire

B8

0.35 BARE

1489

Drain Wire

B9

0.35 GY

655

Cellular Microphone Signal

B9

0.35 GY

655

Cellular Microphone Signal

X206 Instrument Panel Harness to Body Harness


Object Number: 655774  Size: CH

Object Number: 655773  Size: CH

Connector Part Information

  • OEM: 15317325
  • Service: 15317325
  • Description: 22-Way F GT 150, 280 Series (L-GY)

Connector Part Information

  • OEM: 15317322
  • Service: See Catalog
  • Description: 22-Way M GT 150, 280 Series (L-GY)

Terminal Part Information

  • Pins: A1-A3, A9, A11, B1-B3, B9, B11
  • Terminal/Tray: 12191812/19
  • Core/Insulation Crimp: E/C
  • Release Tool/Test Probe: 15315247/J-35616-2A (GY)
  • Pins: A4, A6-A8, B4-B5, B7-B8
  • Terminal/Tray: 15304711/8
  • Core/Insulation Crimp: E/A
  • Release Tool/Test Probe: 15315247/J-35616-4A (PU)

Terminal Part Information

  • Pins: A1-A3, A9, A11, B1-B3, B9, B11
  • Terminal/Tray: 15304702/19
  • Core/Insulation Crimp: E/C
  • Release Tool/Test Probe: 15315247/J-35616-3 (GY)
  • Pins: A4, A6-A8, B4-B5, B7-B8
  • Terminal/Tray: 15304722/8
  • Core/Insulation Crimp: E/C
  • Release Tool/Test Probe: 15315247/J-35616-5 (PU)

X206 Instrument Panel Harness to Body Harness

Pin

Wire

Circuit

Function

Pin

Wire

Circuit

Function

A1

0.35 L-BU

1162

Accelerator Pedal Position Sensor 2 Signal

A1

0.35 L-BU

1162

Accelerator Pedal Position Sensor 2 Signal

A2

0.35 TN

1274

5-Volt Reference

A2

0.35 TN

1274

5-Volt Reference

A3

0.35 PU

1272

Low Reference

A3

0.35 PU

1272

Low Reference

A4

0.35 TN/BK

2500

High Speed GMLAN Serial Data Bus +

A4

0.35 TN/BK

2500

High Speed GMLAN Serial Data Bus +

A5

--

--

Not Used

A5

--

--

Not Used

A6

0.35 PK/WH

1970

Headlamp Relay Control

A6

0.35 PK/WH

1970

Headlamp Relay Control

0.35 PK/WH

1970

Headlamp Relay Control

A7

0.35 BN/WH

2517

Keypad Red LED Signal (UE1)

A7

0.35 BN/WH

2517

Keypad Red LED Signal (UE1)

A8

0.35 L-GN/BK

2515

Keypad Control (UE1)

A8

0.35 L-GN/BK

2515

Keypad Control (UE1)

A9

0.35 GY

655

Cellular Microphone Signal (UE1)

A9

0.35 GY

655

Cellular Microphone Signal (UE1)

A10

--

--

Not Used

A10

--

--

Not Used

A11

0.35 BN/WH

419

Malfunction Indicator Lamp (MIL) Control

A11

0.35 BN/WH

419

Malfunction Indicator Lamp (MIL) Control

B1

0.35 D-BU

1161

Accelerator Pedal Position (APP) Sensor 1 Signal

B1

0.35 D-BU

1161

Accelerator Pedal Position (APP) Sensor 1 Signal

B2

0.35 WH/BK

1164

5-Volt Reference

B2

0.35 WH/BK

1164

5-Volt Reference

B3

0.35 BN

1271

Low Reference

B3

0.35 BN

1271

Low Reference

B4

0.35 TN

2501

High Speed GMLAN Serial Data Bus (-)

B4

0.35 TN

2501

High Speed GMLAN Serial Data Bus (-)

B5

0.35 PK

5165

Antenna 14-Volt Switched Control

B5

0.35 PK

5165

Antenna 14-Volt Switched Control

0.35 PK

5165

Antenna 14-Volt Switched Control (U85)

B6

--

--

Not Used

B6

--

--

Not Used

B7

0.35 YE/BK

2516

Keypad Green LED Signal (UE1)

B7

0.35 YE/BK

2516

Keypad Green LED Signal (UE1)

B8

0.35 D-GN/WH

2514

Keypad Signal (UE1)

B8

0.35 D-GN/WH

2514

Keypad Signal (UE1)

B9

0.35 BARE

1489

Drain Wire (UE1)

B9

0.35 BARE

1489

Drain Wire (UE1)

B10

--

--

Not Used

B10

--

--

Not Used

B11

0.35 GY

91

Windshield Wiper Switch Signal 2

B11

0.35 GY

91

Windshield Wiper Switch Signal 2

X207 Instrument Panel Harness to Body Harness


Object Number: 655774  Size: CH

Object Number: 655773  Size: CH

Connector Part Information

  • OEM: 15317325
  • Service: 15317325
  • Description: 22-Way F GT 150, 280 Series (L-GY)

Connector Part Information

  • OEM: 15317322
  • Service: 15317322
  • Description: 22-Way M GT 150, 280 Series (L-GY)

Terminal Part Information

  • Pins: A1-A3, A6-A11, B1-B3, B9-B11
  • Terminal/Tray: 12191812/19
  • Core/Insulation Crimp: E/C
  • Release Tool/Test Probe: 15315247/J-35616-2A (GY)
  • Pins: A4-A6, B4-B6
  • Terminal/Tray: 15304711/8
  • Core/Insulation Crimp: E/A
  • Release Tool/Test Probe: 15315247/J-35616-4A (PU)

Terminal Part Information

  • Pins: A1-A3, A10-A11, B1-B3, B9-B11
  • Terminal/Tray: 15304702/19
  • Core/Insulation Crimp: Pins: A1-A2, B1-B2, B10-B11, A10-A11 : E/4
  • Core/Insulation Crimp: Pins: A2-A3, B1-B3, B9-B11, A10-A11 : E/C
  • Release Tool/Test Probe: 15315247/J-35616-3 (GY)
  • Pins: A4-A6, B4-B6
  • Terminal/Tray: 15304722/8
  • Core/Insulation Crimp: E/C
  • Release Tool/Test Probe: 15315247/J-35616-5 (PU)

X207 Instrument Panel Harness to Body Harness

Pin

Wire

Circuit

Function

Pin

Wire

Circuit

Function

A1

0.5 TN

201

Left Front Speaker Output (+) (UZ6)

A1

0.5 TN

201

Left Front Speaker Output (+) (UZ6)

0.5 TN

511

Left Front Low Level Audio Signal (+) (U85)

0.35 TN

511

Left Front Low Level Audio Signal (+) (U85)

A2

0.5 L-GN

200

Right Front Speaker Output (+) (UZ6)

A2

0.5 L-GN

200

Right Front Speaker Output (+) (UZ6)

0.5 D-GN

512

Right Front Low Level Audio Signal (+) (U85)

0.35 D-GN

512

Right Front Low Level Audio Signal (+) (U85)

A3

0.35 L-BU

1764

Steering Wheel Position Signal B (FX3)

A3

0.35 L-BU

1764

Steering Wheel Position Signal B (FX3)

A4

0.35 TN/WH

372

Audio Common (U2K)

A4

0.35 TN/WH

372

Audio Common (U2K)

A5

0.35 OG

5748

Amplifier Mute (U85)

A5

0.35 OG

5748

Amplifier Mute (U85)

A6

0.35 GY

1056

5-Volt Reference (FX3)

A6

0.35 GY

1056

5-Volt Reference (FX3)

A7-A8

--

--

Not Used

A7-A8

--

--

Not Used

A9

0.35 PU

5234

Front Passenger Seat Belt Indicator Control

A9

0.35 PU

5234

Front Passenger Seat Belt Indicator Control

A10

0.5 D-BU

46

Right Rear Speaker Output (+) (UZ6)

A10

0.5 D-BU

46

Right Rear Speaker Output (+) (UZ6)

0.5 D-BU

546

Right Rear Low Level Audio Signal (+) (U85)

0.35 D-BU

546

Right Rear Low Level Audio Signal (+) (U85)

A11

0.5 BN

199

Left Rear Speaker Output (+) (UZ6)

A11

0.5 BN

199

Left Rear Speaker Output (+) (UZ6)

0.5 BN/WH

599

Left Rear Low Level Audio Signal (+) (U85)

0.35 BN/WH

599

Left Rear Low Level Audio Signal (+) (U85)

B1

0.5 GY

118

Left Front Speaker Output (-) (UZ6)

B1

0.5 GY

118

Left Front Speaker Output (-) (UZ6)

0.5 D-GN

1947

Left Front Low Level Audio Signal (-) (U85)

0.35 D-GN

1947

Left Front Low Level Audio Signal (-) (U85)

B2

0.5 D-GN

117

Right Front Speaker Output (-) (UZ6)

B2

0.5 D-GN

117

Right Front Speaker Output (-) (UZ6)

0.5 L-GN

1948

Right Front Low Level Audio Signal (-) (U85)

0.35 L-GN/BK

1948

Right Front Low Level Audio Signal (-) (U85)

B3

0.35 L-GN

1763

Steering Wheel Position Sensor Signal A (FX3)

B3

0.35 L-GN

1763

Steering Wheel Position Sensor Signal A (FX3)

B4

0.35 BARE

814

Drain Wire (U2K)

B4

0.35 BARE

814

Drain Wire (U2K)

B5

0.35 BN/WH

367

Left Audio Signal (+) (U2K)

B5

0.35 BN/WH

367

Left Audio Signal (+) (U2K)

B6

0.35 D-GN/WH

368

Right Audio Signal (+) (U2K)

B6

0.35 D-GN/WH

368

Right Audio Signal (+) (U2K)

B7-B8

--

--

Not Used

B7-B8

--

--

Not Used

B9

0.35 OG/BK

556

Low Reference (FX3)

B9

0.35 OG/BK

556

Low Reference (FX3)

B10

0.5 L-BU

115

Right Rear Speaker Output (-) (UZ6)

B10

0.5 L-BU

115

Right Rear Speaker Output (-) (UZ6)

0.5 TN

1946

Right Rear Low Level Audio Signal (-) (U85)

0.35 TN

1946

Right Rear Low Level Audio Signal (-) (U85)

B11

0.5 YE

116

Left Rear Speaker Output (-) (UZ6)

B11

0.5 YE

116

Left Rear Speaker Output (-) (UZ6)

0.5 BN

1999

Left Rear Low Level Audio Signal (-) (U85)

0.35 BN

1999

Left Rear Low Level Audio Signal (-) (U85)

X208 Instrument Panel Harness to Body Harness


Object Number: 684936  Size: CH

Object Number: 684931  Size: CH

Connector Part Information

  • OEM: 15422934
  • Service: 88988600
  • Description: 4-Way F Metri-Pack 280 Series (YE)

Connector Part Information

  • OEM: 15336476
  • Service: 15306363
  • Description: 4-Way M Metri-Pack 280 Series (YE)

Terminal Part Information

  • Terminal/Tray: 12034046/2
  • Core/Insulation Crimp: E/A
  • Release Tool/Test Probe: 12094430/J-35616-4A (PU)

Terminal Part Information

  • Terminal/Tray: 12034047/2
  • Core/Insulation Crimp: E/A
  • Release Tool/Test Probe: 12094430/J-35616-5 (PU)

X208 Instrument Panel Harness to Body Harness

Pin

Wire

Circuit

Function

Pin

Wire

Circuit

Function

A1

0.35 TN

3021

Steering Wheel Module - Stage 1 - High Control

A1

0.35 TN

3021

Steering Wheel Module - Stage 1 - High Control

A2

0.35 BN

3020

Steering Wheel Module - Stage 1 - Low Control

A2

0.35 BN

3020

Steering Wheel Module - Stage 1 - Low Control

B1

0.35 WH

3023

Steering Wheel Module - Stage 2 - High Control

B1

0.35 WH

3023

Steering Wheel Module - Stage 2 - High Control

B2

0.35 PK

3022

Steering Wheel Module - Stage 2 - Low Control

B2

0.35 PK

3022

Steering Wheel Module - Stage 2 - Low Control

X214 Body Harness to Console Harness


Object Number: 813079  Size: CH

Object Number: 813080  Size: CH

Connector Part Information

  • OEM: 15336205
  • Service: 88986267
  • Description: 12-Way F GT 150, 280 Series (BK)

Connector Part Information

  • OEM: 15336209
  • Service: 88986259
  • Description: 12-Way M GT 150, 280 Series (BK)

Terminal Part Information

  • Pins: A, F, M
  • Terminal/Tray: 15304711/8
  • Core/Insulation Crimp: Pins: A, F : 2/A
  • Core/Insulation Crimp: Pins: M : E/A
  • Release Tool/Test Probe: 15315247/J-35616-4A (PU)
  • Pins: B-E, K-L
  • Terminal/Tray: 12191812/19
  • Core/Insulation Crimp: E/C
  • Release Tool/Test Probe: 15315247/J-35616-2A (GY)

Terminal Part Information

  • Pins: A-F, K-M
  • Terminal/Tray: See Terminal Repair Kit
  • Core/Insulation Crimp: See Terminal Repair Kit
  • Release Tool/Test Probe: See Terminal Repair Kit

X214 Body Harness to Console Harness

Pin

Wire

Circuit

Function

Pin

Wire

Circuit

Function

A

0.8 RD/WH

40

Battery Positive Voltage

A

0.8 RD/WH

40

Battery Positive Voltage

0.8 RD/WH

40

Battery Positive Voltage

B

0.35 PK

339

Ignition Voltage

B

0.35 PK

339

Ignition Voltage

C

0.35 PU

5234

Front Passenger Seat Belt Indicator Control

C

0.35 PU

5234

Front Passenger Seat Belt Indicator Control

D

0.35 D-BU

2307

Front Passenger Air Bag On Indicator Control

D

0.35 D-BU

2307

Front Passenger Air Bag On Indicator Control

E

0.35 D-GN

2308

Front Passenger Air Bag Off Indicator Control

E

0.35 D-GN

2308

Front Passenger Air Bag Off Indicator Control

F

0.8 BK

1150

Ground

F

0.8 BK

1150

Ground

0.8 BK

1150

Ground

G-J

--

--

Not Used

G-J

--

--

Not Used

K

0.35 GY

8

Instrument Panel Lamps Control (NW7/NW9)

K

0.35 GY

8

Instrument Panel Lamps Control (NW7/NW9)

L

0.35 BN/WH

1571

Traction Control Switch Signal

L

0.35 BN/WH

1571

Traction Control Switch Signal

M

0.35 BK

1050

Ground

M

0.35 BK

1050

Ground

M

0.35 BK

1050

Ground (NW7/NW9)

X216 Passenger Inflatable Restraint Harness to Body Harness


Object Number: 684936  Size: CH

Object Number: 684931  Size: CH

Connector Part Information

  • OEM: 15422934
  • Service: Service by Complete Passenger Inflatable Restraint Harness
  • Description: 4-Way F Metri-Pack 280 Series (YE)

Connector Part Information

  • OEM: 15336476
  • Service: 15306363
  • Description: 4-Way M Metri-Pack 280 Series (YE)

Terminal Part Information

  • Terminal/Tray: See Terminal Repair Kit
  • Core/Insulation Crimp: See Terminal Repair Kit
  • Release Tool/Test Probe: See Terminal Repair Kit

Terminal Part Information

  • Terminal/Tray: 12034047/2
  • Core/Insulation Crimp: E/A
  • Release Tool/Test Probe: 12094430/J-35616-5 (PU)

X216 Passenger Inflatable Restraint Harness to Body Harness

Pin

Wire

Circuit

Function

Pin

Wire

Circuit

Function

A1

0.35 YE

3025

Instrument Panel Module - Stage 1 - High Control

A1

0.35 YE

3025

Instrument Panel Module - Stage 1 - High Control

A2

0.35 OG

3024

Instrument Panel Module - Stage 1 - Low Control

A2

0.35 OG

3024

Instrument Panel Module - Stage 1 - Low Control

B1

0.35 GY

3027

Instrument Panel Module - Stage 2 - High Control

B1

0.35 GY

3027

Instrument Panel Module - Stage 2 - High Control

B2

0.35 PU

3026

Instrument Panel Module - Stage 2 - Low Control

B2

0.35 PU

3026

Instrument Panel Module - Stage 2 - Low Control

X300 Body Harness to Driver Seat Harness


Object Number: 813079  Size: CH

Object Number: 813080  Size: CH

Connector Part Information

  • OEM: 15336205
  • Service: 88986267
  • Description: 12-Way F GT 150, 280 Series (BK)

Connector Part Information

  • OEM: 15336209
  • Service: 88986259
  • Description: 12-Way M GT 150, 280 Series (BK)

Terminal Part Information

  • Pins: A, F
  • Terminal/Tray: 15304713/19
  • Core/Insulation Crimp: F/D
  • Release Tool/Test Probe: 15315247/J-35616-4A (PU)
  • Pins: B, H-K
  • Terminal/Tray: 12191812/19
  • Core/Insulation Crimp: E/C
  • Release Tool/Test Probe: 15315247/J-35616-2A (GY)
  • Pins: G, M
  • Terminal/Tray: 15304711/8
  • Core/Insulation Crimp: E/A
  • Release Tool/Test Probe: 15315247/J-35616-4A (PU)

Terminal Part Information

  • Pins: A-B, F-K, M
  • Terminal/Tray: See Terminal Repair Kit
  • Core/Insulation Crimp: See Terminal Repair Kit
  • Release Tool/Test Probe: See Terminal Repair Kit

X300 Body Harness to Driver Seat Harness

Pin

Wire

Circuit

Function

Pin

Wire

Circuit

Function

A

5 RD/BK

1242

Battery Positive Voltage

A

3 RD/BK

1242

Battery Positive Voltage

B

0.35 D-GN

5016

Seat Belt Switch - Left - Signal

B

0.35 D-GN

5016

Seat Belt Switch - Left - Signal

C-E

--

--

Not Used

C-E

--

--

Not Used

F

5 BK

1150

Ground (AG1/ASN)

F

2 BK

1150

Ground (ASN)

2 BK

1150

Ground (ASN)

3 BK

1150

Ground (AG1)

G

0.35 PK

5057

Low Reference

G

0.35 PK

5057

Low Reference

0.35 PK

5057

Low Reference

H

0.5 YE

243

Ignition Voltage (KA1)

H

0.35 YE

243

Ignition Voltage (KA1)

J

0.5 RD/WH

1140

Battery Positive Voltage (KA1)

J

0.8 RD/WH

1140

Battery Positive Voltage (KA1)

K

0.35 GY

8

Instrument Panel Lamp Control (KA1)

K

0.35 GY

8

Instrument Panel Lamp Control (KA1)

L

--

--

Not Used

L

--

--

Not Used

M

0.5 BK

1150

Ground (KA1)

M

0.8 BK

1150

Ground (KA1)

0.8 BK

1150

Ground (KA1)

X307 Passenger Seat Heater Jumper Harness to Passenger Seat Harness (KA1)


Object Number: 280768  Size: CH

Object Number: 766913  Size: CH

Connector Part Information

  • OEM: 12052832
  • Service: See Catalog
  • Description: 2-Way F Metri-Pack 150 Series (BK)

Connector Part Information

  • OEM: 12052833
  • Service: See Catalog
  • Description: 2-Way M Metri-Pack 150 Series (BK)

Terminal Part Information

  • Terminal/Tray: See Terminal Repair Kit
  • Core/Insulation Crimp: See Terminal Repair Kit
  • Release Tool/Test Probe: See Terminal Repair Kit

Terminal Part Information

  • Terminal/Tray: See Terminal Repair Kit
  • Core/Insulation Crimp: See Terminal Repair Kit
  • Release Tool/Test Probe: See Terminal Repair Kit

X307 Passenger Seat Heater Jumper Harness to Passenger Seat Harness (KA1)

Pin

Wire

Circuit

Function

Pin

Wire

Circuit

Function

A

0.5 L-BU

5476

Low Reference

A

0.8 L-BU

5476

Low Reference

B

--

--

Not Used

B

--

--

Not Used

X308 Body Harness to Left Seat Inflatable Restraint Side Impact Module Jumper Harness (AJ7/AY0)


Object Number: 1333959  Size: CH

Object Number: 827070  Size: CH

Connector Part Information

  • OEM: 12191468
  • Service: See Catalog
  • Description: 2-Way F Metri-Pack 150 Sealed (YE)

Connector Part Information

  • OEM: 12160816
  • Service: 15306370
  • Description: 2-Way M Metri-Pack 150 Series (YE)

Terminal Part Information

  • Terminal/Tray: See Terminal Repair Kit
  • Core/Insulation Crimp: See Terminal Repair Kit
  • Release Tool/Test Probe: See Terminal Repair Kit

Terminal Part Information

  • Terminal/Tray: See Terminal Repair Kit
  • Core/Insulation Crimp: See Terminal Repair Kit
  • Release Tool/Test Probe: See Terminal Repair Kit

X308 Body Harness to Left Seat Inflatable Restraint Side Impact Module Jumper Harness (AJ7/AY0)

Pin

Wire

Circuit

Function

Pin

Wire

Circuit

Function

A

0.35 YE/BK

2138

Side Impact Module - Left Front - Low Control

A

0.35 YE/BK

2138

Side Impact Module - Left Front - Low Control

B

0.35 BN

2137

Side Impact Module - Left Front - High Control

B

0.35 BN

2137

Side Impact Module - Left Front - High Control

X309 Body Harness to Right Seat Inflatable Restraint Side Impact Module Jumper Harness (AJ7/AY0)


Object Number: 1333959  Size: CH

Object Number: 827070  Size: CH

Connector Part Information

  • OEM: 12191468
  • Service: See Catalog
  • Description: 2-Way F Metri-Pack 150 Sealed (YE)

Connector Part Information

  • OEM: 12160816
  • Service: 15306370
  • Description: 2-Way M Metri-Pack 150 Series (YE)

Terminal Part Information

  • Terminal/Tray: See Terminal Repair Kit
  • Core/Insulation Crimp: See Terminal Repair Kit
  • Release Tool/Test Probe: See Terminal Repair Kit

Terminal Part Information

  • Terminal/Tray: See Terminal Repair Kit
  • Core/Insulation Crimp: See Terminal Repair Kit
  • Release Tool/Test Probe: See Terminal Repair Kit

X309 Body Harness to Right Seat Inflatable Restraint Side Impact Module Jumper Harness (AJ7/AY0)

Pin

Wire

Circuit

Function

Pin

Wire

Circuit

Function

A

0.35 L-GN

2136

Side Impact Module - Right Front - Low Control

A

0.35 L-GN

2136

Side Impact Module - Right Front - Low Control

B

0.35 TN/WH

2135

Side Impact Module - Right Front - High Control

B

0.35 TN/WH

2135

Side Impact Module - Right Front - High Control

X310 Body Harness to Passenger Seat Harness


Object Number: 1858670  Size: CH

Object Number: 813080  Size: CH

Connector Part Information

  • OEM: 15336204
  • Service: See Catalog
  • Description: 12-Way F GT 150, 280 Series (BK)

Connector Part Information

  • OEM: 15336209
  • Service: 88986259
  • Description: 12-Way M GT 150, 280 Series (BK)

Terminal Part Information

  • Pins: A-M
  • Terminal/Tray: See Repair Kit Terminal
  • Core/Insulation Crimp: See Repair Kit Terminal
  • Release Tool/Test Probe: See Repair Kit Terminal

Terminal Part Information

  • Terminal/Tray: See Terminal Repair Kit
  • Core/Insulation Crimp: See Terminal Repair Kit
  • Release Tool/Test Probe: See Terminal Repair Kit

X310 Body Harness to Passenger Seat Harness

Pin

Wire

Circuit

Function

Pin

Wire

Circuit

Function

A

0.35 PK

5057

Low Reference

A

0.35 L-BU

1361

Low Reference

B

0.35 OG

1362

Seat Belt Switch - Right - Signal

B

0.35 OG

1362

Seat Belt Switch - Right - Signal

C

0.35 RD/WH

1340

Battery Positive Voltage

C

--

--

Not Used

D

0.35 PK

1139

Ignition Voltage

D

0.35 PK

1139

Ignition Voltage

E

0.35 BK/WH

1851

Ground

E

0.35 BK

1851

Ground

F

0.35 YE

243

Ignition Voltage (KA1)

F

0.35 YE

243

Ignition Voltage (KA1)

0.5 YE

243

Ignition Voltage (KA1)

G

0.5 BK

1150

Ground (KA1)

G

0.5 BK

1150

Ground (KA1)

0.5 BK

1150

Ground (KA1)

H

0.35 D-BU

2307

Front Passenger Air Bag ON Indicator Control

H

0.35 D-BU

2307

Front Passenger Air Bag ON Indicator Control

J

0.35 D-GN

2308

Front Passenger Air Bag OFF Indicator Control

J

0.35 D-GN

2308

Front Passenger Air Bag OFF Indicator Control

K

0.35 GY

8

Instrument Panel Lamp Control (KA1)

K

0.35 GY

8

Instrument Panel Lamp Control (KA1)

L

0.5 RD/WH

1140

Battery Positive Voltage (KA1)

L

0.8 RD/WH

1140

Battery Positive Voltage (KA1)

M

0.35 PK

5018

Occupant Sensor Serial Data

M

0.35 PK

5018

Occupant Sensor Serial Data

X319 Body Harness to Left Roof Rail Module Harness (AY0/AY1)


Object Number: 295469  Size: CH

Object Number: 847212  Size: CH

Connector Part Information

  • OEM: 12110505
  • Service: 15306044
  • Description: 2-Way F Metri-Pack 150 Series (YE)

Connector Part Information

  • OEM: 12160816
  • Service: 15306370
  • Description: 2-Way M Metri-Pack 150 Series (YE)

Terminal Part Information

  • Terminal/Tray: 12064971/5
  • Core/Insulation Crimp: E/C
  • Release Tool/Test Probe: 12094429/J-35616-2A (GY)

Terminal Part Information

  • Terminal/Tray: See Terminal Repair Kit
  • Core/Insulation Crimp: See Terminal Repair Kit
  • Release Tool/Test Probe: See Terminal Repair Kit

X319 Body Harness to Left Roof Rail Module Harness (AY0/AY1)

Pin

Wire

Circuit

Function

Pin

Wire

Circuit

Function

A

0.35 PK

5020

Roof Rail Module Left Low Control

A

0.35 PK

5020

Roof Rail Module Left Low Control

B

0.35 PU/WH

5019

Side Impact Module Left High Control

B

0.35 PU/WH

5019

Side Impact Module Left High Control

X320 Body Harness to Right Roof Rail Module Harness (AY0/AY1)


Object Number: 295469  Size: CH

Object Number: 847212  Size: CH

Connector Part Information

  • OEM: 12110505
  • Service: 15306044
  • Description: 2-Way F Metri-Pack 150 Series (YE)

Connector Part Information

  • OEM: 12160816
  • Service: 15306370
  • Description: 2-Way M Metri-Pack 150 Series (YE)

Terminal Part Information

  • Terminal/Tray: 12064971/5
  • Core/Insulation Crimp: E/C
  • Release Tool/Test Probe: 12094429/J-35616-2A (GY)

Terminal Part Information

  • Terminal/Tray: See Terminal Repair Kit
  • Core/Insulation Crimp: See Terminal Repair Kit
  • Release Tool/Test Probe: See Terminal Repair Kit

X320 Body Harness to Right Roof Rail Module Harness (AY0/AY1)

Pin

Wire

Circuit

Function

Pin

Wire

Circuit

Function

A

0.35 WH/BK

5022

Roof Rail Module Right - Low Control

A

0.35 WH/BK

5022

Roof Rail Module Right - Low Control

B

0.35 YE/BK

5021

Roof Rail Module Right - High Control

B

0.35 YE/BK

5021

Roof Rail Module Right - High Control

X351 Headliner Harness to Body Harness (UE1)


Object Number: 1385747  Size: CH

Object Number: 872877  Size: CH

Connector Part Information

  • OEM: 15332129
  • Service: 15306425
  • Description: 2-Way F GT 150 Series (BK)

Connector Part Information

  • OEM: 15332130
  • Service: 88986459
  • Description: 2-Way M GT 150 Series (BK)

Terminal Part Information

  • Terminal/Tray: 12191812/19
  • Core/Insulation Crimp: E/C
  • Release Tool/Test Probe: 15315247/J-35616-2A (GY)

Terminal Part Information

  • Terminal/Tray: 15304702/19
  • Core/Insulation Crimp: E/C
  • Release Tool/Test Probe: 15315247/J-35616-3 (GY)

X351 Headliner Harness to Body Harness (UE1)

Pin

Wire

Circuit

Function

Pin

Wire

Circuit

Function

A

0.35 BARE

1489

Drain Wire

A

0.35 BARE

1489

Drain Wire

B

0.35 GY

655

Cellular Microphone Signal

B

0.35 GY

655

Cellular Microphone Signal

X401 Left Tail Lamp Harness to Rear Lamp Harness (Convertible)


Object Number: 456551  Size: CH

Object Number: 280761  Size: CH

Connector Part Information

  • OEM: 12160482
  • Service: 88988598
  • Description: 4-Way F Metri-Pack 150 Series Sealed (BK)

Connector Part Information

  • OEM: 12160825
  • Service: 15305801
  • Description: 4-Way M Metri-Pack 150 Series Sealed (BK)

Terminal Part Information

  • Terminal/Tray: 12048074/2
  • Core/Insulation Crimp: E/1
  • Release Tool/Test Probe: 12094429/J-35616-2A (GY)

Terminal Part Information

  • Terminal/Tray: See Terminal Repair Kit
  • Core/Insulation Crimp: See Terminal Repair Kit
  • Release Tool/Test Probe: See Terminal Repair Kit

X401 Left Tail Lamp Harness to Rear Lamp Harness (Convertible)

Pin

Wire

Circuit

Function

Pin

Wire

Circuit

Function

A

0.5 L-GN

1550

Ground

A

0.5 BK

1550

Ground

B

0.5 YE

18

Left Rear Stop/Turn Lamp Control

B

0.5 YE

18

Left Rear Stop/Turn Lamp Control

C

0.5 BN

9

Park Lamp Control

C

0.5 BN

9

Park Lamp Control

D

0.5 BN

24

Backup Lamp Control

D

0.35 L-GN

24

Backup Lamp Control

X401 Rear Lamp Harness to Left Tail Lamp Harness (Coupe/Sedan)


Object Number: 456551  Size: CH

Object Number: 280761  Size: CH

Connector Part Information

  • OEM: 12160482
  • Service: 88988598
  • Description: 4-Way F Metri-Pack 150 Series Sealed (BK)

Connector Part Information

  • OEM: 12160825
  • Service: 15305801
  • Description: 4-Way M Metri-Pack 150 Series Sealed (BK)

Terminal Part Information

  • Terminal/Tray: 12048074/2
  • Core/Insulation Crimp: E/1
  • Release Tool/Test Probe: 12094429/J-35616-2A (GY)

Terminal Part Information

  • Terminal/Tray: See Terminal Repair Kit
  • Core/Insulation Crimp: See Terminal Repair Kit
  • Release Tool/Test Probe: See Terminal Repair Kit

X401 Rear Lamp Harness to Left Tail Lamp Harness (Coupe/Sedan)

Pin

Wire

Circuit

Function

Pin

Wire

Circuit

Function

A

0.5 BK

1550

Ground

A

0.5 L-GN

1550

Ground

B

0.5 YE

18

Left Rear Stop/Turn Lamp Control

B

0.5 PU

18

Left Rear Stop/Turn Lamp Control

C

0.5 BN

9

Park Lamp Control

C

0.5 RD

9

Park Lamp Control

D

0.35 L-GN

24

Backup Lamp Control

D

0.5 BN

24

Backup Lamp Control

X402 Right Tail Lamp Harness to Rear Lamp Harness (Convertible)


Object Number: 456551  Size: CH

Object Number: 280761  Size: CH

Connector Part Information

  • OEM: 12160482
  • Service: 88988598
  • Description: 4-Way F Metri-Pack 150 Series Sealed (BK)

Connector Part Information

  • OEM: 12160825
  • Service: 15305801
  • Description: 4-Way M Metri-Pack 150 Series Sealed (BK)

Terminal Part Information

  • Terminal/Tray: 12048074/2
  • Core/Insulation Crimp: E/1
  • Release Tool/Test Probe: 12094429/J-35616-2A (GY)

Terminal Part Information

  • Terminal/Tray: See Terminal Repair Kit
  • Core/Insulation Crimp: See Terminal Repair Kit
  • Release Tool/Test Probe: See Terminal Repair Kit

X402 Right Tail Lamp Harness to Rear Lamp Harness (Convertible)

Pin

Wire

Circuit

Function

Pin

Wire

Circuit

Function

A

0.5 L-GN

1450

Ground

A

0.5 BK

1450

Ground

B

0.5 D-GN

19

Right Rear Stop/Turn Lamp Control

B

0.5 D-GN

19

Right Rear Stop/Turn Lamp Control

C

0.5 BN

9

Park Lamp Control

C

0.5 BN

9

Park Lamp Control

D

0.5 BN

24

Backup Lamp Control

D

0.5 L-GN

24

Backup Lamp Control

X402 Rear Lamp Harness to Right Tail Lamp Harness (Coupe/Sedan)


Object Number: 456551  Size: CH

Object Number: 280761  Size: CH

Connector Part Information

  • OEM: 12160482
  • Service: 88988598
  • Description: 4-Way F Metri-Pack 150 Series Sealed (BK)

Connector Part Information

  • OEM: 12160825
  • Service: 15305801
  • Description: 4-Way M Metri-Pack 150 Series Sealed (BK)

Terminal Part Information

  • Terminal/Tray: 12048074/2
  • Core/Insulation Crimp: E/1
  • Release Tool/Test Probe: 12094429/J-35616-2A (GY)

Terminal Part Information

  • Terminal/Tray: See Terminal Repair Kit
  • Core/Insulation Crimp: See Terminal Repair Kit
  • Release Tool/Test Probe: See Terminal Repair Kit

X402 Rear Lamp Harness to Right Tail Lamp Harness (Coupe/Sedan)

Pin

Wire

Circuit

Function

Pin

Wire

Circuit

Function

A

0.5 BK

1450

Ground

A

0.5 L-GN

1450

Ground

B

0.5 D-GN

19

Right Rear Stop/Turn Lamp Control

B

0.5 PU

19

Right Rear Stop/Turn Lamp Control

C

0.5 BN

9

Park Lamp Control

C

0.5 RD

9

Park Lamp Control

D

0.5 L-GN

24

Backup Lamp Control

D

0.5 BN

24

Backup Lamp Control

X403 Body Harness to Rear Wheel Speed Sensor Harness


Object Number: 646430  Size: CH

Object Number: 806431  Size: CH

Connector Part Information

  • OEM: 15326815
  • Service: 15306396
  • Description: 4-Way F GT 150 Series Sealed (BK)

Connector Part Information

  • OEM: 15326820
  • Service: 15326820
  • Description: 4-Way M GT 150 Series Sealed (BK)

Terminal Part Information

  • Terminal/Tray: 12191819/8
  • Core/Insulation Crimp: E/A
  • Release Tool/Test Probe: 15315247/J-35616-2A (GY)

Terminal Part Information

  • Terminal/Tray: 15326269/19
  • Core/Insulation Crimp: E/4
  • Release Tool/Test Probe: 15315247/J-35616-3 (GY)

X403 Body Harness to Rear Wheel Speed Sensor Harness

Pin

Wire

Circuit

Function

Pin

Wire

Circuit

Function

A

0.35 TN

884

Left Rear Wheel Speed Sensor Control

A

0.35 TN

884

Left Rear Wheel Speed Sensor Control

B

0.35 OG

885

Left Rear Wheel Speed Sensor Signal

B

0.35 OG

885

Left Rear Wheel Speed Sensor Signal

C

0.35 BN

882

Right Rear Wheel Speed Sensor Control

C

0.35 BN

882

Right Rear Wheel Speed Sensor Control

D

0.35 WH

883

Right Rear Wheel Speed Sensor Signal

D

0.35 WH

883

Right Rear Wheel Speed Sensor Signal

X413 Fuel Sender Harness to Body Harness


Object Number: 632344  Size: CH

Object Number: 1376714  Size: CH

Connector Part Information

  • OEM: 22680471
  • Service: 15326842
  • Description: 10-Way F GT 150 Series Sealed (BK)

Connector Part Information

  • OEM: 15496768
  • Service: See Catalog
  • Description: 10-Way M GT 150 Series Sealed (BK)

Terminal Part Information

  • Terminal/Tray: See Terminal Repair Kit
  • Core/Insulation Crimp: See Terminal Repair Kit
  • Release Tool/Test Probe: See Terminal Repair Kit

Terminal Part Information

  • Terminal/Tray: See Terminal Repair Kit
  • Core/Insulation Crimp: See Terminal Repair Kit
  • Release Tool/Test Probe: See Terminal Repair Kit

X413 Fuel Sender Harness to Body Harness

Pin

Wire

Circuit

Function

Pin

Wire

Circuit

Function

A

0.5 RD/WH

1540

Battery Positive Voltage

A

0.35 RD/WH

1540

Battery Positive Voltage

B

0.5 WH

1310

EVAP Canister Vent Solenoid Control

B

0.35 WH

1310

EVAP Canister Vent Solenoid Control

C

1 GY

120

Fuel Pump Control

C

0.8 GY

120

Fuel Pump Control

D

1 BK

1250

Ground

D

0.8 BK

1250

Ground

E

0.5 OG/BK

469

Low Reference

E

0.35 TN

2759

Low Reference (LE5/LZ4/LZ9)

0.35 TN/WH

2759

Low Reference (LY7)

F

0.8 BK/WH

651

Low Reference

F

0.35 OG/BK

1057

Low Reference

G

0.35 PU

1589

Fuel Level Sensor Signal

G

0.35 PU

1589

Fuel Level Sensor Signal

H

0.5 D-GN

890

Fuel Tank Pressure Sensor Signal

H

0.35 D-GN

890

Fuel Tank Pressure Sensor Signal

J

0.5 GY

705

5-Volt Reference

J

0.35 GY

705

5-Volt Reference

K

--

--

Not Used

K

--

--

Not Used

X415 Headliner Harness to Sunroof Harness (C3Y)


Object Number: 813079  Size: CH

Object Number: 813080  Size: CH

Connector Part Information

  • OEM: 15336205
  • Service: 88986267
  • Description: 12-Way F GT 150, 280 Series (BK)

Connector Part Information

  • OEM: 15336209
  • Service: 88986259
  • Description: 12-Way M GT 150, 280 Series (BK)

Terminal Part Information

  • Pins: A, G
  • Terminal/Tray: 15304713/19
  • Core/Insulation Crimp: F/D
  • Release Tool/Test Probe: 15315247/J-35616-4A (PU)
  • Pins: C-E, H-L
  • Terminal/Tray: 12191812/19
  • Core/Insulation Crimp: E/C
  • Release Tool/Test Probe: 15315247/J-35616-2A (GY)
  • Pins: F
  • Terminal/Tray: 15304711/8
  • Core/Insulation Crimp: E/A
  • Release Tool/Test Probe: 15315247/J-35616-4A (PU)

Terminal Part Information

  • Terminal/Tray: See Terminal Repair Kit
  • Core/Insulation Crimp: See Terminal Repair Kit
  • Release Tool/Test Probe: See Terminal Repair Kit

X415 Headliner Harness to Sunroof Harness (C3Y)

Pin

Wire

Circuit

Function

Pin

Wire

Circuit

Function

A

3 RD/WH

1940

Battery Positive Voltage

A

3 RD/WH

1940

Battery Positive Voltage

B

--

--

Not Used

B

--

--

Not Used

C

0.35 L-BU

5027

Sunroof Switch Data 1

C

0.5 L-BU

5027

Sunroof Switch Data 1

D

0.35 BN

5028

Sunroof Switch Data 2

D

0.5 GY

5028

Sunroof Switch Data 2

E

0.35 OG

5029

Sunroof Switch Data 3

E

0.5 PU

5029

Sunroof Switch Data 3

F

0.35 BK

1350

Ground

F

0.35 BK

1350

Ground

0.35 BK

1350

Ground

0.35 BK

1350

Ground

G

3 BK

1350

Ground

G

3 BK

1350

Ground

H

0.35 YE

243

Ignition Voltage

H

0.35 YE

243

Ignition Voltage

J

0.35 L-BU

5304

Front Sunshade Switch Open Signal

J

0.5 L-BU

5304

Front Sunshade Switch Open Signal

K

0.35 YE

5305

Front Sunshade Switch Close Signal

K

0.5 YE

5305

Front Sunshade Switch Close Signal

L

--

--

Not Used

L

--

--

Not Used

M

--

--

Not Used

M

0.5 WH/BK

5043

Keyword 2000 Serial Data

X416 Rear Lamp Harness to License Lamp Harness


Object Number: 635009  Size: CH

Object Number: 333041  Size: CH

Connector Part Information

  • OEM: 12052641
  • Service: 12102747
  • Description: 2-Way F Metri-Pack 150 Series (BK)

Connector Part Information

  • OEM: 12162000
  • Service: 12167120
  • Description: 2-Way M Metri-Pack 150 Series (BK)

Terminal Part Information

  • Terminal/Tray: 12048074/2
  • Core/Insulation Crimp: E/1
  • Release Tool/Test Probe: 12094429/J-35616-2A (GY)

Terminal Part Information

  • Terminal/Tray: 12045773/2
  • Core/Insulation Crimp: E/1
  • Release Tool/Test Probe: 12094429/J-35616-3 (GY)

X416 Rear Lamp Harness to License Lamp Harness

Pin

Wire

Circuit

Function

Pin

Wire

Circuit

Function

A

0.35 TN

884

Left Rear Wheel Speed Sensor Control

A

0.35 TN

884

Left Rear Wheel Speed Sensor Control

B

0.35 OG

885

Left Rear Wheel Speed Sensor Signal

B

0.35 OG

885

Left Rear Wheel Speed Sensor Signal

X500 Body Harness to Left Front Door Harness


Object Number: 1243531  Size: CH

Object Number: 1243534  Size: CH

Connector Part Information

  • OEM: 15401211
  • Service: 88953323
  • Description: 40-Way F GT 150, 280 Series (GY)

Connector Part Information

  • OEM: 15401208
  • Service: 88956505
  • Description: 40-Way M GT 150, 280 Series (GY)

Terminal Part Information

  • Pins: A1, B3-B11, C3-C10, D1
  • Terminal/Tray: 12191812/19
  • Core/Insulation Crimp: Pins: A1, D1 : C/A
  • Core/Insulation Crimp: Pins: B3-B11, C3-C10: E/C
  • Release Tool/Test Probe: 15315247/J-35616-2A (GY)
  • Pins: A2-A3, A7, D2-D7
  • Terminal/Tray: 15304713/19
  • Core/Insulation Crimp: F/D
  • Release Tool/Test Probe: 15315247/J-35616-4A (PU)
  • Pins: A4-A6
  • Terminal/Tray: 15304711/8
  • Core/Insulation Crimp: Pins: A4-A5 : 2/A
  • Core/Insulation Crimp: Pins: A6 : E/A
  • Release Tool/Test Probe: 15315247/J-35616-4A (PU)

Terminal Part Information

  • Pins: A1, B3-B11, C3-C10, D1
  • Terminal/Tray: 15304702/19
  • Core/Insulation Crimp: Pins: A1, D1 : 2/4
  • Core/Insulation Crimp: Pins: B5-B6 : E/4
  • Core/Insulation Crimp: Pins: B3-B4, B7-B11, C3-C10: E/C
  • Release Tool/Test Probe: 15315247/J-35616-3 (GY)
  • Pins: A2-A7, D2-D7
  • Terminal/Tray: 15304724/8
  • Core/Insulation Crimp: Pins: A4-A5 : 2/A
  • Core/Insulation Crimp: Pins: A2-A3, A7, D2-D7 : A/D
  • Core/Insulation Crimp: Pins: A6 : See Terminal Repair Kit
  • Release Tool/Test Probe: 15315247/J-35616-5 (PU)

X500 Body Harness to Left Front Door Harness

Pin

Wire

Circuit

Function

Pin

Wire

Circuit

Function

A1

0.8 TN

1856

Left Front Tweeter Speaker Output (+) (U85)

A1

0.8 TN

1856

Left Front Tweeter Speaker Output (+) (U85)

A2

3 YE

343

Ignition Voltage (Sedan)

A2

3 YE

343

Ignition Voltage (Sedan)

2 RD/BK

842

Battery Positive Voltage (Coupe/Convertible)

2 RD/BK

842

Battery Positive Voltage (Coupe/Convertible)

A3

3 D-BU

1307

Power Window Master Switch Lockout Control (Sedan)

A3

3 D-BU

1307

Power Window Master Switch Lockout Control (Sedan)

0.35 GY

8

Instrument Panel Lamp Control (Coupe)

0.35 GY

8

Instrument Panel Lamp Control (Coupe)

A4

0.5 GY

118

Left Front Speaker Output (-) (UZ6)

A4

0.5 GY

118

Left Front Speaker Output (-) (UZ6)

0.5 GY

118

Left Front Speaker Output (-) (UZ6)

0.8 GY

118

Left Front Speaker Output (-) (U85)

0.8 GY

118

Left Front Speaker Output (-) (U85)

A5

0.5 TN

201

Left Front Speaker Output (+) (UZ6)

A5

0.5 TN

201

Left Front Speaker Output (+) (UZ6)

0.5 TN

201

Left Front Speaker Output (+) (UZ6)

0.8 TN

201

Left Front Speaker Output (+) (U85)

0.8 TN

201

Left Front Speaker Output (+) (U85)

A6

0.35 BK

1250

Ground (Coupe/Sedan)

A6

0.35 BK

1250

Ground (Coupe/Sedan)

0.35 BK

1250

Ground (Coupe/Sedan)

0.35 BK

1250

Ground (Coupe/Sedan)

0.35 BK

1050

Ground (Convertible)

0.35 BK

1050

Ground (Convertible)

0.35 BK

1050

Ground (Convertible)

A7

3 BK

1150

Ground (Sedan)

A7

3 BK

1150

Ground (Sedan)

2 BK

1150

Ground (Coupe/Convertible)

2 BK

1150

Ground (Coupe/Convertible)

A8

0.35 YE

243

Ignition Voltage (Coupe/Convertible)

A8

0.35 YE

243

Ignition Voltage (Coupe/Convertible)

B1

3 BK

1150

Ground (Coupe/Convertible)

B1

3 BK

1150

Ground (Coupe/Convertible)

B2

0.35 L-GN

170

Power Window Master Switch Right Rear Up Signal (Convertible)

B2

0.35 L-GN

170

Power Window Master Switch Right Rear Up Signal (Convertible)

B3

0.35 WH

682

Door Lock/Unlock Signal

B3

0.35 WH

682

Door Lock/Unlock Signal

B4

0.35 GY

8

Instrument Panel Lamp Control (Sedan/Convertible)

B4

0.35 GY

8

Instrument Panel Lamp Control (Sedan/Convertible)

B5

0.5 TN

694

Driver Door Lock Actuator Unlock Control

B5

0.5 TN

694

Driver Door Lock Actuator Unlock Control

B6

0.5 GY/BK

295

Door Lock Actuator Lock Control

B6

0.5 GY

295

Door Lock Actuator Lock Control

B7

0.35 GY/BK

745

Left Front Door Ajar Switch Signal (Sedan)

B7

0.35 GY/BK

745

Left Front Door Ajar Switch Signal (Sedan)

B8

0.35 GY

8

Instrument Panel Lamp Control

B8

0.35 GY

8

Instrument Panel Lamp Control

B9

0.35 L-GN

262

Driver Door Key Switch Unlock Signal

B9

0.35 L-GN

262

Driver Door Key Switch Unlock Signal

B10

0.35 YE

2131

Side Impact Sensing Module - Left - Voltage (AJ7/AY0/AY1)

B10

0.35 YE

2131

Side Impact Sensing Module - Left - Voltage (AJ7/AY0/AY1)

B11

0.35 WH

2132

Side Impact Sensing Module - Left - Signal (AJ7/AY0/AY1)

B11

0.35 WH

2132

Side Impact Sensing Module - Left - Signal (AJ7/AY0/AY1)

B12

--

--

Not Used

B12

--

--

Not Used

C1

0.8 D-BU/WH

346

Left Subwoofer Speaker Output (+) (Convertible with U85)

C1

0.8 D-BU/WH

346

Left Subwoofer Speaker Output (+) (Convertible with U85)

C2

0.8 L-GN/BK

1794

Left Subwoofer Speaker Output (-) (Convertible with U85)

C2

0.8 L-GN/BK

1794

Left Subwoofer Speaker Output (-) (Convertible with U85)

C3

0.35 RD/WH

640

Battery Positive Voltage

C3

0.35 RD/WH

640

Battery Positive Voltage

C4

0.35 BK

1150

Ground

C4

0.35 BK

1150

Ground

C5

0.35 GY

8

Instrument Panel Lamp Control

C5

0.35 GY

8

Instrument Panel Lamp Control

C6

0.35 OG/WH

881

Front Passenger Mirror Motor Right Control

C6

0.35 OG/WH

881

Front Passenger Mirror Motor Right Control

C7

0.35 PU/WH

889

Front Passenger Mirror Motor Down Control

C7

0.35 PU/WH

889

Front Passenger Mirror Motor Down Control

C8

0.35 GY

90

Front Passenger Mirror Motor Left/Up Control

C8

0.35 GY

90

Front Passenger Mirror Motor Left/Up Control

C9

0.35 BK

1150

Ground

C9

0.35 BK

1150

Ground

C10

0.35 BN/WH

2091

Trunk Release Switch Control

C10

0.35 BN/WH

2091

Trunk Release Switch Control

C11-C12

--

--

Not Used

C11-C12

--

--

Not Used

D1

0.8 YE

1956

Left Front Tweeter Speaker Output (-) (U85)

D1

0.8 YE

1956

Left Front Tweeter Speaker Output (-) (U85)

D2

0.35 L-BU

166

Power Window Master Switch Right Front Up Signal

D2

0.35 L-BU

166

Power Window Master Switch Right Front Up Signal

D3

0.35 TN

167

Power Window Master Switch Right Front Down Signal

D3

0.35 TN

167

Power Window Master Switch Right Front Down Signal

D4

3 D-GN

168

Power Window Master Switch Left Rear Up Signal (Sedan/Convertible)

D4

0.35 D-GN

168

Power Window Master Switch Left Rear Up Signal (Sedan/Convertible)

D5

3 PU

169

Power Window Master Switch Left Rear Down Signal (Sedan/Convertible)

D5

3 PU

169

Power Window Master Switch Left Rear Down Signal (Sedan/Convertible)

D6

3 L-GN

170

Power Window Master Switch Right Rear Up Signal (Sedan)

D6

3 L-GN

170

Power Window Master Switch Right Rear Up Signal (Sedan)

0.35 PU/WH

5200

Power Window Comfort Close Signal (Convertible)

0.35 PU/WH

5200

Power Window Comfort Close Signal (Convertible)

0.35 PU/WH

5200

Power Window Comfort Close Signal (Convertible)

D7

3 PU

171

Power Window Master Switch Right Rear Down Signal (Sedan)

D7

3 PU

171

Power Window Master Switch Right Rear Down Signal (Sedan)

0.35 GY/BK

745

Left Front Door Ajar Switch Signal (Coupe/Convertible)

0.35 GY/BK

745

Left Front Door Ajar Switch Signal (Coupe/Convertible)

0.35 GY/BK

745

Left Front Door Ajar Switch Signal (Coupe/Convertible)

D8

0.35 PU

171

Power Window Master Switch Right Rear Down Signal (Convertible)

D8

0.35 PU

171

Power Window Master Switch Right Rear Down Signal (Convertible)

X501 Left Front Door Harness to Left Front Door Trim Pad Harness


Object Number: 62439  Size: CH

Object Number: 62434  Size: CH

Connector Part Information

  • OEM: 12047886
  • Service: 12101822
  • Description: 8-Way F Metri-Pack 150 Series (BK)

Connector Part Information

  • OEM: 12045688
  • Service: 12101827
  • Description: 8-Way M Metri-Pack 150 Series (BK)

Terminal Part Information

  • Pins: A, B, C, D, E, F, G, H
  • Terminal/Tray: 12064971/5
  • Core/Insulation Crimp: E/C
  • Release Tool/Test Probe: 12094429/J-35616-2A (GY)
  • Pins: D-E (Sedan +UZ6)
  • Terminal/Tray: 12064971/5
  • Core/Insulation Crimp: E/C
  • Release Tool/Test Probe: 12094429/J-35616-2A (GY)
  • Pins: D-E (Except Sedan +UZ6)
  • Terminal/Tray: 12047767/2
  • Core/Insulation Crimp: E/A
  • Release Tool/Test Probe: 12094429/J-35616-2A (GY)

Terminal Part Information

  • Pins: A-H
  • Terminal/Tray: 12047581/2
  • Core/Insulation Crimp: Pins: D-E : E/A
  • Core/Insulation Crimp: Pins: A-C, F-H : E/C
  • Release Tool/Test Probe: 12094429/J-35616-3 (GY)

X501 Left Front Door Harness to Left Front Door Trim Pad Harness

Pin

Wire

Circuit

Function

Pin

Wire

Circuit

Function

A

0.35 GY

8

Instrument Panel Lamp Control

A

0.35 GY

8

Instrument Panel Lamp Control

B

0.35 WH

682

Door Lock/Unlock Signal

B

0.35 WH

682

Door Lock/Unlock Signal

C

0.35 BK

1250

Ground (Coupe/Sedan)

C

0.35 BK

1250

Ground

0.35 BK

1050

Ground (Convertible)

D

0.8 TN

1856

Left Front Tweeter Speaker Output (+) (U85)

D

0.8 TN

1856

Left Front Tweeter Speaker Output (+)

0.5 TN

201

Left Front Speaker Output (+) (UZ6)

E

0.8 YE

1956

Left Front Tweeter Speaker Output (-) (U85)

E

0.8 YE

1956

Left Front Tweeter Speaker Output (-)

0.5 GY

118

Left Front Speaker Output (-) (UZ6)

F

GY

8

Instrument Panel Lamp Control

F

0.35 GY

8

Instrument Panel Lamp Control

G

0.35 BK

1150

Ground

G

0.35 BK

1150

Ground

H

0.35 BN/WH

2091

Trunk Release Switch Control

H

0.35 BN/WH

2091

Trunk Release Switch Control

X600 Body Harness to Right Front Door Harness


Object Number: 1243531  Size: CH

Object Number: 1243534  Size: CH

Connector Part Information

  • OEM: 15401211
  • Service: 88953323
  • Description: 40-Way F GT 150, 280 Series (GY)

Connector Part Information

  • OEM: 15401208
  • Service: 88956505
  • Description: 40-Way M GT 150, 280 Series (GY)

Terminal Part Information

  • Pins: A1, B2-B7, B10-B11, C2, C6, C8, D1
  • Terminal/Tray: 12191812/19
  • Core/Insulation Crimp: Pins: A1, D1 : C/A
  • Core/Insulation Crimp: Pins: B2-B7, B10-B11, C2, C6, C8 : E/C
  • Release Tool/Test Probe: 15315247/J-35616-2A (GY)
  • Pins: A2, D4-D5
  • Terminal/Tray: 15304713/19
  • Core/Insulation Crimp: F/D
  • Release Tool/Test Probe: 15315247/J-35616-4A (PU)
  • Pins: A4-A6
  • Terminal/Tray: 15304711/8
  • Core/Insulation Crimp: Pins: A4-A5 : 2/A
  • Core/Insulation Crimp: Pins: A6 : E/A
  • Release Tool/Test Probe: 15315247/J-35616-4A (PU)

Terminal Part Information

  • Pins: A1, B2-B7, B10-B11, C2, C6, C8, D1
  • Terminal/Tray: 15304702/19
  • Core/Insulation Crimp: Pins: A1, D1 : 2/4
  • Core/Insulation Crimp: Pins: B5-B6 : E/4
  • Core/Insulation Crimp: Pins: B2-B4, B7, B10-B11, C2, C6, C8 : E/C
  • Release Tool/Test Probe: 15315247/J-35616-3 (GY)
  • Pins: A2, A4-A6, D4-D5
  • Terminal/Tray: 15304724/8
  • Core/Insulation Crimp: Pins: A4-A5 : 2/A
  • Core/Insulation Crimp: Pins: A2, D4-D5 : A/D
  • Core/Insulation Crimp: Pins: A6 : See Terminal Repair Kit
  • Release Tool/Test Probe: 15315247/J-35616-5 (PU)

X600 Body Harness to Right Front Door Harness

Pin

Wire

Circuit

Function

Pin

Wire

Circuit

Function

A1

0.8 L-GN

1852

Right Front Tweeter Speaker Output (+) (U85)

A1

0.8 L-GN

1852

Right Front Tweeter Speaker Output (+) (U85)

A2

3 YE

343

Ignition Voltage (Sedan)

A2

3 YE

343

Ignition Voltage (Sedan)

2 RD/BK

842

Battery Positive Voltage (Coupe/Convertible)

2 RD/BK

842

Battery Positive Voltage (Coupe/Convertible)

A3

--

--

Not Used

A3

--

--

Not Used

A4

0.8 D-GN

117

Right Front Speaker Output (-)

A4

0.8 D-GN

117

Right Front Speaker Output (-)

0.8 D-GN

117

Right Front Speaker Output (-) (UZ6)

A5

0.8 L-GN

200

Right Front Speaker Output (+)

A5

0.8 L-GN

200

Right Front Speaker Output (+)

0.8 L-GN

200

Right Front Speaker Output (+) (UZ6)

A6

0.35 BK

1250

Ground (Coupe/Sedan)

A6

0.35 BK

1250

Ground (Coupe/Sedan)

0.35 BK

1250

Ground (Coupe/Sedan)

0.35 BK

1050

Ground (Convertible)

0.35 BK

1050

Ground (Convertible)

0.35 BK

1050

Ground (Convertible)

A7

2 BK

1250

Ground (Coupe/Convertible)

A7

2 BK

1250

Ground (Coupe/Convertible)

A8

0.35 YE

243

Ignition Voltage (Coupe/Convertible)

A8

0.35 YE

243

Ignition Voltage (Coupe/Convertible)

B1

--

--

Not Used

B1

--

--

Not Used

B2

0.35 BK

1150

Ground

B2

0.35 BK

1150

Ground

B3

0.35 WH

682

Door Lock/Unlock Signal

B3

0.35 WH

682

Door Lock/Unlock Signal

B4

0.35 GY

8

Instrument Panel Lamp Control

B4

0.35 GY

8

Instrument Panel Lamp Control

B5

0.5 TN

294

Door Lock Actuator Unlock Control

B5

0.5 TN

294

Door Lock Actuator Unlock Control

B6

0.5 GY/BK

295

Door Lock Actuator Lock Control

B6

0.5 GY

295

Door Lock Actuator Lock Control

B7

0.35 TN/WH

746

Right Front Door Ajar Switch Signal (Sedan)

B7

0.35 TN/WH

746

Right Front Door Ajar Switch Signal (Sedan)

B8-B9

--

--

Not Used

B8-B9

--

--

Not Used

B10

0.35 TN

2133

Side Impact Sensing Module - Right - Voltage (AJ7/AY0/AY1)

B10

0.35 TN

2133

Side Impact Sensing Module - Right - Voltage (AJ7/AY0/AY1)

B11

0.35 D-GN

2134

Side Impact Sensing Module - Right - Signal (AJ7/AY0/AY1)

B11

0.35 D-GN

2134

Side Impact Sensing Module - Right - Signal (AJ7/AY0/AY1)

B12

--

--

Not Used

B12

--

--

Not Used

C1

0.8 D-GN

1795

Right Subwoofer Speaker Output (+) (Convertible with U85)

C1

0.8 D-GN

1795

Right Subwoofer Speaker Output (+) (Convertible with U85)

C2

0.35 GY

90

Front Passenger Mirror Motor Left/Up Control

C2

0.35 GY

90

Front Passenger Mirror Motor Left/Up Control

C3

0.8 L-BU/BK

315

Right Subwoofer Speaker Output (-) (Convertible with U85)

C3

0.8 L-BU/BK

315

Right Subwoofer Speaker Output (-) (Convertible with U85)

C4-C5

--

--

Not Used

C4-C5

--

--

Not Used

C6

0.35 OG/WH

881

Front Passenger Mirror Motor Right Control

C6

0.35 OG/WH

881

Front Passenger Mirror Motor Right Control

C7

--

--

Not Used

C7

--

--

Not Used

C8

0.35 PU/WH

889

Front Passenger Mirror Motor Down Control

C8

0.35 PU/WH

889

Front Passenger Mirror Motor Down Control

C9-C12

--

--

Not Used

C9-C12

--

--

Not Used

D1

0.8 PU

1952

Right Front Tweeter Speaker Output (-) (U85)

D1

0.8 PU

1952

Right Front Tweeter Speaker Output (-) (U85)

D2-D3

--

--

Not Used

D2-D3

--

--

Not Used

D4

3 L-BU

166

Power Window Master Switch Right Front Up Signal

D4

3 L-BU

166

Power Window Master Switch Right Front Up Signal

D5

3 TN

167

Power Window Master Switch Right Front Down Signal

D5

3 TN

167

Power Window Master Switch Right Front Down Signal

D6

0.35 PU/WH

5200

Power Window Comfort Close Signal (Convertible)

D6

0.35 PU/WH

5200

Power Window Comfort Close Signal (Convertible)

0.35 PU/WH

5200

Power Window Comfort Close Signal (Convertible)

D7

0.35 TN/WH

746

Right Front Door Ajar Switch Signal (Coupe/Convertible)

D7

0.35 TN/WH

746

Right Front Door Ajar Switch Signal (Coupe/Convertible)

0.35 TN/WH

746

Right Front Door Ajar Switch Signal (Coupe/Convertible)

D8

--

--

Not Used

D8

--

--

Not Used

X601 Right Front Door Harness to Right Front Door Trim Pad Harness


Object Number: 62439  Size: CH

Object Number: 62434  Size: CH

Connector Part Information

  • OEM: 12047886
  • Service: 12101822
  • Description: 8-Way F Metri-Pack 150 Series (BK)

Connector Part Information

  • OEM: 12045688
  • Service: 12101827
  • Description: 8-Way M Metri-Pack 150 Series (BK)

Terminal Part Information

  • Pins: A-E
  • Terminal/Tray: 12064971/5
  • Core/Insulation Crimp: E/C
  • Release Tool/Test Probe: 12094429/J-35616-2A (GY)
  • Pins: D-E (Sedan +UZ6)
  • Terminal/Tray: 12064971/5
  • Core/Insulation Crimp: E/C
  • Release Tool/Test Probe: 12094429/J-35616-2A (GY)
  • Pins: D-E (Except Sedan +UZ6)
  • Terminal/Tray: 12047767/2
  • Core/Insulation Crimp: E/A
  • Release Tool/Test Probe: 12094429/J-35616-2A (GY)

Terminal Part Information

  • Pins: A-E
  • Terminal/Tray: 12047581/2
  • Core/Insulation Crimp: Pins: A-C : E/C
  • Core/Insulation Crimp: Pins: D-E : E/A
  • Release Tool/Test Probe: 12094429/J-35616-3 (GY)

X601 Right Front Door Harness to Right Front Door Trim Pad Harness

Pin

Wire

Circuit

Function

Pin

Wire

Circuit

Function

A

0.35 GY

8

Instrument Panel Lamp Control

A

0.35 GY

8

Instrument Panel Lamp Control

B

0.35 WH

682

Door Lock/Unlock Signal

B

0.35 WH

682

Door Lock/Unlock Signal

C

0.35 BK

1250

Ground (Coupe/Sedan)

C

0.35 BK

1250

Ground

0.35 BK

1050

Ground (Convertible)

D

0.8 L-GN

1852

Right Front Tweeter Speaker Output (+) (U85)

D

0.8 L-GN

1852

Right Front Tweeter Speaker Output (+)

0.5 L-GN

200

Right Front Speaker Output (+) (UZ6)

E

0.8 PU

1952

Right Front Tweeter Speaker Output (-) (U85)

E

0.8 PU

1952

Right Front Tweeter Speaker Output (-)

0.5 D-GN

117

Right Front Speaker Output (-) (UZ6)

F-H

--

--

Not Used

F-H

--

--

Not Used

X700 Body Harness to Left Rear Door Harness (Sedan)


Object Number: 1376248  Size: CH

Object Number: 1376711  Size: CH

Connector Part Information

  • OEM: 15336211
  • Service: 88956508
  • Description: 14-Way F GT 150, 280 Series (BK)

Connector Part Information

  • OEM: 15412364
  • Service: 22708236
  • Description: 14-Way M GT 150, 280 Series (BK)

Terminal Part Information

  • Pins: A, G-H
  • Terminal/Tray: 15304713/19
  • Core/Insulation Crimp: F/D
  • Release Tool/Test Probe: 15315247/J-35616-4A (PU)
  • Pins: B-D, J
  • Terminal/Tray: 12191812/19
  • Core/Insulation Crimp: E/C
  • Release Tool/Test Probe: 15315247/J-35616-2A (GY)

Terminal Part Information

  • Pins: A-D, G-J
  • Terminal/Tray: See Terminal Repair Kit
  • Core/Insulation Crimp: See Terminal Repair Kit
  • Release Tool/Test Probe: See Terminal Repair Kit

X700 Body Harness to Left Rear Door Harness (Sedan)

Pin

Wire

Circuit

Function

Pin

Wire

Circuit

Function

A

3 D-GN

168

Power Window Master Switch Left Rear Up Signal

A

3 D-GN

168

Power Window Master Switch Left Rear Up Signal

B

0.35 L-BU/BK

747

Left Rear Door Ajar Switch Signal

B

0.35 L-BU/BK

747

Left Rear Door Ajar Switch Signal

C

0.5 GY

295

Door Lock Actuator Lock Control

C

0.5 GY

295

Door Lock Actuator Lock Control

D

0.5 TN

294

Door Lock Actuator Unlock Control

D

0.5 TN

294

Door Lock Actuator Unlock Control

E-F

--

--

Not Used

E-F

--

--

Not Used

G

3 PU

169

Power Window Master Switch Left Rear Down Signal

G

3 PU

169

Power Window Master Switch Left Rear Down Signal

H

3 D-BU

1307

Power Window Master Switch Lockout Control

H

0.35 D-BU

1307

Power Window Master Switch Lockout Control

J

0.35 BK

1250

Ground

J

0.35 BK

1250

Ground

K-P

--

--

Not Used

K-P

--

--

Not Used

X800 Body Harness to Right Rear Door Harness (Sedan)


Object Number: 1376248  Size: CH

Object Number: 1376711  Size: CH

Connector Part Information

  • OEM: 15336211
  • Service: 88956508
  • Description: 14-Way F GT 150, 280 Series (BK)

Connector Part Information

  • OEM: 15479759
  • Service: 89047105
  • Description: 14-Way M GT 150, 280 Series (BK)

Terminal Part Information

  • Pins: A, G-H
  • Terminal/Tray: 15304713/19
  • Core/Insulation Crimp: F/D
  • Release Tool/Test Probe: 15315247/J-35616-4A (PU)
  • Pins: B-D, J
  • Terminal/Tray: 12191812/19
  • Core/Insulation Crimp: E/C
  • Release Tool/Test Probe: 15315247/J-35616-2A (GY)

Terminal Part Information

  • Pins: A, G-H
  • Terminal/Tray: 15304724/8
  • Core/Insulation Crimp: A/D
  • Release Tool/Test Probe: 15315247/J-35616-5 (PU)
  • Pins: B-D, J
  • Terminal/Tray: 15304702/19
  • Core/Insulation Crimp: Pins: C-D : E/4
  • Core/Insulation Crimp: Pins: B, J : E/C
  • Release Tool/Test Probe: 15315247/J-35616-3 (GY)

X800 Body Harness to Right Rear Door Harness (Sedan)

Pin

Wire

Circuit

Function

Pin

Wire

Circuit

Function

A

3 L-GN

170

Power Window Master Switch Right Rear Up Signal

A

3 L-GN

170

Power Window Master Switch Right Rear Up Signal

B

0.35 L-GN/BK

748

Right Rear Door Ajar Switch Signal

B

0.35 L-GN/BK

748

Right Rear Door Ajar Switch Signal

C

0.5 GY

295

Door Lock Actuator Lock Control

C

0.5 GY

295

Door Lock Actuator Lock Control

D

0.5 TN

294

Door Lock Actuator Unlock Control

D

0.5 TN

294

Door Lock Actuator Unlock Control

E-F

--

--

Not Used

E-F

--

--

Not Used

G

3 PU

171

Power Window Master Switch Right Rear Down Signal

G

3 PU

171

Power Window Master Switch Right Rear Down Signal

H

3 D-BU

1307

Power Window Master Switch Lockout Control

H

3 D-BU

1307

Power Window Master Switch Lockout Control

J

0.35 BK

1250

Ground

J

0.35 BK

1250

Ground

K-P

--

--

Not Used

K-P

--

--

Not Used