GM Service Manual Online
For 1990-2009 cars only

High Mount Stop Lamp Replacement Coupe


Object Number: 1657961  Size: MF

Callout

Component Name

Preliminary Procedure

Remove the interior rear trim panel shelf. Refer to Rear Window Shelf Trim Panel Replacement .

1

Acoustic Foam Backing

Tip

  1. Using a flat-bladed tool, release the glue from the foam between the 2 speaker grilles securing the acoustic foam backing to the trim shelf in order to access the CHMSL.
  2. Upon reassembly of the acoustic foam backing, use a hot glue gun in order to re-attach the acoustic foam to the underside of the trim panel shelf.

2

Center High Mounted Stop Lamp Retainer

Tip

  1. Release the two rearward retainers securing the CHMSL to the rear trim shelf.
  2. Roll the CHMSL forward and release the CHMSL from the lower trim shelf j-hooks.

3

Center High Mounted Stop Lamp Assembly

High Mount Stop Lamp Replacement GXP Coupe


Object Number: 2048172  Size: SF

Callout

Component Name

Preliminary Procedure

  1. Heat the high mounted stop lamp mounting area using the J 25070 .
  2. Hold the heat gun approximately 52 mm (6 in) from the lamp surface.
  3. Apply the heat in a circular motion for 30 to 40 seconds until adhesive tape loosens.

Special Tools

J 25070 Heat Gun

1

High Mount Stop Lamp

Tip
Pull rearward to release the high mount stop lamp from the rear spoiler pocket.

2

High Mount Stop Lamp Electrical Connector

Tip
Disconnect the electrical connector from the high mount stop lamp.

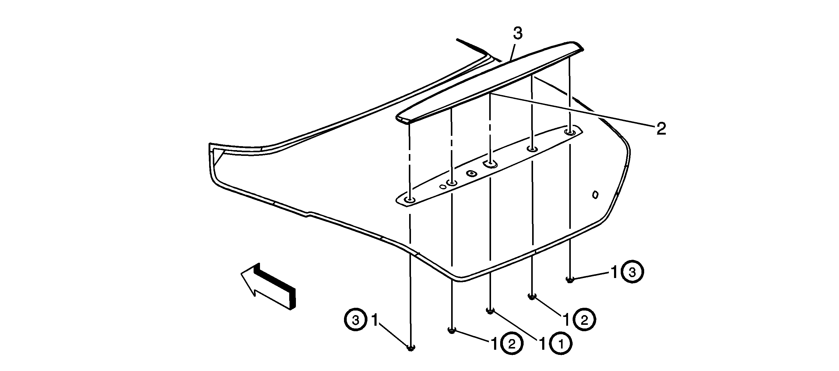
High Mount Stop Lamp Replacement Convertible


Object Number: 1847148  Size: SF

Callout

Component Name

Preliminary Procedure

Remove the rear compartment lid trim, if equipped.

1

Rear Spoiler / High Mounted Stop Lamp Nuts (Qty: 5)

Caution: Refer to Fastener Caution in the Preface section.

Tighten
2.5 N·m (22 lb in)

2

Rear Spoiler Integral Clip

Procedure

Secure the integral clip first, prior to installing the nuts.

3

Rear Spoiler / High Mounted Stop Lamp

Procedure

Disconnect the electrical connector before the spoiler is removed.

High Mount Stop Lamp Replacement Sedan


Object Number: 1572320  Size: MF

Callout

Component Name

Preliminary Procedure

Remove the rear compartment lid trim, if equipped.

1

High Mounted Stop Lamp Body Harness Connector

Tip
Disconnect the connector from the lamp assembly.

2

CHMSL Nuts

Caution: Refer to Fastener Caution in the Preface section.

Tighten
2.5 N·m (22 lb in)

3

Center High Mounted Stop Lamp Assembly