GM Service Manual Online
For 1990-2009 cars only

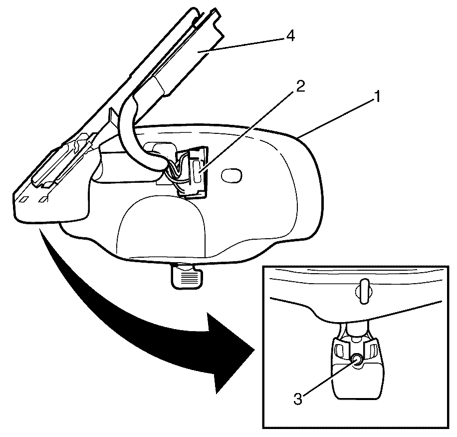
Removal Procedure


    Object Number: 2043899  Size: SH
  1. Detach the rearview mirror trim (4) from the headliner by gently sliding downward.
  2. Disconnect the electrical connector (2) from the back of the rearview mirror (1).
  3. Adjust the rearview mirror (1) to the full upright position.
  4. At the rearview mirror assembly base, remove the rearview mirror assembly to windscreen retaining screw (3)

  5. Object Number: 2043900  Size: SH

    Important: Slide the rearview mirror assembly (1) upward to remove from the retaining plate (2).

  6. Remove the rearview mirror assembly (1) from the vehicle.

Installation Procedure


    Object Number: 2043901  Size: SH

    Important: Position the center of the rearview mirror assembly (1) at the top of the retaining plate (2).

  1. Install the rearview mirror assembly (1) to the vehicle.

  2. Object Number: 2043899  Size: SH
  3. Install the rearview mirror assembly to windscreen retaining plate retaining screw (3).
  4. Tighten
    Tighten the screw to 2 N.m (18lb in)

  5. Connect the electrical connector (2) to the mirror assembly (1).
  6. Attach the rearview mirror trim (4) to the headliner by gently sliding upward.
  7. Reposition the mirror assembly (1).
  8. Calibrate the mirror compass. Refer to Control Module References.