GM Service Manual Online
For 1990-2009 cars only

Removal Procedure

    Caution: Refer to Approved Equipment for Collision Repair Caution in the Preface section.

    Caution: Refer to Foam Sound Deadeners Caution in the Preface section.

  1. Disable the SIR system. Refer to SIR Disabling and Enabling.
  2. Caution: Refer to Battery Disconnect Caution in the Preface section.

  3. Disconnect the negative battery cable. Refer to Battery Negative Cable Disconnection and Connection.
  4. Remove the rear compartment side trims. Refer to Rear Compartment Side Trim Panel Replacement.
  5. Remove the rear interior trims. Refer to Quarter Upper Trim Panel Replacement.
  6. Remove the battery. Refer to Battery Replacement.
  7. Remove the rear bumper fascia. Refer to Rear Bumper Fascia Replacement.
  8. Remove the tail lights. Refer to Parking and Turn Signal Lamp Replacement.

  9. Object Number: 1939811  Size: SH
  10. Locate, mark and drill out the spot welds in the tail lamp filler panel to rear quarter panel.
  11. Locate, mark and drill out the spot welds in the tail lamp filler panel to rear end panel.
  12. Locate, mark and drill out the spot welds in the tail lamp filler panel to side extension.

  13. Object Number: 1939830  Size: SH
  14. Locate, mark and drill out the spot welds in the tail lamp filler panel to upper extension.
  15. Remove the tail lamp filler panel from the vehicle.

Installation procedure


    Object Number: 1937452  Size: SH
  1. Apply the primary sealer (1) GM6449G or equivalent path to the tail lamp filler panel.
  2. Install the tail lamp filler panel to the vehicle.

  3. Object Number: 1937450  Size: SH
  4. Align the datum hole alignment points at A, B and C.
  5. • Datum A is 4.1mm
    • Datum B is 10.2mm X 16.1mm
    • Datum C is 10.5mm

    Object Number: 1937286  Size: SH
  6. Weld (1) the tail light filler panel to the upper extension.

  7. Object Number: 1937493  Size: SH
  8. Weld (1) the tail light filler panel to the side extension.

  9. Object Number: 1939809  Size: SH
  10. Weld (1) the tail lamp filler panel to the rear end panel.

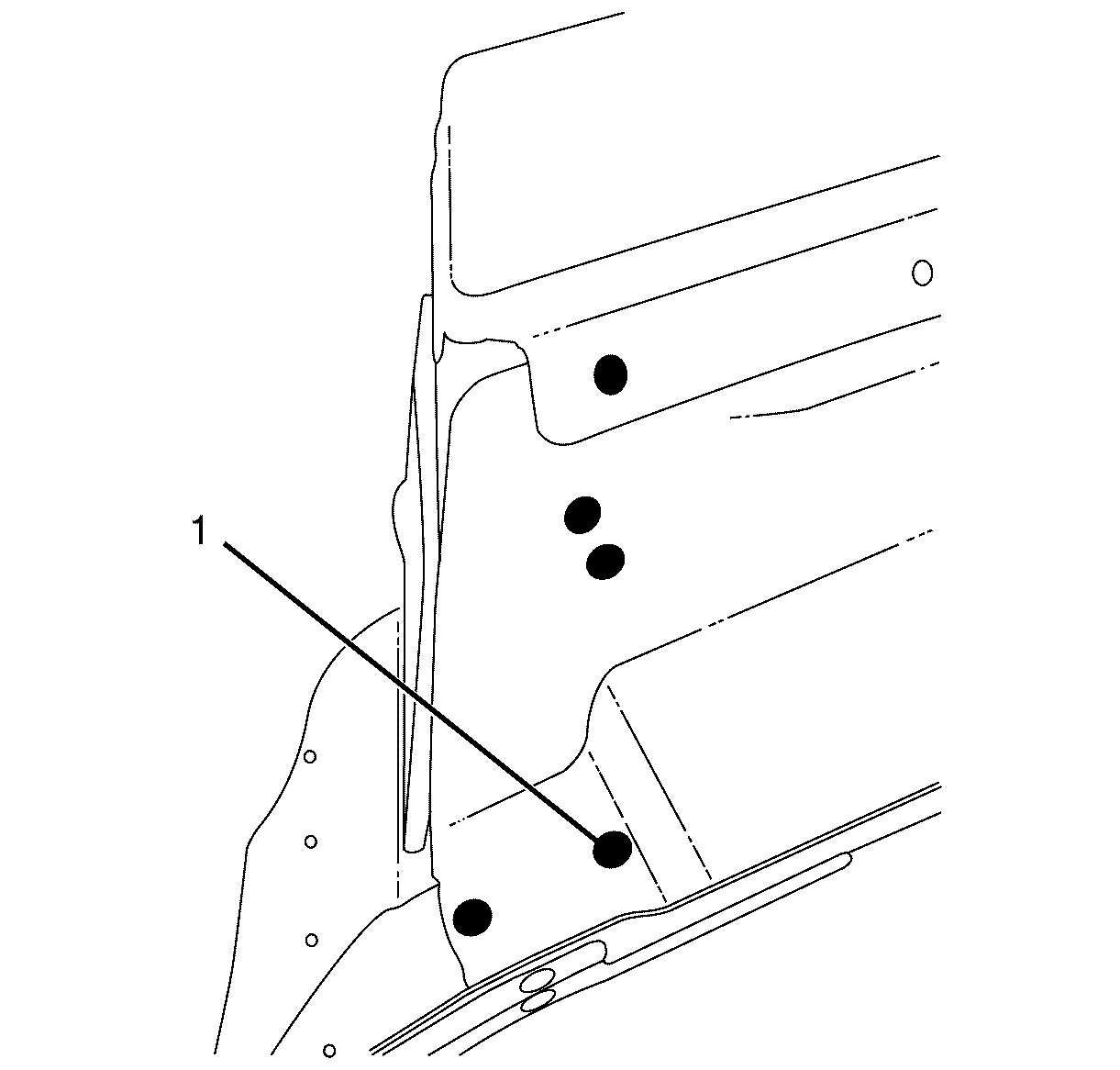
  11. Object Number: 1939806  Size: SH
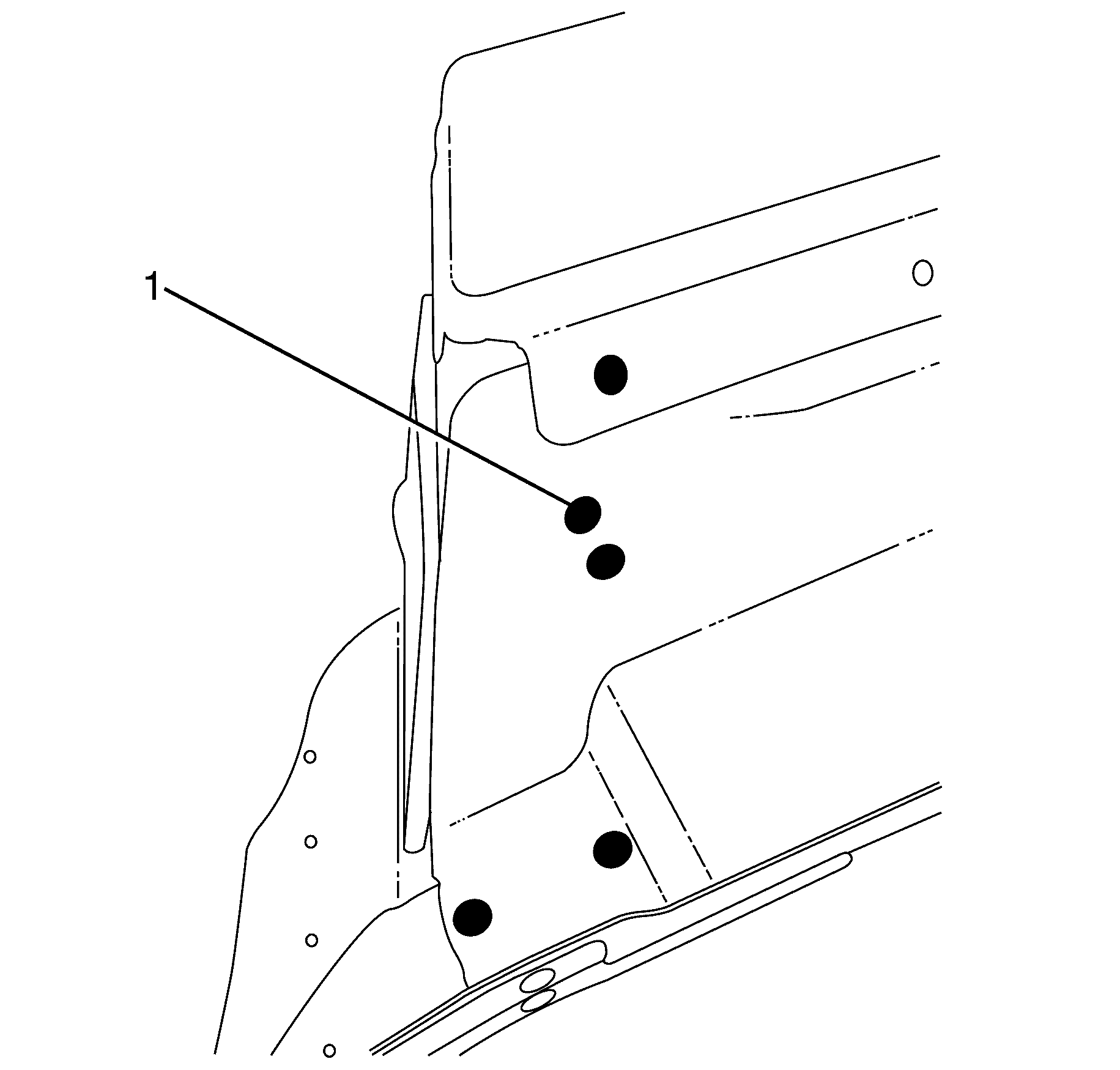
  12. Weld (1) the tail lamp filler panel to the rear quarter panel.

  13. Object Number: 1937454  Size: SH
  14. Apply the secondary sealer (1) GM specification 9984532 or equivalent along the tail lamp filler panel to the rear quarter panel.
  15. Apply the secondary sealer (1) GM specification 9984532 or equivalent along the tail lamp filler panel to the rear end panel.
  16. Apply the secondary sealer (1) GM specification 9984532 or equivalent along the tail lamp filler panel to the side extension panel.
  17. Apply the sealers and anti-corrosion materials to the repair area, as necessary. Refer to Anti-Corrosion Treatment and Repair.
  18. Paint the repaired area. Refer to Basecoat/Clearcoat Paint Systems.
  19. Install the tail lights. Refer to Parking and Turn Signal Lamp Replacement.
  20. Install the rear bumper fascia. Refer to Rear Bumper Fascia Replacement.
  21. Install the battery. Refer to Battery Replacement.
  22. Install the rear compartment side trims. Refer to Rear Compartment Side Trim Panel Replacement.
  23. Install the rear interior trims. Refer to Quarter Upper Trim Panel Replacement.
  24. Caution: Refer to Battery Disconnect Caution in the Preface section.

  25. Connect the negative battery cable. Refer to Battery Negative Cable Disconnection and Connection.
  26. Enable the SIR system. Refer to SIR Disabling and Enabling.
  27. If re-programming is required. Refer to Control Module References.