GM Service Manual Online
For 1990-2009 cars only

Removal Procedure

  1. Remove the digital radio receiver module. Refer to Digital Radio Receiver Replacement.

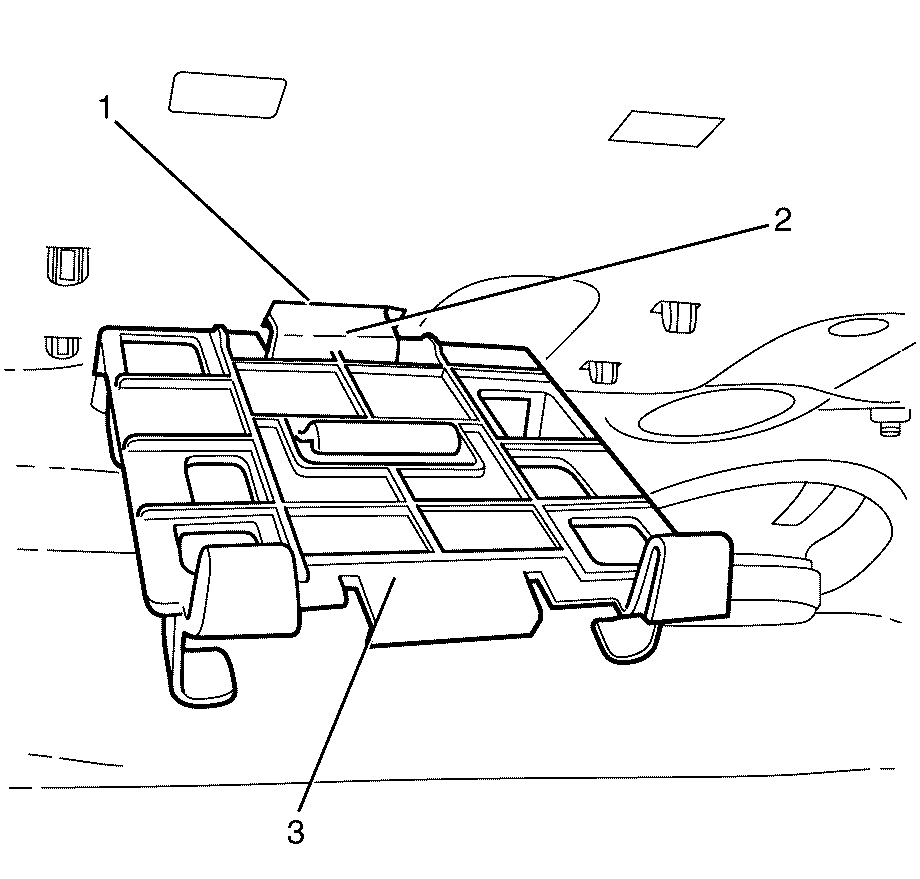
  2. Object Number: 2094148  Size: SH
  3. Disengage the digital radio receiver bracket to body retaining clips (2).
  4. Lower the rear end of the digital radio receiver bracket (3) away from the body (1).

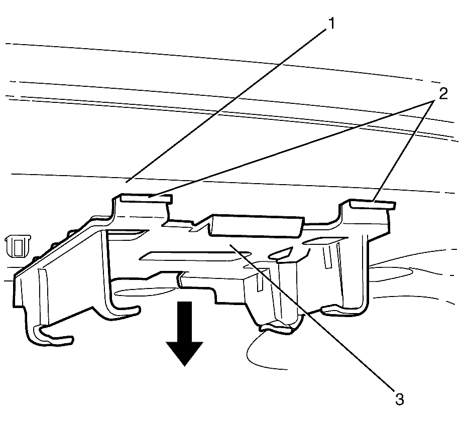
  5. Object Number: 2094150  Size: SH
  6. Slide the digital radio receiver bracket retainer (2) out of the body slot (1).
  7. Remove the digital radio receiver bracket (3) from the vehicle.

Installation Procedure


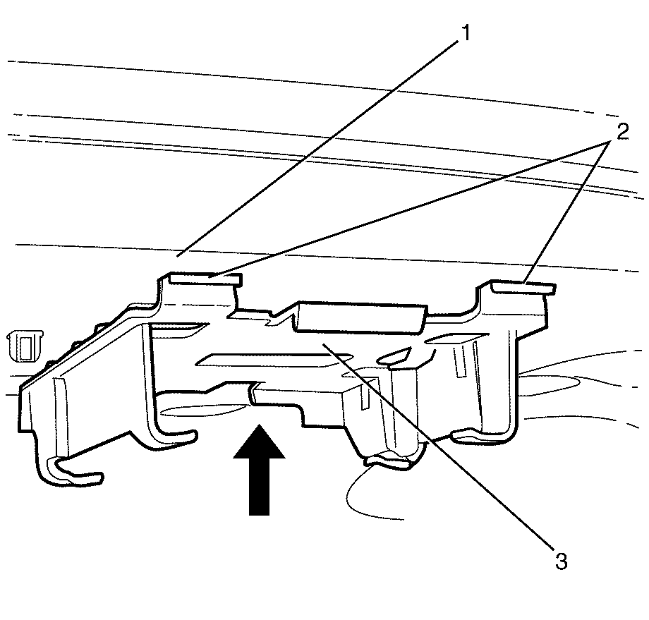
    Object Number: 2094150  Size: SH
  1. Install the digital radio receiver bracket (3) to the vehicle.
  2. Slide the digital radio receiver bracket retainer (2) into the body slot (1).

  3. Object Number: 2097303  Size: SH
  4. Apply suitable upward pressure to the digital radio receiver bracket (3) to engage the digital radio receiver bracket to body retaining clips (2).
  5. Install the digital radio receiver module. Refer to Digital Radio Receiver Replacement.