GM Service Manual Online
For 1990-2009 cars only

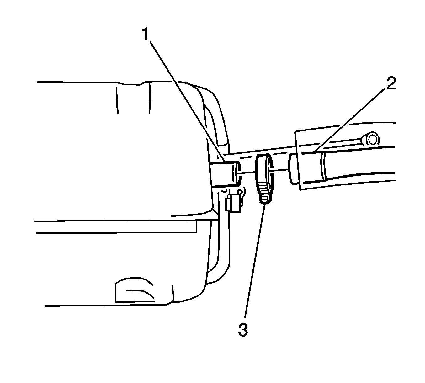
Removal Procedure

  1. Remove the fuel tank assembly. Refer to Fuel Tank Replacement .

  2. Object Number: 1372273  Size: SH
  3. Loosen the fuel tank filler neck throat to fuel filler neck flexible hose hose-clamp (3).
  4. Remove the filler neck hose (2) off from around the fuel tank filler neck throat (1).

Installation Procedure


    Object Number: 1372273  Size: SH
  1. Install the filler neck hose (2) on the fuel tank filler neck throat (1)
  2. Install the fuel tank filler neck throat to fuel filler neck flexible hose hose-clamp (3).
  3. Install the fuel tank assembly. Refer to Fuel Tank Replacement .