GM Service Manual Online
For 1990-2009 cars only

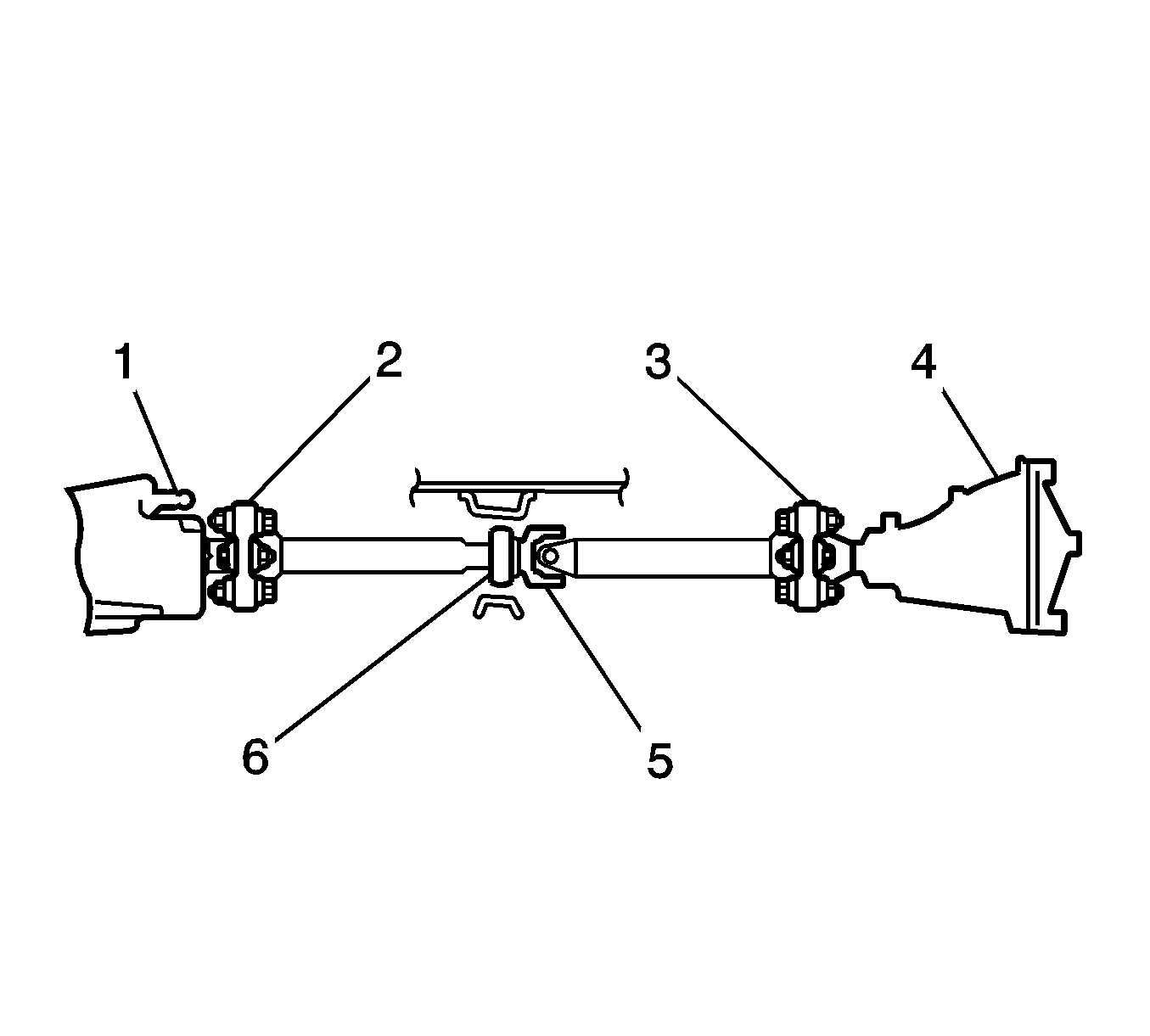
Two Piece Propeller Shaft


Object Number: 1273200  Size: SF
(1)Transmission
(2)Front Coupling
(3)Rear Coupling
(4)Differential
(5)Universal Joint
(6)Center Carrier Bearing

The propeller shaft assembly is a two piece tubular design that incorporates a center support bearing, a conventual cross type universal joint, and two rubber couplings, one on the front and one at the rear. The center support bearing prevents angular movement or whipping of the propeller shaft. The support bearing is a sealed, ball bearing type mounted in a reinforced rubber cushion. The rubber cushion is mounted in a cup guide and attached to the carrier and is bolted to the underbody.

Drive is transmitted between the two halves of the propeller shaft through a center universal joint directly behind the center bearing. the universal joint is a conventual cross design and is located and secured in each of two propeller shaft yoke by staking.

The rubber coupling fitted to the front the propeller shaft is bolted to a slip yoke at the transmission. The rubber coupling at the rear of the shaft is bolted to the pinion flange at the front of the differential assembly.

The universal joint is located directly behind the center support bearing on the rear propeller shaft. The universal joint allows for the driveline angle differences between the transmission and the rear axle.

The center bearing and the universal joint are lubricated for life and do not require any periodic lubrication.

By using the rubber couplings and having an interference fit between the two propeller shaft halves, measuring the driveline angles and propeller shaft phasing is not required.

The only serviceable components on the propeller shaft are the rubber couplings, the front slip yoke, and the associated fasteners for the following reasons:

    • The center universal joint bearing cups are set and retained by staking and sophisticated equipment is required during reassembly to ensure concentric reassembly. In the event the universal joint needs to be replaced, the propeller shaft assembly must be replaced.
    • In order to separate shaft halves, the interference fit of the splined joint requires sophisticated equipment to separate and reassemble the propeller shaft. In addition the propeller shaft would require rebalancing of the assembly. In the event the center bearing assembly needs to be replaced, the propeller shaft assembly must be replaced.