| Table 1: | Audio Amplifier |
| Table 2: | Cellular Telephone Connector |
| Table 3: | Inflatable Restraint Steering Wheel Module Coil |
| Table 4: | Radio C1 |
| Table 5: | Radio C2 |
| Table 6: | Rear Window Defogger Radio Antenna Module C2 |
| Table 7: | Speaker - LF |
| Table 8: | Speaker - LF Door |
| Table 9: | Speaker - LR |
| Table 10: | Speaker - LR Subwoofer |
| Table 11: | Speaker - RF |
| Table 12: | Speaker - RF Door |
| Table 13: | Speaker - RR |
| Table 14: | Speaker - RR Subwoofer |
| Table 15: | Steering Wheel Control Switch Assembly |
| |||||||
|---|---|---|---|---|---|---|---|
Connector Part Information |
| ||||||
Pin | Wire Color | Circuit No. | Function | ||||
1 | BN/BK | 199 | Left Rear Speaker Output (+) | ||||
2 | BU/OG | 46 | Right Rear Speaker Output (+) | ||||
3 | GN/WH | 1795 | Right Subwoofer Speaker Output (+) | ||||
4 | OG/BU | 1540 | Battery Positive Voltage | ||||
5 | BK/BU | 650 | Ground | ||||
6 | YE/BU | 116 | Left Rear Speaker Output (-) | ||||
7 | BU/BK | 115 | Right Rear Speaker Output (-) | ||||
8 | GN/RD | 315 | Right Subwoofer Speaker Output (-) | ||||
9 | YE/WH | 346 | Left Subwoofer Speaker Output (+) | ||||
10 | YE/RD | 1794 | Left Subwoofer Speaker Output (-) | ||||
11 | OG/BU | 1540 | Battery Positive Voltage | ||||
12 | BK/BU | 650 | Ground | ||||
| |||||||
|---|---|---|---|---|---|---|---|
Connector Part Information |
| ||||||
Pin | Wire Color | Circuit No. | Function | ||||
1 | OG/BK | 1040 | Battery Positive Voltage | ||||
2 | BK/GN | 151 | Ground | ||||
3 | YE | 43 | Accessory Voltage | ||||
4 | YE/BK | 5211 | Mute Signal | ||||
5 | BU/BK | 655 | Cellular Microphone Signal | ||||
6 | BU | 2506 | Audio Return Signal | ||||
| |||||||
|---|---|---|---|---|---|---|---|
Connector Part Information |
| ||||||
Pin | Wire Color | Circuit No. | Function | ||||
1-2 | -- | -- | Not Used | ||||
3 | BN | 1796 | Steering Wheel Controls Signal | ||||
4 | BK/YE | 1750 | Ground | ||||
5 | BK/GN | 151 | Ground | ||||
6 | BK/YE | 28 | Horn Relay Control | ||||
7 | GN | 3020 | Steering Wheel Module - Stage 1 - Low Control | ||||
8 | WH | 3021 | Steering Wheel Module - Stage 1 - High Control | ||||
| |||||||
|---|---|---|---|---|---|---|---|
Connector Part Information |
| ||||||
Pin | Wire Color | Circuit No. | Function | ||||
A1 | GN/WH | 1061 | UART Serial Data - Secondary | ||||
A2 | OG/BK | 1040 | Battery Positive Voltage | ||||
A3 | YE/BK | 5211 | Cellular Telephone Connector Mute Signal | ||||
A4 | YE | 43 | Accessory Voltage | ||||
A5 | YE/RD | 314 | Radio On Signal | ||||
A6 | BN/WH | 32 | Instrument Panel Lamp Fuse Supply Voltage | ||||
A7 | OG/BK | 1040 | Battery Positive Voltage | ||||
A8 | BK/WH | 851 | Ground | ||||
B1 | BU/OG | 46 | Right Rear Speaker Output (+) | ||||
B2 | BU/BK | 115 | Right Rear Speaker Output (-) | ||||
B3 | L-GN | 200 | Right Front Speaker Output (+) | ||||
B4 | GN | 117 | Right Front Speaker Output (-) | ||||
B5 | TN | 201 | Left Front Speaker Output (+) | ||||
B6 | GY | 118 | Left Front Speaker Output (-) | ||||
B7 | BN/BK | 199 | Left Rear Speaker Output (+) | ||||
B8 | YE/BU | 116 | Left Rear Speaker Output (-) | ||||
C1-C6 | -- | -- | Not Used | ||||
C7 | BU/BK | 655 | Cellular Microphone Signal | ||||
C8 | BU | 2506 | Audio Return Signal | ||||
C9-C10 | -- | -- | Not Used | ||||
C11 | BN | 1796 | Steering Wheel Controls Signal | ||||
C12 | BK/YE | 1750 | Ground | ||||
C13-C20 | -- | -- | Not Used | ||||
| |||||||
|---|---|---|---|---|---|---|---|
Connector Part Information |
| ||||||
Pin | Wire Color | Circuit No. | Function | ||||
A | BK | 5172 | Antenna Signal | ||||
B | BARE | -- | Drain Wire | ||||
| |||||||
|---|---|---|---|---|---|---|---|
Connector Part Information |
| ||||||
Pin | Wire Color | Circuit No. | Function | ||||
A | BK | 5172 | Antenna Signal | ||||
B | BARE | -- | Drain Wire | ||||
| |||||||
|---|---|---|---|---|---|---|---|
Connector Part Information |
| ||||||
Pin | Wire Color | Circuit No. | Function | ||||
A | TN | 201 | Left Front Speaker Output (+) | ||||
B | GY | 118 | Left Front Speaker Output (-) | ||||
| |||||||
|---|---|---|---|---|---|---|---|
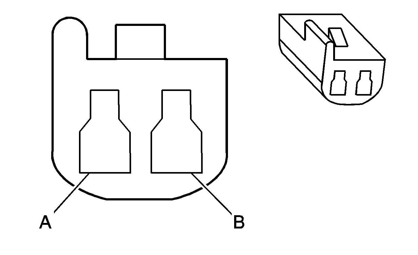
Connector Part Information |
| ||||||
Pin | Wire Color | Circuit No. | Function | ||||
A | GY | 118 | Left Front Door Speaker Output (-) | ||||
B | TN | 201 | Left Front Door Speaker Output (+) | ||||
| |||||||
|---|---|---|---|---|---|---|---|
Connector Part Information |
| ||||||
Pin | Wire Color | Circuit No. | Function | ||||
A | YE/BU | 116 | Left Rear Speaker Output (-) | ||||
B | BN/BK | 199 | Left Rear Speaker Output (+) | ||||
| |||||||
|---|---|---|---|---|---|---|---|
Connector Part Information |
| ||||||
Pin | Wire Color | Circuit No. | Function | ||||
A | YE/RD | 1794 | Left Subwoofer Speaker Output (-) | ||||
B | YE/WH | 346 | Left Subwoofer Speaker Output (+) | ||||
| |||||||
|---|---|---|---|---|---|---|---|
Connector Part Information |
| ||||||
Pin | Wire Color | Circuit No. | Function | ||||
A | L-GN | 200 | Right Front Speaker Output (+) | ||||
B | GN | 117 | Right Front Speaker Output (-) | ||||
| |||||||
|---|---|---|---|---|---|---|---|
Connector Part Information |
| ||||||
Pin | Wire Color | Circuit No. | Function | ||||
A | GN | 117 | Right Front Door Speaker Output (-) | ||||
B | L-GN | 200 | Right Front Door Speaker Output (+) | ||||
| |||||||
|---|---|---|---|---|---|---|---|
Connector Part Information |
| ||||||
Pin | Wire Color | Circuit No. | Function | ||||
A | BU/BK | 115 | Right Rear Speaker Output (-) | ||||
B | BU/OG | 46 | Right Rear Speaker Output (+) | ||||
| |||||||
|---|---|---|---|---|---|---|---|
Connector Part Information |
| ||||||
Pin | Wire Color | Circuit No. | Function | ||||
A | GN/RD | 315 | Right Subwoofer Output (-) | ||||
B | GN/WH | 1795 | Right Subwoofer Output (+) | ||||
| |||||||
|---|---|---|---|---|---|---|---|
Connector Part Information |
| ||||||
Pin | Wire Color | Circuit No. | Function | ||||
A | PK | 1750 | Ground | ||||
B | GY | 1796 | Steering Wheel Controls Signal | ||||