GM Service Manual Online
For 1990-2009 cars only

Brake Pressure Differential Switch


Object Number: 1356223  Size: CH

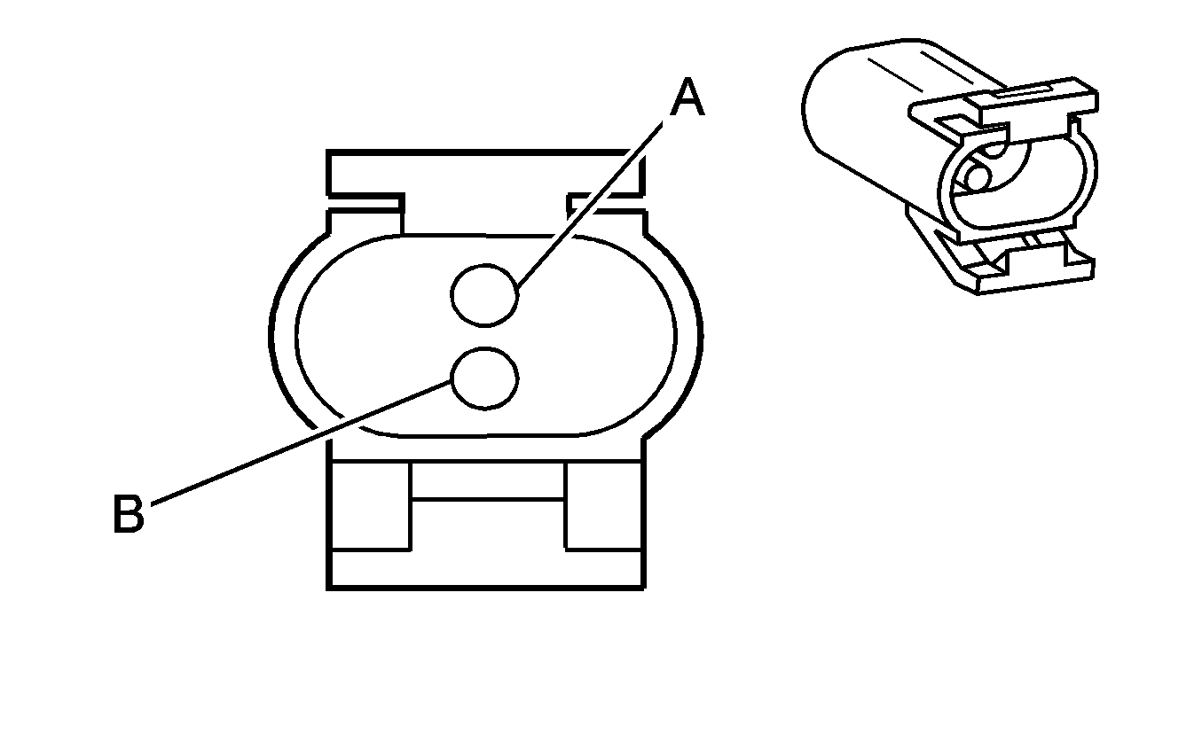
Connector Part Information

    • 9400-4004
    • 2-Way Female (WH)

Pin

Wire Color

Circuit No.

Function

A

BN/OG

33

Brake Warning Indicator Control

B

--

--

Not Used