GM Service Manual Online
For 1990-2009 cars only

Removal Procedure

  1. Remove both engine covers.

  2. Object Number: 1360223  Size: SH
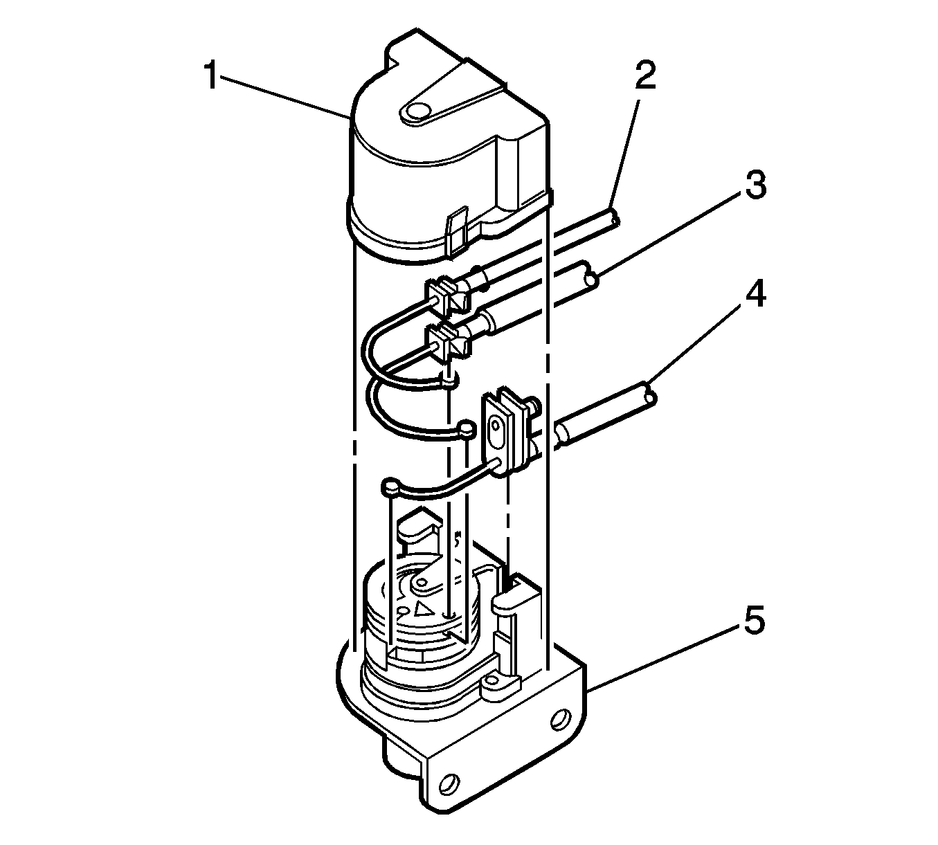
  3. Remove the throttle relaxer cover (1).
  4. Disconnect the throttle relaxer connector.
  5. Disconnect the accelerator cables (2) and (3) from the throttle relaxer. Refer to Accelerator Control Cable Replacement in Engine Controls - 5.7L.
  6. Disconnect the cruise control cable (4) from the throttle relaxer. Refer to Cruise Control Cable Replacement in Cruise Control.

  7. Object Number: 1358867  Size: SH
  8. Remove the throttle relaxer retaining nuts (2) and then throttle relaxer assembly (1).

Installation Procedure


    Object Number: 1358867  Size: SH
  1. Install the throttle relaxer (1). Secure with two nuts (2).

  2. Object Number: 1360223  Size: SH
  3. Connect the cruise control cable (4) to the throttle relaxer. Refer to Cruise Control Cable Replacement in Cruise Control.
  4. Connect the accelerator cables (2) and (3) to the throttle relaxer. Refer to Accelerator Control Cable Replacement in Engine Controls - 5.7L.
  5. Connect the throttle relaxer connector.
  6. Adjust the cables. Refer to Throttle Relaxer Assembly Adjustment .
  7. Install the throttle relaxer cover (1)
  8. Install both engine covers.