GM Service Manual Online
For 1990-2009 cars only
Table 1: Shift Lock Solenoid
Table 2: Stop Lamp Switch C3

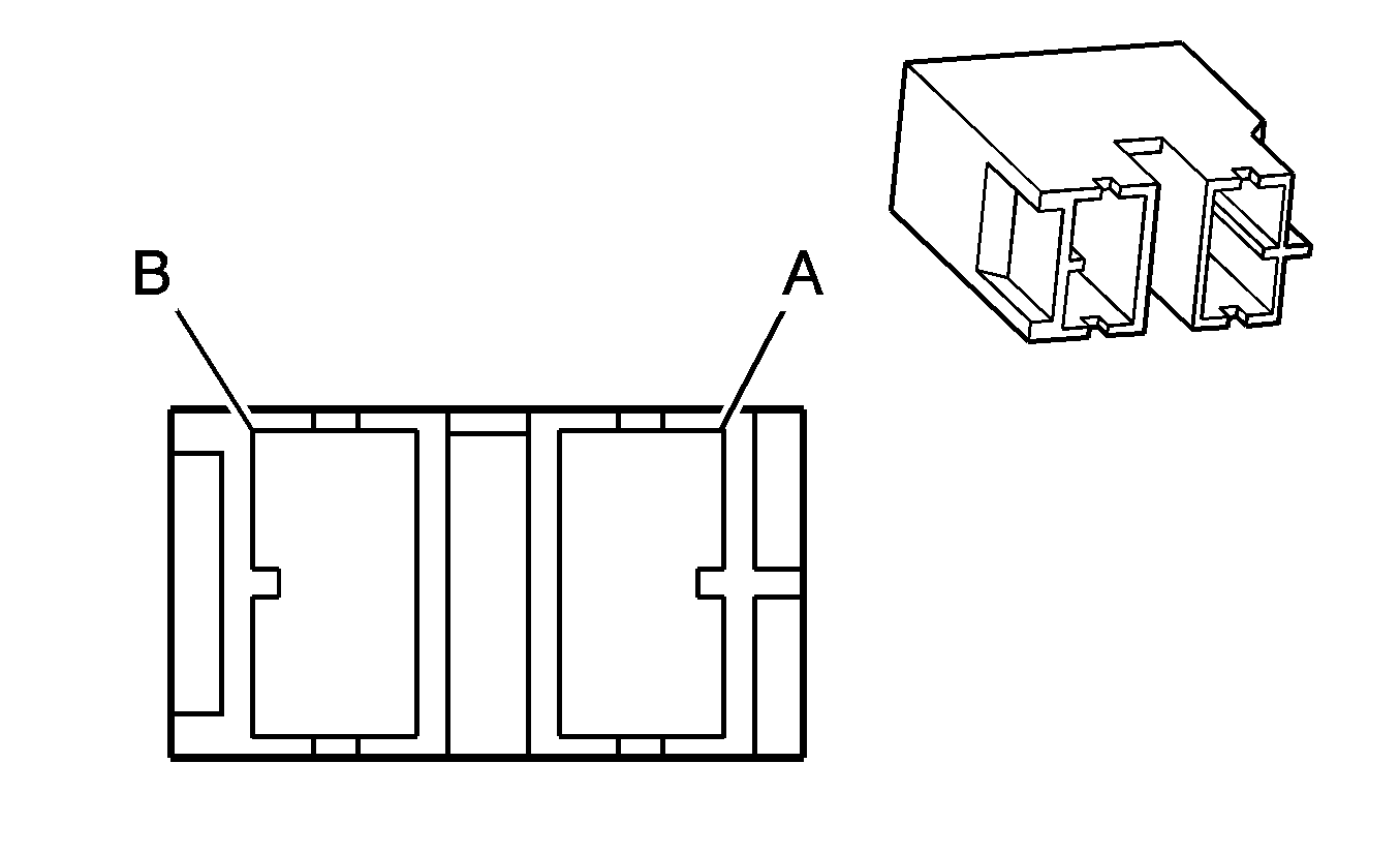
Shift Lock Solenoid


Object Number: 1356361  Size: CH

Connector Part Information

    • 9123-6521-30
    • 2-Way (BK)

Pin

Wire Color

Circuit No.

Function

A

TN/WH

816

A/T Shift lock Solenoid Supply Voltage

B

PK

1077

Ignition Key/Shifter Interlock Solenoid Unlock

Stop Lamp Switch C3


Object Number: 1356210  Size: CH

Connector Part Information

    • 9123-6521
    • 2-Way (BK)

Pin

Wire Color

Circuit No.

Function

A

TN/WH

816

A/T Shift lock Solenoid Supply Voltage

B

PK

139

Ignition 1 Voltage