GM Service Manual Online
For 1990-2009 cars only

Seat Belt Indicator System

The driver seat belt system includes a switch in the driver seat belt buckle which controls the seat belt indicator lamp in the instrument panel cluster (IPC) and the sounding of a tone alarm. When the ignition switch is turned to the ON position, and the driver seat belt is unbuckled, the driver seat belt switch is closed and provides a ground to the seat belt indicator in the IPC. The indicator receives ignition voltage through the IPC feed circuits. The indicator flashes continuously when the seat belt is unbuckled. When the seat belt is buckled, the switch is opened, and the indicator goes out.

The seat belt switch also provides a ground for the seat belt warning alarm. The alarm sounds for 5 seconds if the driver seat belt is unbuckled when the ignition switch is turned to the ON position. If the driver buckles the seat belt during this time (opening the switch), the alarm will stop.

Front Seat Belt System

The front seat belt system includes the following components:

    • The driver and the passenger seat belt retractors. The driver and passenger seat belt retractors are located on the center pillar.
    • The driver and passenger seat belt buckles. The driver and the passenger seat belt buckles are located between the front seats. The seat belt buckles are attached to each seat.
    • The driver seat belt system includes a seat belt switch in the driver seat belt buckle which controls the fasten safety belt indicator and a tone alarm.

Rear Seat Belt System

The rear seat belt system includes the following components:

    • The rear seat belt retractor is located behind the rear quarter trim panel and is attached to the body.
    • The rear seat belt buckles are located beneath the seat cushion and are attached to the rear floor pan.

Child Seat Restraint System

Caution: A child in a rear-facing child restraint can be seriously injured if the right-front passengers air bag inflates. This is because the back of a rear-facing child restraint would be very close to the inflating air bag. NEVER use a rear-facing child restraint in this vehicle. If a forward-facing child restraint is suitable for your child, ALWAYS move the front passenger seat as far back as it will go and then install the child restraint. Be sure the child restraint position does not conflict with any additional requirements provided by the manufacturer. For more information, refer to the vehicle owners manual and the instruction that came with the child restraint.

The child seat may only be used in a forward facing seating location. The child seat should be installed and secured according to the manufacturer's directions.


Object Number: 1353844  Size: SH

The vehicle is equipped with a upper child seat anchor bracket (2) for each rear seat position. The upper brackets (2) are located behind the rear seat back cushion, on the filler panel behind the head restraints.


Object Number: 701914  Size: SH

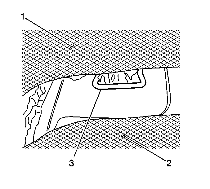
The vehicle is also equipped with a lower child seat anchor bracket (3) for each rear seat position. The lower brackets (3) are located below the rear seat back cushion (1), behind the rear seat cushion (2).

Important: It will be necessary to raise the rear head restraint and install the child seat top strap beneath it, when utilizing either the left, center or right upper anchor bracket.

If the child seat has a top strap it must be anchored to one of the upper anchor brackets. If the child seat has a bottom strap it must be anchored to one of the lower anchor brackets.

Passengers should not be allowed to sit at locations where the seat belts are being used to secure the child seat.

All vehicles are equipped with a dual-mode type retractor with emergency and automatic locking features. The automatic locking feature is for restraint of a child seat. The child seat can be secured by pulling the seat belt all the way out to lock it. Then, tighten the seat belt around the child seat.