GM Service Manual Online
For 1990-2009 cars only

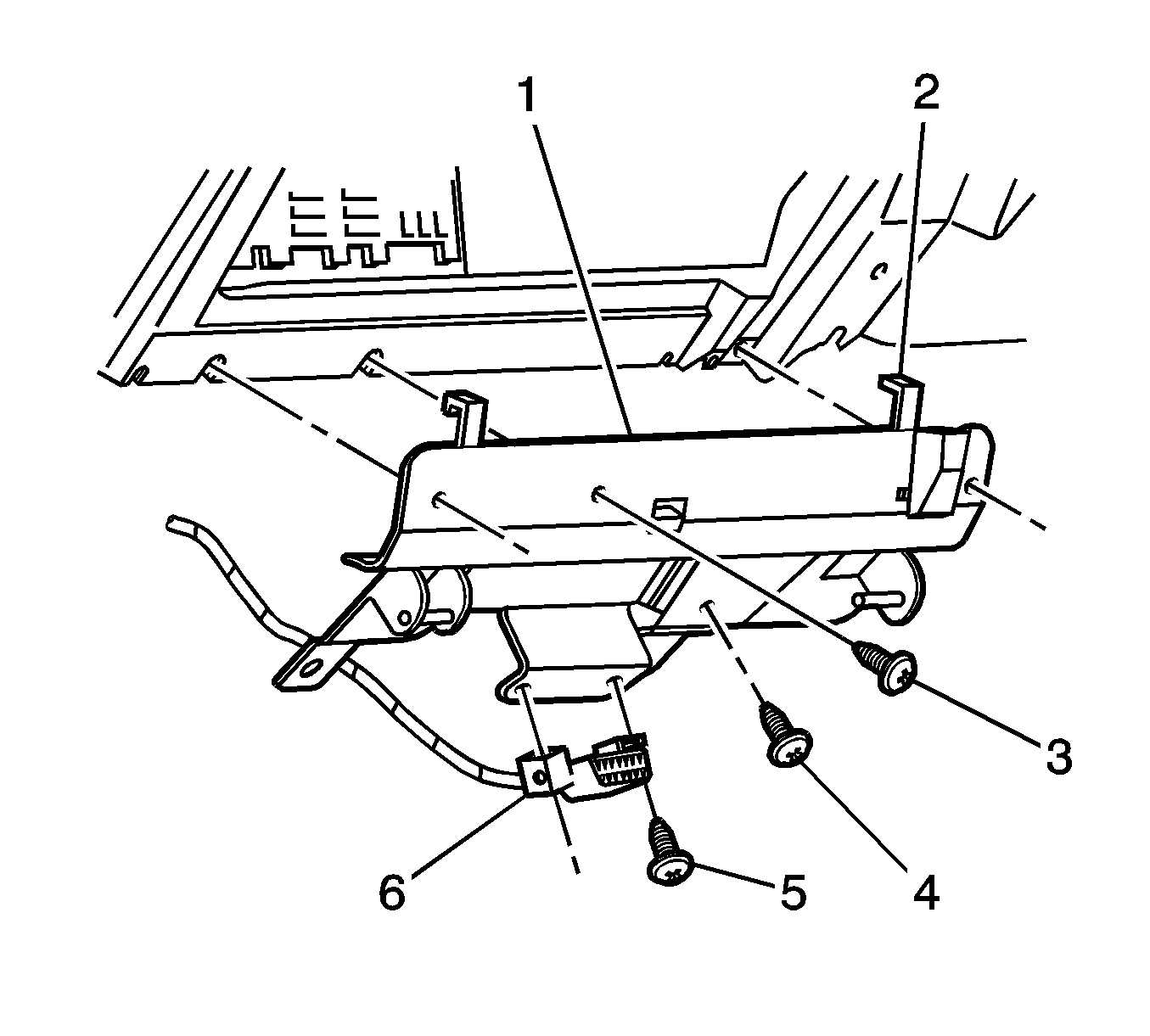
Removal Procedure


    Object Number: 1358199  Size: SH
  1. Remove the left closeout/insulator panel. Refer to Instrument Panel Insulator Panel Replacement - Left Side .
  2. Remove the knee bolster panel. Refer to Driver Knee Bolster Replacement .
  3. Remove the 2 screws (5) securing the data link connector (6) to the instrument panel lower trim retainer (1).
  4. Remove the screw (4) attaching the retainer (1) to the air duct.
  5. Remove the 3 screws (3) attaching the retainer (1) to the instrument panel assembly.
  6. Swing the lower part of the retainer (1) downward and disengage the two lugs (2) from the instrument panel assembly.
  7. Remove the retainer (1) from the instrument panel.

Installation Procedure


    Object Number: 1358199  Size: SH
  1. Position the retainer (1) to the instrument panel, making sure the 2 lugs (2) are engaged.
  2. Notice: Refer to Fastener Notice in the Preface section.

  3. Install the 3 screws (3) securing the retainer (1) to the instrument panel.
  4. Tighten
    Tighten the 3 screws to 2 N·m (18 lb in).

  5. Install the screw (4) securing the retainer (1) to the air duct.
  6. Tighten
    Tighten the screw to 2 N·m (18 lb in).

  7. Install the 2 screws (5) securing the data link connector (6) to the retainer (1).
  8. Tighten
    Tighten the 2 screws to 2 N·m (18 lb in).

  9. Install the knee bolster panel. Refer to Driver Knee Bolster Replacement .
  10. Install the left closeout/insulator panel. Refer to Instrument Panel Insulator Panel Replacement - Left Side .