GM Service Manual Online
For 1990-2009 cars only

Removal Procedure

  1. Remove the right inner quarter rear side carpet. Refer to Rear Compartment Front Trim Panel Replacement in Interior Trim.
  2. Remove the right quarter trim panel. Refer to Rear Quarter Trim Panel Replacement in Interior Trim.

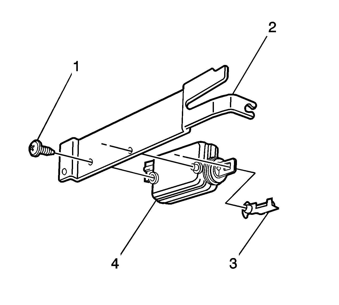
  3. Object Number: 1378911  Size: SH
  4. Open the fuel filler door.
  5. Remove the screw (1) attaching the actuator assembly (2) to the speaker mounting bracket.
  6. Disconnect the electrical connector (5) from the actuator assembly (2).
  7. Open the retainer (3) and remove the cable (4) from the actuator assembly (2).
  8. Remove the actuator assembly (2) from the vehicle.

  9. Object Number: 1378904  Size: SH
  10. Remove the screw (1) attaching the actuator (4) to the mounting plate (2).
  11. Unclip the retainer (3) from the actuator (4).

Installation Procedure


    Object Number: 1378904  Size: SH
  1. Install the retainer (3) to the actuator (4).
  2. Notice: Refer to Fastener Notice in the Preface section.

  3. Install the screw (1) attaching the actuator (4) to the mounting plate (2).
  4. Tighten
    Tighten the screw to 2 N·m (18 lb in).


    Object Number: 1378911  Size: SH
  5. Position the actuator assembly (2) to the vehicle.
  6. Open the retainer (3) and install the cable (4) to the actuator assembly (2).
  7. Connect the electrical connector (5) to the actuator assembly (2).
  8. Install the screw (1) attaching the actuator assembly (2) to the speaker mounting bracket.
  9. Tighten
    Tighten the screw to 2 N·m (18 lb in).

  10. Close the fuel filler door.
  11. Install the right quarter trim panel. Refer to Rear Quarter Trim Panel Replacement in Interior Trim.
  12. Install the right inner quarter rear side carpet. Refer to Rear Compartment Front Trim Panel Replacement in Interior Trim.