GM Service Manual Online
For 1990-2009 cars only

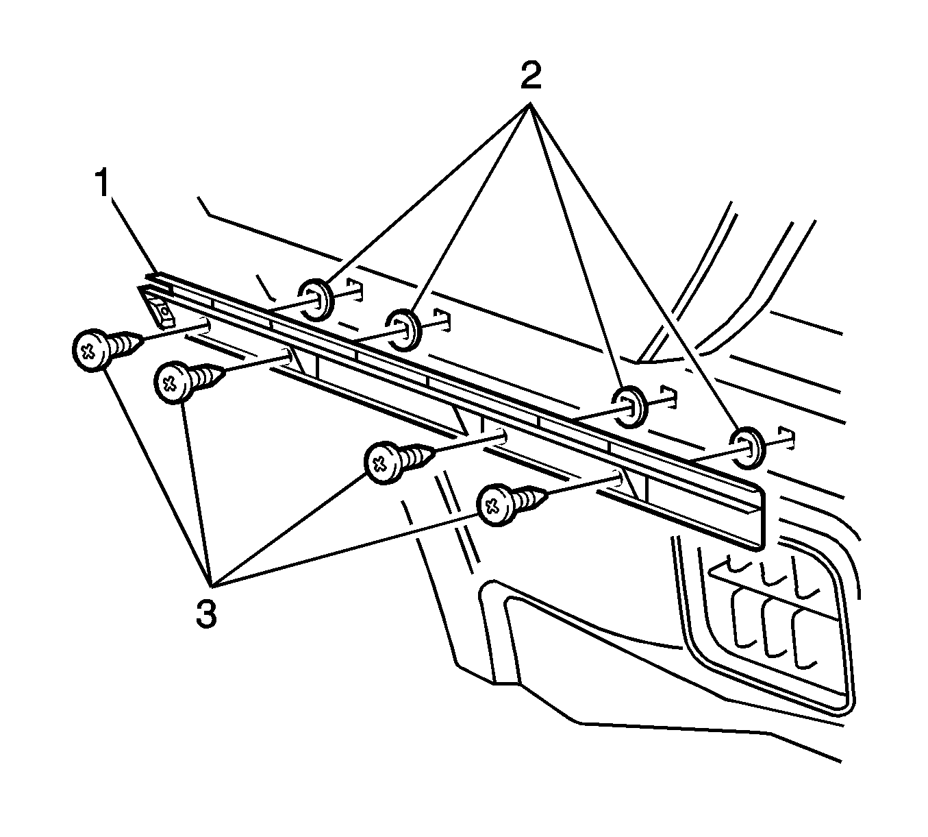
Removal Procedure


    Object Number: 1335017  Size: SH
  1. Remove the rear bumper fascia. Refer to Rear Bumper Fascia Replacement .
  2. Remove the screws (3) attaching the outer support (1).
  3. Important: Make sure the seals (2) are removed with the outer support (1).

  4. Pull the outer support (1) out to detach it from the vehicle.

Installation Procedure


    Object Number: 1335017  Size: SH
  1. Position the rear bumper fascia outer support (1) with the seals (2) to the vehicle.
  2. Notice: Refer to Fastener Notice in the Preface section.

  3. Install the screws (3) attaching the rear bumper fascia outer support (1) to the vehicle.
  4. Tighten
    Tighten the screws to 2 N·m (18 lb in).

  5. Install the rear bumper fascia. Refer to Rear Bumper Fascia Replacement .