GM Service Manual Online
For 1990-2009 cars only

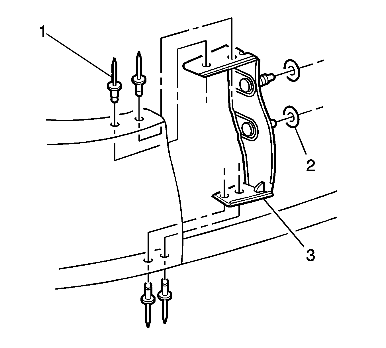
Removal Procedure


    Object Number: 1335155  Size: SH
  1. Remove the rear bumper fascia. Refer to Rear Bumper Fascia Replacement .
  2. Important: If reusing the fascia assembly, make sure not to enlarge the rivet holes.

  3. Drill out the 4 rivets (1) attaching the bracket assembly (3) to the rear fascia.
  4. Remove the bracket assembly (3) and, if required, the two seals (2).

Installation Procedure


    Object Number: 1335155  Size: SH
  1. Position the rear bumper fascia bracket (3) with the seals (2), if removed to the fascia assembly.
  2. Notice: Refer to Fastener Notice in the Preface section.

  3. Install new rivets (1) attaching the rear bumper fascia bracket (3) to the fascia assembly.
  4. Install the rear bumper fascia. Refer to Rear Bumper Fascia Replacement .