GM Service Manual Online
For 1990-2009 cars only

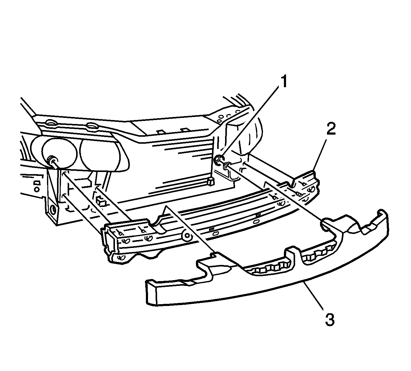
Removal Procedure


    Object Number: 1333747  Size: SH
  1. Remove the front bumper fascia. Refer to Front Bumper Fascia Replacement .
  2. Remove the front bumper energy absorber (3). Refer to Front Bumper Fascia Energy Absorber Replacement .
  3. Remove the radiator air baffle. Refer to Radiator Air Baffle Assemblies and Deflectors in Engine Cooling.
  4. Remove the 6 nuts (1) from the front bumper impact bar (2).
  5. Remove the front bumper impact bar (2) from the vehicle.

Installation Procedure


    Object Number: 1333747  Size: SH
  1. Align the front bumper impact bar (2) to the vehicle.
  2. Notice: Refer to Fastener Notice in the Preface section.

  3. Install the 6 nuts (1) to the front bumper impact bar (2) at the body.
  4. Tighten
    Tighten the front bumper impact bar to body nuts to 25 N·m (18 lb ft).

  5. Install the radiator air baffle. Refer to Radiator Air Baffle Assemblies and Deflectors in Engine Cooling.
  6. Install the front bumper energy absorber (3). Refer to Front Bumper Fascia Energy Absorber Replacement .
  7. Install the front bumper fascia. Refer to Front Bumper Fascia Replacement .