GM Service Manual Online
For 1990-2009 cars only

Removal Procedure

  1. Remove the seat back. Refer to Rear Seat Back Replacement .
  2. Remove the rear seat head restraint. Refer to Rear Seat Head Restraint Replacement .
  3. Remove the rear seat back rest. Refer to Rear Seat Back Replacement .

  4. Object Number: 1372209  Size: SH
  5. Remove 2 rear seat back center to rear seat back frame retaining screws (1).
  6. Remove the rear seat back center from the rear seat back assembly.

  7. Object Number: 1372213  Size: SH
  8. Unzip the rear seat back cover flap (1).
  9. Unclip the rear seat back cover to frame retainers (2)

  10. Object Number: 1372216  Size: SH
  11. Push the rear seat back cover flap (1), through the opening in the rear seat back pad (2).

  12. Object Number: 1372220  Size: SH
  13. Pull the flap (1), completely through the opening in the rear seat back pad.

  14. Object Number: 1372222  Size: SH
  15. Unclip the rear seat back cover to the rear seat back frame retainers (1), in 15 places.
  16. Remove the seat back pad and cover.

  17. Object Number: 1372225  Size: SH
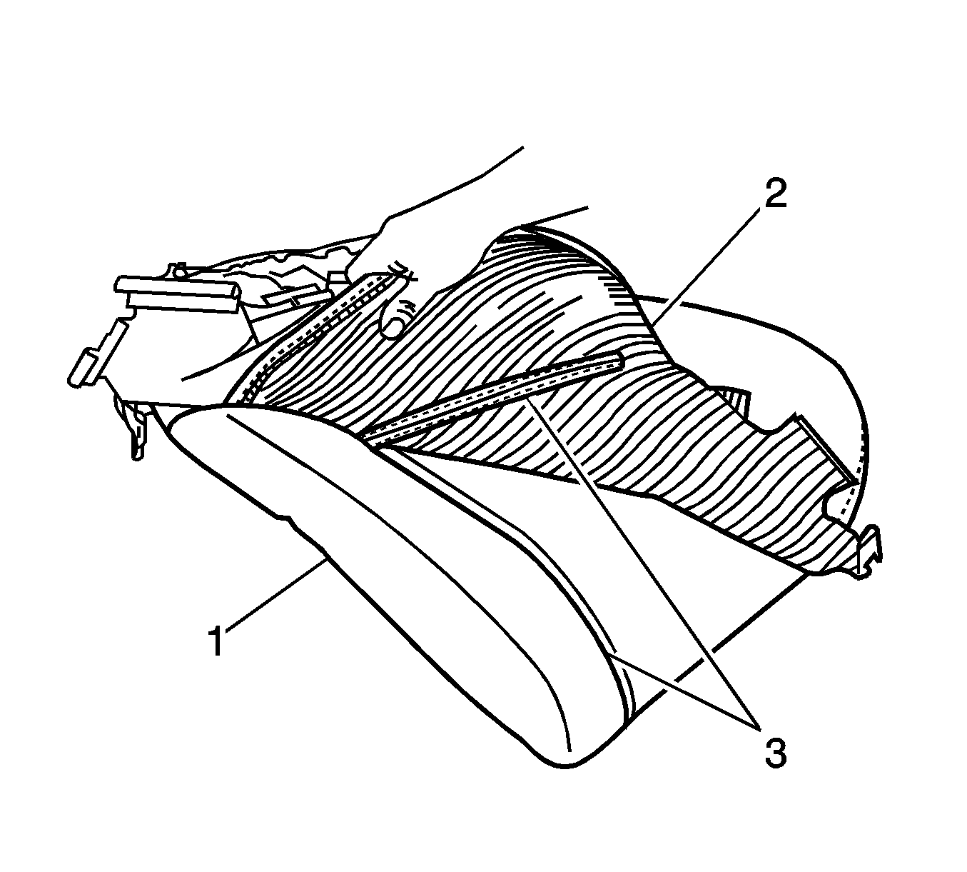
  18. Fold the lower corners of the seat back cover (1), over the seat back pad.

  19. Object Number: 1372229  Size: SH
  20. While holding the front seat back pad (1), pull the lower corners of the seat back cover (2), upwards and away from the seat pad to disengage the hook and loop strips (3).
  21. Pull the front seat back cover up and over the upper edge of the front seat back pad.

Installation Procedure


    Object Number: 1363213  Size: SH
  1. With the seat back cover (1) folded and the center horizontal strip of hook and loop (4), align the center mark (2), on the front seat back cover with the center mark (3) on the seat back pad.
  2. Press the seat back into the corresponding groove in the seat back pad to engage the hook and loop.

  3. Object Number: 1372230  Size: SH
  4. Press the seat back cover (1), into the corresponding grooves in the seat back pad (2).

  5. Object Number: 1372231  Size: SH
  6. Press behind the head restraint guide holes, under the flap (1), of the rear seat back cover (2), engaging the hook and loop into the corresponding groove in the seat back pad.
  7. Important: Make sure the pad is fitted neatly by hand into all corners and contours of the seat cover.

  8. Roll the lower corners of the seat back over the seat back pad.
  9. Roll the sides of the seat back cove over the seat back pad.
  10. Roll the upper corners of the rear seat back cover over the seat back pad.
  11. Important: Do not feed the flap through the opening in the rear seat back pad until the cover is secured to the frame.

  12. Fit the cover and pad assembly to the rear seat back frame.
  13. Position the seat back pad and cover.

  14. Object Number: 1372222  Size: SH
  15. Clip the rear seat back cover to the rear seat back frame retainers (1), in 15 places.

  16. Object Number: 1372216  Size: SH
  17. Push the rear seat back cover flap (1), through the opening in the rear seat back pad (2).

  18. Object Number: 1372213  Size: SH
  19. Clip the rear seat back cover to frame retainers (2)
  20. Zip the rear seat back cover flap (1).
  21. Position the rear seat back center to the rear seat back assembly.
  22. Notice: Refer to Fastener Notice in the Preface section.


    Object Number: 1372209  Size: SH
  23. Install 2 rear seat back center to rear seat back frame retaining screws (1).
  24. Tighten
    Tighten the rear seat back center retaining screws to 2 N·m (18 lb in).

  25. Install the rear seat back rest. Refer to Rear Seat Back Replacement .
  26. Install the rear seat head restraint. Refer to Rear Seat Head Restraint Replacement .