GM Service Manual Online
For 1990-2009 cars only

Removal Procedure

    Important: The front seat back rear cover retaining clips will require replacement.


    Object Number: 1364501  Size: SH
  1. Pull the lower corners of the front seat back rear cover (1) away from the seat (3), breaking the retaining clip (2) in two places.

  2. Object Number: 1364502  Size: SH
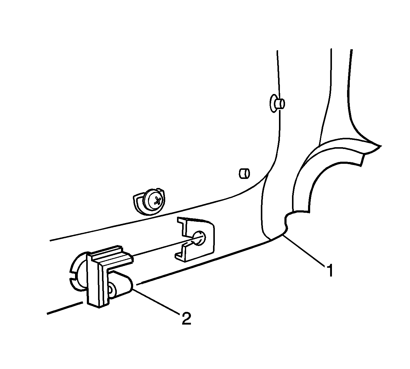
  3. While holding the side of the front seat back rear cover (2) out, pull the cover down to release the upper retaining clips (1).
  4. Remove the seat back cover.

Installation Procedure


    Object Number: 1364504  Size: SH
  1. Replace the damaged retaining clip (2) on the front seat back rear cover (1) in two places.

  2. Object Number: 1364506  Size: SH
  3. Locate the upper retaining lug (1), in two places, with the seat back.
  4. Push the front seat back rear cover (2) up and in at the lower edge to engage the two lower retaining clips.