GM Service Manual Online
For 1990-2009 cars only

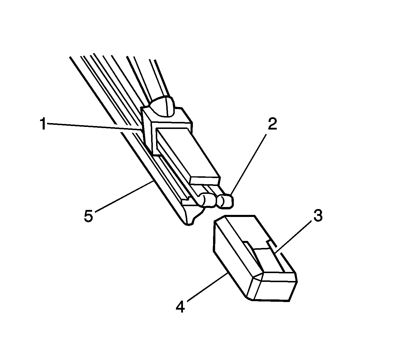
Removal Procedure


    Object Number: 1271659  Size: SH

    Important: Replace the wiper blade element if it is removed from the wiper blade.

  1. Remove the wiper blade from the wiper arm. Refer to Windshield Wiper Blade Replacement .
  2. Using a flat-bladed tool, lift the retention lug (4) and slide the end cap (3) off the wiper blade element (1), on both ends of the wiper blade assembly (2).
  3. Slide the element out (1) of the wiper blade (2) and discard.

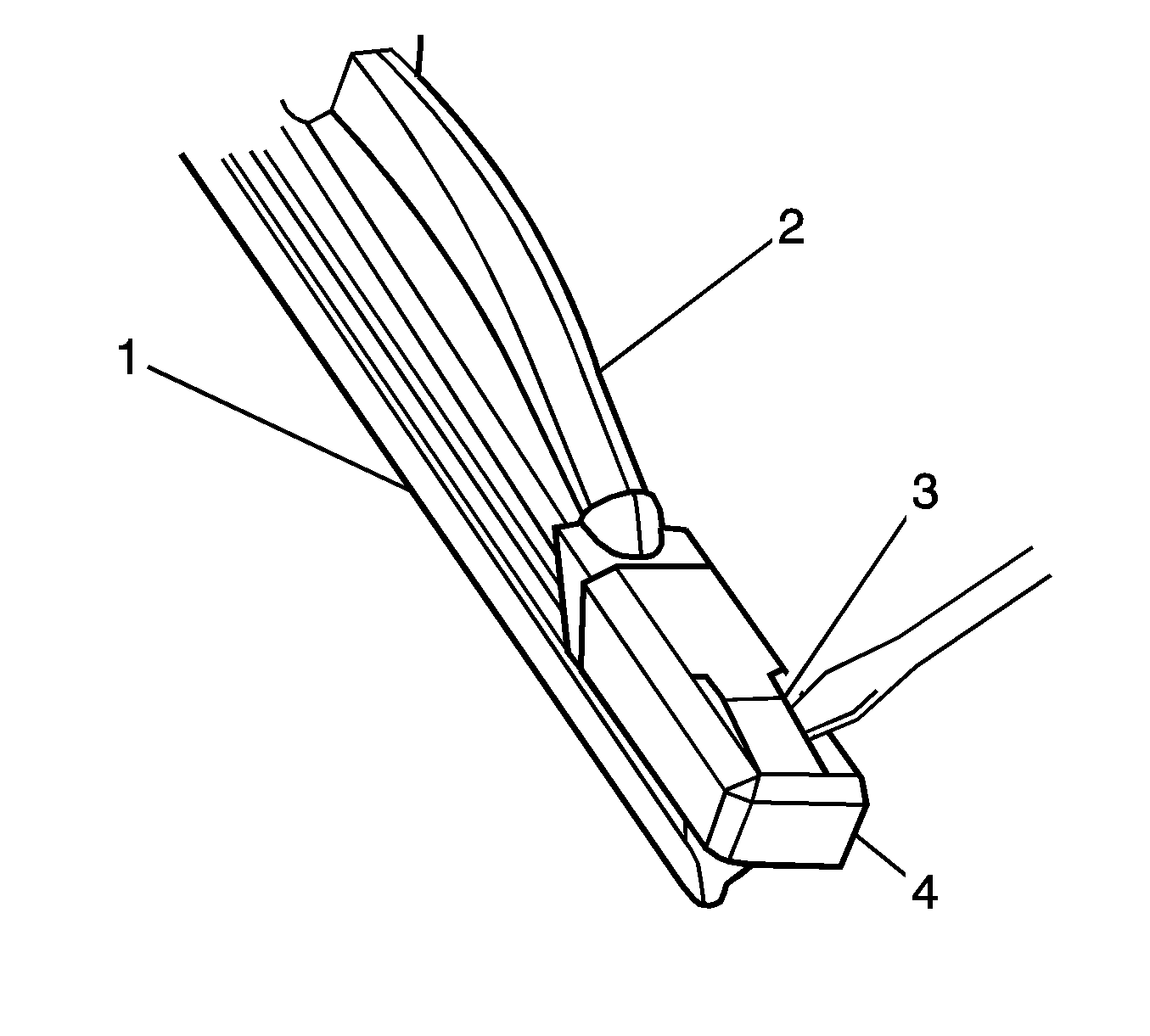
Installation Procedure


    Object Number: 1271660  Size: SH

    Important: Do not re-use the end cap. The replacement element will be supplied with end caps fitted.

  1. Remove the end caps (4) from the new wiper element (5) and slide the wiper element (5) into the wiper blade assembly ensuring that the wiper element (5) passes through each metal claw (2).
  2. Assemble the new cap (4) onto each end of the wiper element (5), ensuring that the retention lug (3) on the end caps (4) are located securely behind the two upturned ends of the metal rails (2).
  3. Install the wiper blade onto the wiper arm. Refer to Windshield Wiper Blade Replacement .