GM Service Manual Online
For 1990-2009 cars only
Table 1: A/C Compressor Clutch
Table 2: A/C Diode
Table 3: A/C Refrigerant Pressure Sensor
Table 4: Blower Motor
Table 5: Blower Motor Resistor Assembly
Table 6: HVAC Control Assembly C1
Table 7: HVAC Control Assembly C2

A/C Compressor Clutch


Object Number: 1356164  Size: CH

Connector Part Information

    • 7219-1740-40
    • 2-Way Female (GY)

Pin

Wire Color

Circuit No.

Function

A

BK/RD

450

Ground

B

GN

59

A/C Compressor Clutch Supply Voltage

A/C Diode


Object Number: 1356236  Size: CH

Connector Part Information

    • 7283-1223-30
    • 2-Way Female (BK)

Pin

Wire Color

Circuit No.

Function

A

BK/RD

450

Ground

B

GN

59

A/C Compressor Clutch Supply Voltage

A/C Refrigerant Pressure Sensor


Object Number: 258299  Size: CH

Connector Part Information

    • 7223-9730-30
    • 3-Way Female (GY)

Pin

Wire Color

Circuit No.

Function

A

TN

5514

Low Reference

B

GN

2700

5-Volt Reference

C

GN/BK

380

A/C Refrigerant Pressure Sensor Signal

Blower Motor


Object Number: 1356172  Size: CH

Connector Part Information

    • M3
    • 2-Way Female (WH)

Pin

Wire Color

Circuit No.

Function

A

OG

1042

Battery Positive Voltage

B

YE

101

Blower Motor Supply Voltage

Blower Motor Resistor Assembly


Object Number: 1356183  Size: CH

Connector Part Information

    • 7123-2840
    • 4-Way Female (WH)

Pin

Wire Color

Circuit No.

Function

1

YE

101

Blower Motor Supply Voltage

2

RD/GN

72

Medium 2 Blower Motor Control

3

RD/YE

73

Medium 3 Blower Motor Control

4

D-GN/YE

63

Blower Motor Low Control

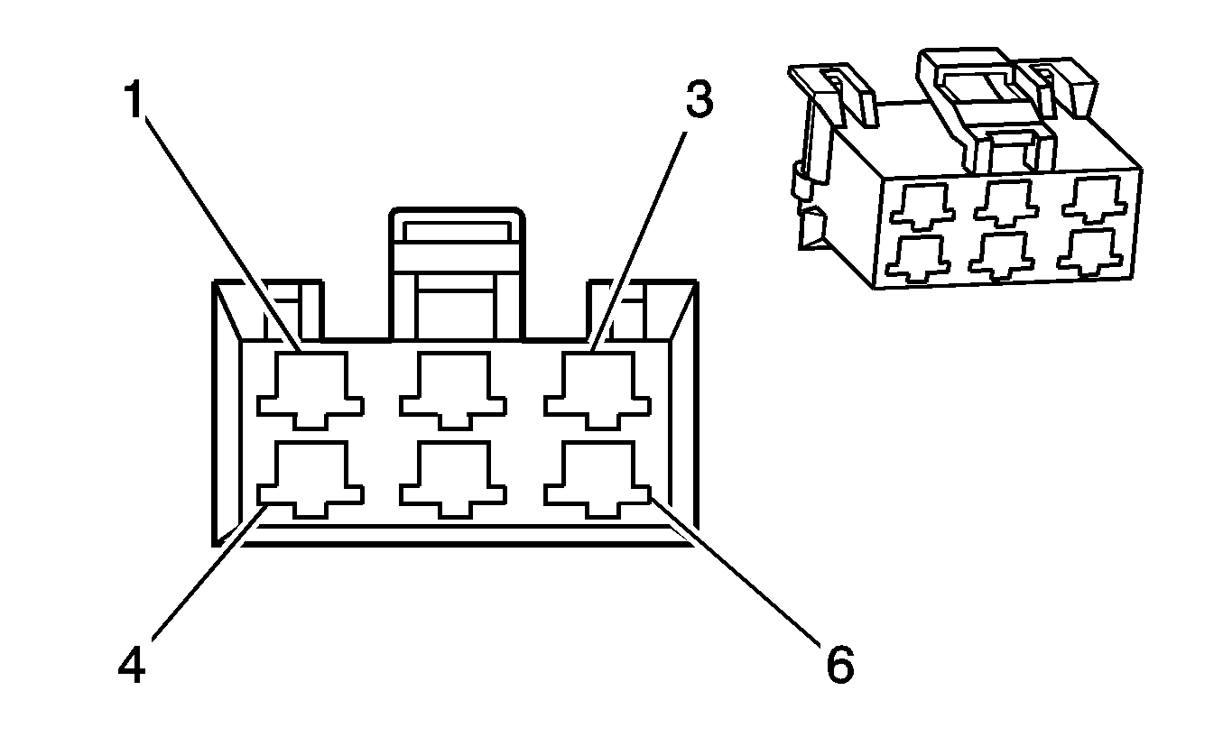
HVAC Control Assembly C1


Object Number: 1356060  Size: CH

Connector Part Information

    • 7123-6060
    • 6-Way Female (WH)

Pin

Wire Color

Circuit No.

Function

1

OG/GN

188

Blower Motor Resistor Assembly Supply Voltage

2

--

--

Not Used

3

GN

63

Blower Motor Low Control

4

YE/BK

52

Blower Motor High Control

5

RD/YE

73

Medium 3 Blower Motor Control

6

RD/GN

72

Medium 2 Blower Motor Control

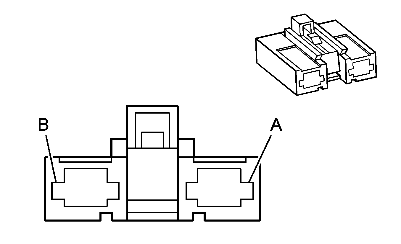
HVAC Control Assembly C2


Object Number: 1356070  Size: CH

Connector Part Information

    • 7283-7387-30
    • 8-Way Female (BK)

Pin

Wire Color

Circuit No.

Function

1

OG

292

Rear Defog Switch Signal

2

RD/WH

66

A/C Request Signal

3

RD/BK

762

A/C Request Signal

4

GY

230

Instrument Panel Lamps Dimming Control

5

PK/BU

539

Ignition 1 Voltage

6

--

--

Not Used

7

BK/RD

681

Secondary Rear Defog Switch Signal

8

BN/WH

32

Instrument Panel Lamps Fuse Supply Voltage