GM Service Manual Online
For 1990-2009 cars only
Table 1: Inflatable Restraint I/P Module
Table 2: Inflatable Restraint Sensing and Diagnostic Module (SDM)
Table 3: Inflatable Restraint Steering Wheel Module
Table 4: Inflatable Restraint Steering Wheel Module Coil
Table 5: Seat Belt Pretensioner - LF
Table 6: Seat Belt Pretensioner - RF

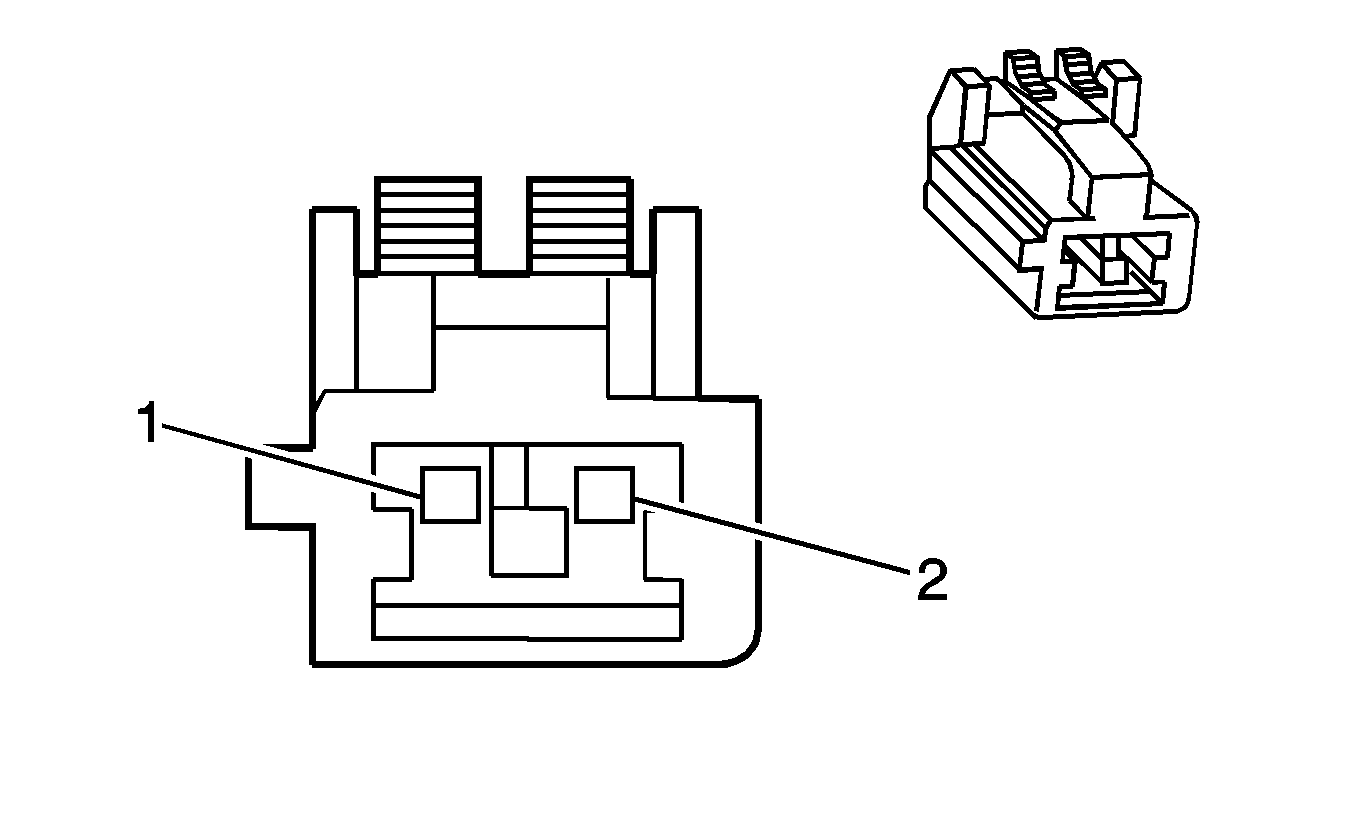
Inflatable Restraint I/P Module


Object Number: 1356026  Size: CH

Connector Part Information

    • 601Z-4101-001
    • 2-Way (YE)

Pin

Wire Color

Circuit No.

Function

1

YE/BK

3025

I/P Module - Stage 1- High Control

2

GY/BK

3024

I/P Module - Stage 1 - Low Control

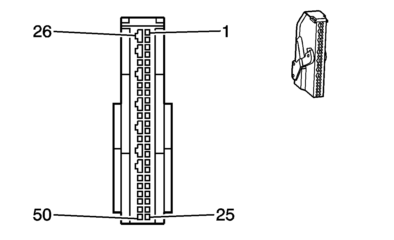
Inflatable Restraint Sensing and Diagnostic Module (SDM)


Object Number: 1356075  Size: CH

Connector Part Information

    • 9123-3540
    • 50-Way (YE)

Pin

Wire Color

Circuit No.

Function

1

BU/BK

6968

Seat Belt Pre-tensioner - Left High Control

2

RD/BK

6967

Seat Belt Pre-tensioner Left Low Control

3

BN/WH

6970

Seat Belt Pre-tensioner Right High Control

4

YE/RD

6969

Seat Belt Pre-tensioner Right Low Control

5

PK/BK

739

Ignition 1 Voltage

6-7

--

--

Not Used

8

BK

1051

Ground

9

WH/GN

774

UART Serial Data Tertiary

10

WH

3021

Steering Wheel Module - Stage 1 - High Control

11

GN

3020

Steering Wheel Module - Stage 1 - Low Control

12

--

--

Not Used

13

YE/BK

3025

I/P Module - Stage 1 - High Control

14

GY/BK

3024

I/P Module - Stage 1 - Low Control

15-50

--

--

Not Used

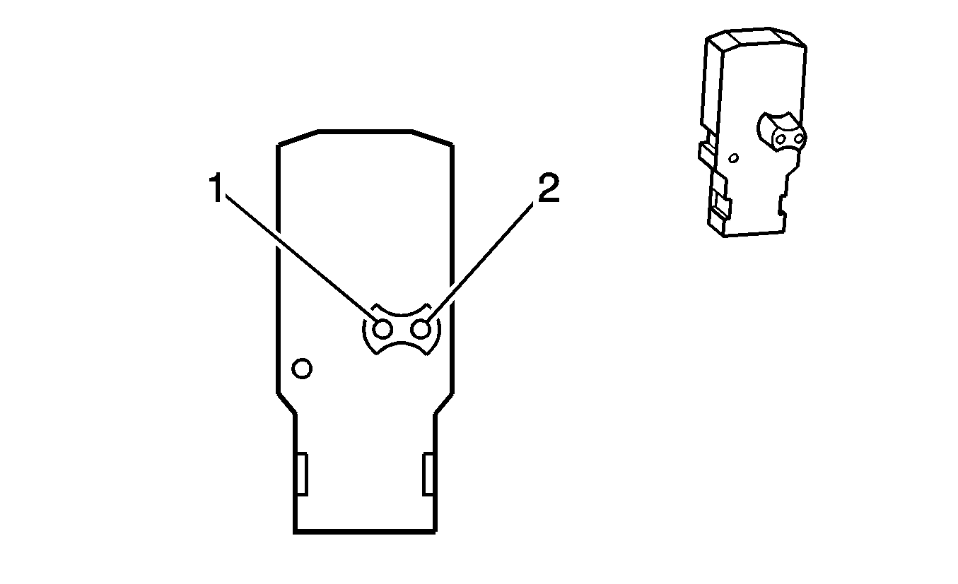
Inflatable Restraint Steering Wheel Module


Object Number: 1356026  Size: CH

Connector Part Information

    • 601Z-4101-001
    • 2-Way (YE)

Pin

Wire Color

Circuit No.

Function

1

WH

3021

Steering Wheel Module - Stage 1 - High Control

2

GN

3020

Steering Wheel Module - Stage 1 - Low Control

Inflatable Restraint Steering Wheel Module Coil


Object Number: 1549394  Size: CH

Connector Part Information

    • 9123-5561-30
    • 12-Way (BK)

Pin

Wire Color

Circuit No.

Function

1

BK/YE

28

Horn Relay Output-Coil

2

BN/WH

32

I/P dimmer Supply Voltage

3

BN

1796

Steering Wheel Controls Signal

4

BK/YE

1750

Ground

5

BN/WH

151

Ground

6

BK/YE

28

Horn Relay Control

7

GN

3020

Steering Wheel Module - Stage 1 Low Control

8

WH

3021

Steering Wheel Module - Stage 1 High Control

9-12

--

--

Not Used

Seat Belt Pretensioner - LF


Object Number: 1356357  Size: CH

Connector Part Information

    • 7283-1020-70
    • 2-Way (YE)

Pin

Wire Color

Circuit No.

Function

1

RD/BK

6967

Seat Belt Pretensioner - Left Low Control

2

BU/BK

6968

Seat Belt Pretensioner - Left High Control

Seat Belt Pretensioner - RF


Object Number: 1356359  Size: CH

Connector Part Information

    • 7283-1020-70
    • 2-Way (YE)

Pin

Wire Color

Circuit No.

Function

1

YE/RD

6969

Seat Belt Pretensioner - Right Low Control

2

BN/WH

6970

Seat Belt Pretensioner - Right High Control