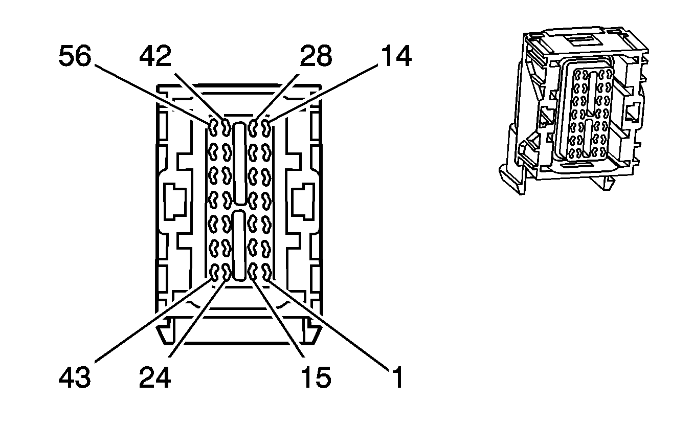
| Table 1: | Engine Control Module (ECM) C1 |
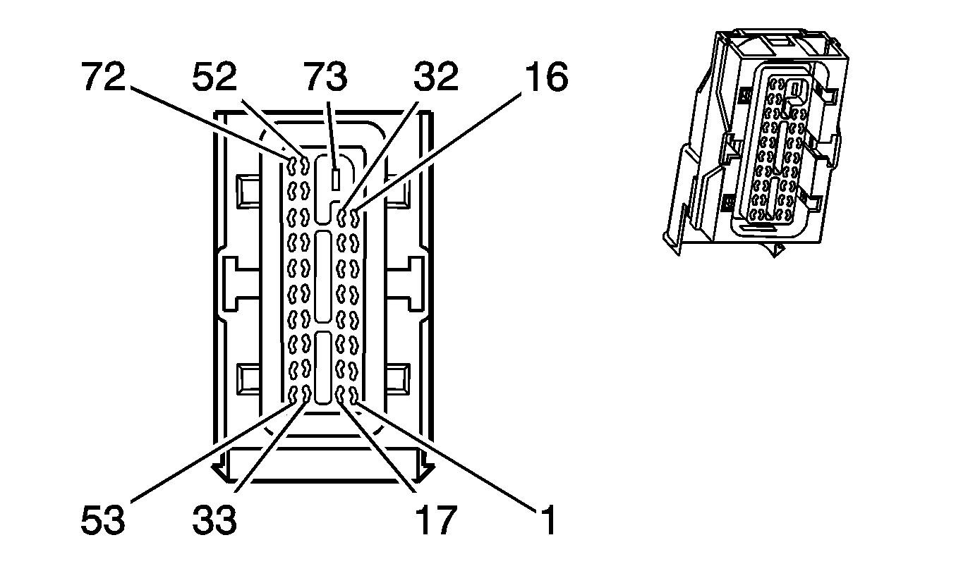
| Table 2: | Engine Control Module (ECM) C2 |
| Table 3: | Engine Control Module (ECM) C3 |
| |||||||
|---|---|---|---|---|---|---|---|
Connector Part Information |
| ||||||
Pin | Wire Color | Circuit No. | Function | ||||
1 | TN/BK | 2500 | High Speed GMLAN Serial Data Bus+ | ||||
2 | TN | 2501 | High Speed GMLAN Serial Data Bus- | ||||
3 | -- | -- | Not Used | ||||
4 | BN/WH | 419 | Check Engine Indicator Lamp Output | ||||
5-6 | -- | -- | Not Used | ||||
7 | BN | 1271 | Electronic Throttle Pedal Position Return 1 | ||||
8 | PU | 1272 | Electronic Throttle Pedal Position Return 2 | ||||
9 | -- | -- | Not Used | ||||
10 | BN | 5069 | Engine Control Relay Coil Control | ||||
11-12 | -- | -- | Not Used | ||||
13 | YE | 447 | Starter Relay Output - Coil | ||||
14 | PK | 439 | Ignition 1 Voltage | ||||
15-17 | -- | -- | Not Used | ||||
18 | YE | 1843 | Accessory Voltage | ||||
19 | OG | 300 | Ignition 3 Voltage | ||||
20 | OG/BK | 740 | Battery Positive Voltage | ||||
21 | PU/WH | 5197 | VSS Signal | ||||
22 | BU | 1161 | Electronic Throttle Pedal Position Signal 1 | ||||
23 | -- | -- | Not Used | ||||
24 | GN | 890 | Fuel Tank Pressure Sensor Signal | ||||
25 | -- | -- | Not Used | ||||
26 | GN/BK | 380 | A/C Refrigerant Pressure Sensor Signal | ||||
27-28 | -- | -- | Not Used | ||||
29 | TN | 1274 | Electronic Throttle Pedal Position 5-Volt Reference 2 | ||||
30 | GN | 2700 | A/C Refrigerant Pressure Sensor Signal 5-Volt Reference | ||||
31 | GY | 2709 | Fuel Tank Pressure Sensor 1, 5-Volt Reference | ||||
32 | BU/RD | 20 | Stop Lamp Switch Signal | ||||
33-34 | -- | -- | Not Used | ||||
35 | WH/BK | 1164 | Electronic Throttle Pedal Position 5 Volt Reference 1 | ||||
36 | OG/BK | 335 | Low Speed Cooling Fan Relay Control | ||||
37 | PU | 30 | Fuel Gage Sensor Signal | ||||
38 | GY | 847 | Extended Travel Brake Switch Signal | ||||
39-40 | -- | -- | Not used | ||||
41 | L-BU | 1162 | Electronic Throttle Pedal Position 2 | ||||
42 | YE | 1652 | Reverse Lockout Solenoid Control | ||||
43 | PU/WH | 379 | CPP Switch Signal | ||||
44 | -- | -- | Not Used | ||||
45 | GN/WH | 465 | Fuel Pump Relay Feed - Coil | ||||
46 | BN | 86 | Cruise Control Release Signal | ||||
47 | -- | -- | Not Used | ||||
48 | BN | 121 | Tachometer Signal | ||||
49-50 | -- | -- | Not Used | ||||
51 | GN/BU | 275 | Park/Neutral Position Switch Park Signal | ||||
52 | PU | 5 | Crank Voltage | ||||
53-54 | -- | -- | Not Used | ||||
55 | TN | 5514 | A/C Refrigerant Pressure Sensor Signal | ||||
56 | BU/WH | 473 | High Speed Cooling Fan Relay Control | ||||
| |||||||
|---|---|---|---|---|---|---|---|
Connector Part Information |
| ||||||
Pin | Wire Color | Circuit No. | Function | ||||
1 | L-GN/RD | 3113 | HO2S Bank 2 Sensor 1 Heater Control | ||||
2 | BK/WH | 3212 | HO2S Bank 1 Sensor 1 Heater Control | ||||
3 | -- | -- | Not Used | ||||
4 | L-GN | 878 | Fuel Injector 8 Control | ||||
5 | BU | 1744 | Fuel Injector 1 Control | ||||
6 | GN | 1745 | Fuel Injector 2 Control | ||||
7 | PK/BK | 877 | Fuel Injector 7 Control | ||||
8 | BN/YE | 844 | Fuel Injector 4 Control | ||||
9 | PU | 1746 | Fuel Injector 3 Control | ||||
10 | GY | 845 | Fuel Injector 5 Control | ||||
11-12 | -- | -- | Not Used | ||||
13 | YE | 846 | Fuel Injector 6 Control | ||||
14 | L-BU/BK | 574 | Low Reference | ||||
15 | RD/WH | 632 | Low Reference | ||||
16 | BN | 2129 | Low Reference | ||||
17-19 | -- | -- | Not Used | ||||
20 | BK | 469 | MAP Sensor - Return | ||||
21 | GN | 470 | Low Reference | ||||
22-23 | -- | -- | Not Used | ||||
24 | BN/WH | 331 | Engine Oil Pressure Signal | ||||
25 | -- | -- | Not Used | ||||
26 | BN | 633 | CMP Sensor | ||||
27-28 | -- | -- | Not Used | ||||
29 | PU | 486 | Throttle Position Sensor 2 Signal | ||||
30 | -- | -- | Not Used | ||||
31 | GN | 485 | Throttle Position Sensor 1 Signal | ||||
32-33 | -- | -- | Not Used | ||||
35 | PU/WH | 2704 | MAP Sensor 5-Volt Reference | ||||
36 | BN/WH | 1704 | Low Reference | ||||
37 | BU/YE | 596 | Reference Voltage 5-Volt Reference | ||||
38-40 | -- | -- | Not Used | ||||
41 | L-BU/BK | 1688 | 5-Volt Reference | ||||
42 | -- | -- | Not Used | ||||
43 | L-BU/WH | 2867 | 12-Volt Reference Voltage | ||||
44 | WH/BK | 631 | Low Coolant Level Indicator Signal | ||||
45 | GY | 23 | Generator Field Duty Cycle Signal | ||||
46 | L-GN | 432 | MAP Sensor Signal | ||||
47 | -- | -- | Not Used | ||||
48 | PU | 1665 | HO2S High Signal Bank 1 Sensor 1 | ||||
49 | BU/BK | 1664 | HO2S Low Signal Bank 1 Sensor 1 | ||||
50 | GN/YE | 428 | EVAP Canister Purge Solenoid Control | ||||
51 | GY | 1666 | HO2S High Signal Bank 2 Sensor 1 | ||||
52 | GY/BK | 2761 | Low Reference | ||||
53 | YE | 2127 | Ignition Coil 7 Control | ||||
54 | WH | 1310 | EVAP Canister Vent Solenoid Control | ||||
55 | YE | 410 | ECT Sensor Signal 5-Volt Reference | ||||
56 | OG | 225 | Generator Turn On Signal | ||||
57 | L-GN | 2126 | Ignition Coil 6 Control | ||||
58 | WH | 2124 | Ignition Coil 4 Control | ||||
59 | GN | 2125 | Ignition Coil 5 Control | ||||
60 | BN | 582 | TAC Motor Control - 2 | ||||
61 | BU | 2123 | Ignition Coil 3 Control | ||||
62 | BU | 573 | CKP Sensor Signal | ||||
63 | YE | 581 | TAC Motor Control - 1 | ||||
64 | PU | 2130 | Low Reference | ||||
65 | L-BU | 2128 | Ignition Coil 8 Control | ||||
66 | YE/BK | 2122 | Ignition Coil 2 Control | ||||
67 | -- | -- | Not Used | ||||
68 | BU | 496 | Knock Sensor 1 Signal | ||||
69 | GY | 2303 | Knock Sensor 1 Return | ||||
70 | GY/BK | 1667 | HO2S Low Signal Bank 2 Sensor 1 | ||||
71 | GY | 1716 | Knock Sensor 2 Return | ||||
72 | L-BU | 1876 | Knock Sensor 2 Signal | ||||
73 | BK/RD | 450 | Ground | ||||
| |||||||
|---|---|---|---|---|---|---|---|
Connector Part Information |
| ||||||
Pin | Wire Color | Circuit No. | Function | ||||
1 | -- | -- | Not Used | ||||
2 | L-BU | 3223 | HO2S Bank 1 Sensor 2 Heater Control | ||||
3 | RD/WH | 3122 | HO2S Bank 2 Sensor 2 Heater Control | ||||
4-10 | -- | -- | Not Used | ||||
11 | BN/WH | 492 | MAF Sensor Signal | ||||
12-17 | -- | -- | Not Used | ||||
18 | BN/RD | 1669 | HO2S Low Signal Bank 1 Sensor 2 | ||||
19 | PU/WH | 1668 | HO2S High Signal Bank 1 Sensor 2 | ||||
20 | PU/BK | 1670 | HO2S High Signal Bank 2 Sensor 2 | ||||
21 | BN/BU | 1671 | HO2S Low Signal Bank 2 Sensor 2 | ||||
22 | OG/BK | 1786 | Park/Neutral Signal | ||||
23 | -- | -- | Not Used | ||||
24 | BK | 2759 | Low Reference | ||||
25-33 | -- | -- | Not Used | ||||
34 | BK | 472 | IAT Sensor Signal | ||||
35-42 | -- | -- | Not Used | ||||
44 | BN/OG | 401 | VSS Low Signal | ||||
45 | BU/WH | 400 | VSS High Signal | ||||
46-47 | -- | -- | Not Used | ||||
48 | GY | 587 | Skip Shift Solenoid Control | ||||
49 | BK | 2759 | Low Reference | ||||
50 | -- | -- | Not Used | ||||
51 | L-GN/BK | 459 | A/C Compressor Clutch Relay Control | ||||
52-56 | -- | -- | Not Used | ||||