GM Service Manual Online
For 1990-2009 cars only

Tools Required

J 23444-A Extreme Pressure Lubricant 1/4 Ounce Tube

Removal Procedure

  1. Remove the power steering pump. Refer to Power Steering Pump Replacement .

  2. Object Number: 1382117  Size: SH
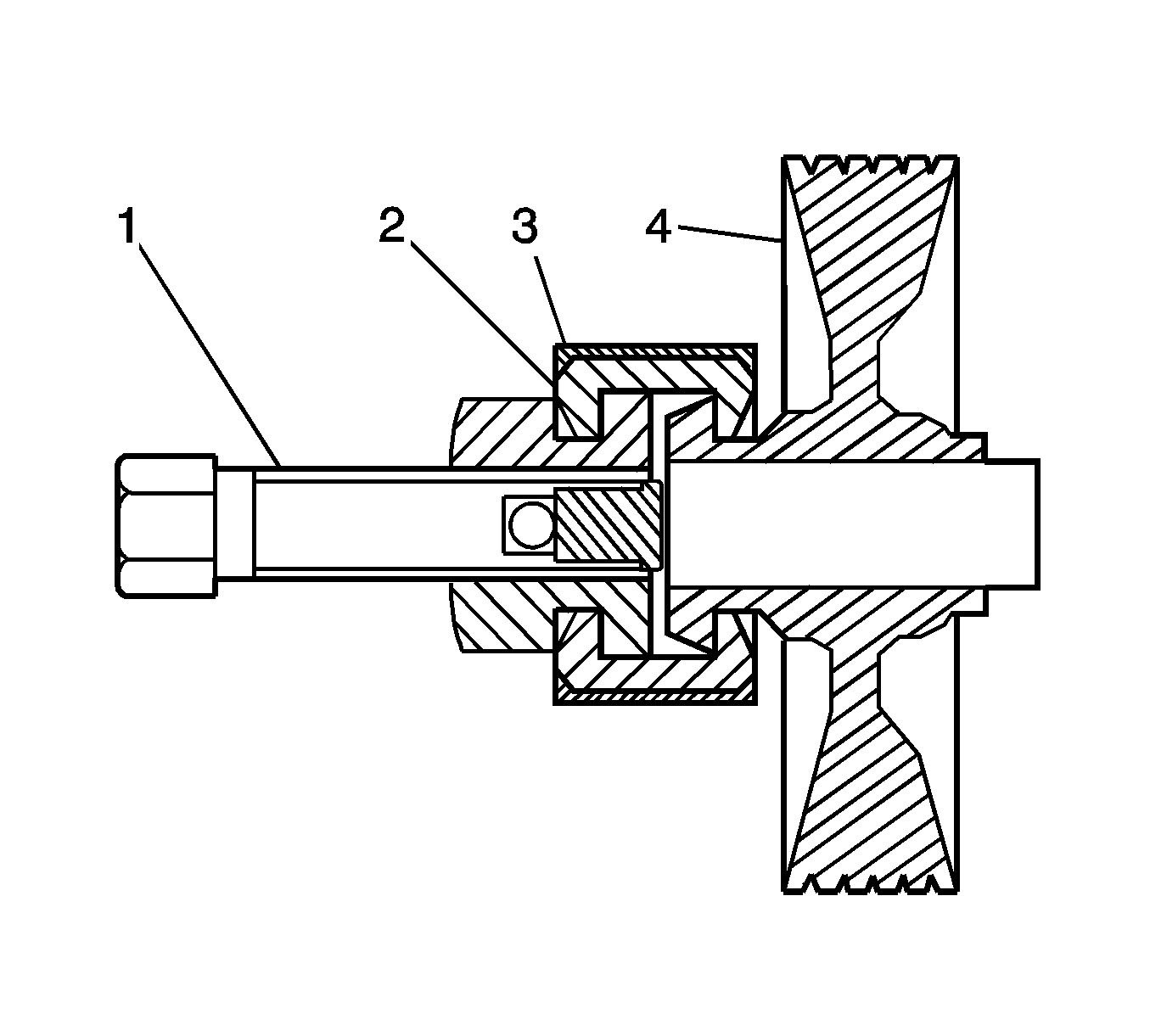
  3. Apply J 23444-A to the forcing screw (1) of the OTC 7185 kit, or equivalent.
  4. Position the forcing screw against the pulley shaft. Align the rotation axis of the screw with the rotation axis of the pulley shaft.
  5. Position the half jaws (2) of the OTC 7185 kit, or equivalent, on the pulley (4). Ensure the full diameter end of the half jaws are engaged with the pulley. Ensure the larger open end diameter, which has a chamfer and relief profile, engages with the pulley flange.
  6. Slide the retainer sleeve (3) of the OTC 7185 kit, or equivalent, over the half jaws and hand tighten the forcing screw.
  7. Important: Do not use power tools in order to remove the pulley.

  8. Use 90 N·m (66 lb ft) of torque or less on the forcing screw in order to remove the pulley. If the pulley requires more torque, replace the pump and the pulley.

Installation Procedure


    Object Number: 1382174  Size: SH
  1. Apply J 23444-A to the forcing screw and to the drive nut (1) of the OTC 7005 kit, or equivalent.
  2. Assemble the thread insert and the drive nut into the forcing screw of the OTC 7005 kit, or equivalent.
  3. Important: Do not use a spanner in order to thread the forcing screw.

  4. Thread the forcing screw assembly into the pump shaft (3) until the forcing screw assembly bottoms out against the shoulder.
  5. Important: Do not allow the forcing screw to turn.

  6. Use 90 N·m (66 lb ft) of torque or less on the drive nut in order to install the pulley to the correct position on the shaft. If the pulley requires more torque, replace the pump and the pulley.
  7. Remove the OTC 7005 kit, or equivalent, from the pulley.
  8. Install the pump. Refer to Power Steering Pump Replacement .