GM Service Manual Online
For 1990-2009 cars only
Table 1: Ambient Light Sensor
Table 2: Automatic Transmission Control Position Indicator Lamp
Table 3: Backup Lamp - Left
Table 4: Backup Lamp - Right
Table 5: Backup Lamp Switch
Table 6: Center High Mounted Stop Lamp Assembly
Table 7: Center High Mounted Stop Lamp Assembly (Spoiler)
Table 8: Courtesy Lamp - Console Compartment Lamp C1
Table 9: Courtesy Lamp - Console Compartment Lamp C2
Table 10: Courtesy Lamp - Left Door C1
Table 11: Courtesy Lamp - Left Door C2
Table 12: Courtesy Lamp - Right Door C1
Table 13: Courtesy Lamp - Right Door C2
Table 14: Courtesy Lamp - Left Footwell
Table 15: Courtesy Lamp - Right Footwell
Table 16: Daytime Running Lamps (DRL) Resistor
Table 17: Dome Lamp
Table 18: Fog Lamp - LF
Table 19: Fog Lamp - RF
Table 20: Hazard Switch
Table 21: Headlamp - Left
Table 22: Headlamp - Right
Table 23: Headlamp Switch
Table 24: Ignition Lock Cylinder Lamp
Table 25: Courtesy Lamp - I/P Compartment Lamp C1
Table 26: Courtesy Lamp - I/P Compartment Lamp Switch C1
Table 27: Courtesy Lamp - I/P Compartment Lamp Switch C2
Table 28: Courtesy Lamp - Rear Compartment Lamp C2
Table 29: License Lamps
Table 30: Marker Lamp - LF
Table 31: Marker Lamp - RF
Table 32: Park/Neutral Position Switch
Table 33: Park/Turn Signal Lamp - LF
Table 34: Park/Turn Signal Lamp - RF
Table 35: Courtesy Lamp - Rear Compartment Lamp C1
Table 36: Courtesy Lamp - Rear Compartment Lamp C2
Table 37: Stop Lamp Switch C1
Table 38: Stop Lamp Switch C2
Table 39: Stop Lamp Switch C3
Table 40: Tail/Stop Lamp - Left
Table 41: Tail/Stop Lamp - Right
Table 42: Trailer Harness Connector
Table 43: Trailer Harness Connector A
Table 44: Trailer Harness Connector B
Table 45: Turn Signal Lamp - LR
Table 46: Turn Signal Lamp - RR
Table 47: Turn Signal/Multifunction Switch
Table 48: Vanity Mirror Lamp - Left
Table 49: Vanity Mirror Lamp - Right

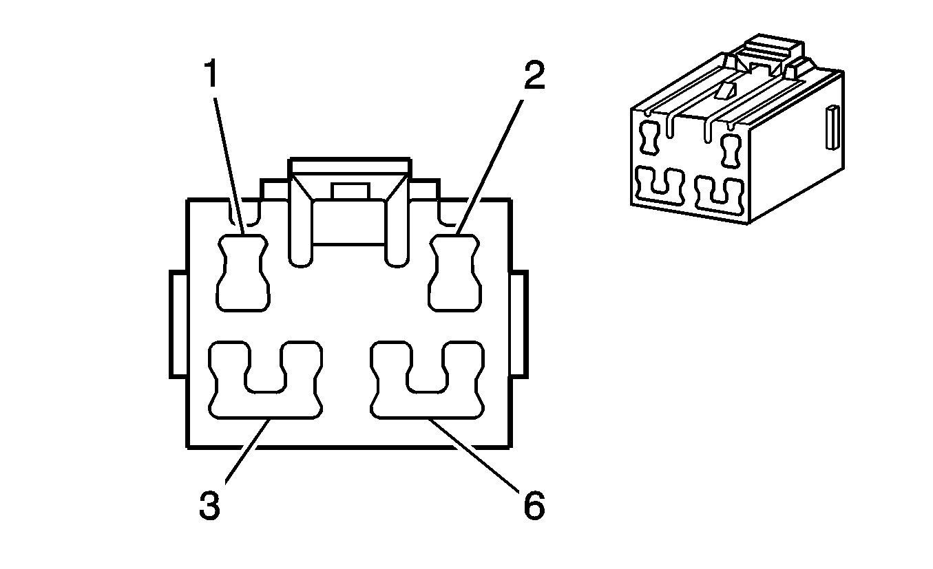
Ambient Light Sensor


Object Number: 1356099  Size: CH

Connector Part Information

    • 7123-1287
    • 8-Way F (WH)

Pin

Wire Color

Circuit No.

Function

1

--

--

Not Used

2

YE

218

Keyless Entry Antenna Signal

3

--

--

Not Used

4

YE/BK

1784

Twilight Sentinel Enable Signal

5

--

--

Not Used

6

OG/BK

740

Battery Positive Voltage

7

BN/GN

219

Keyless Entry Antenna Low Reference

8

--

--

Not Used

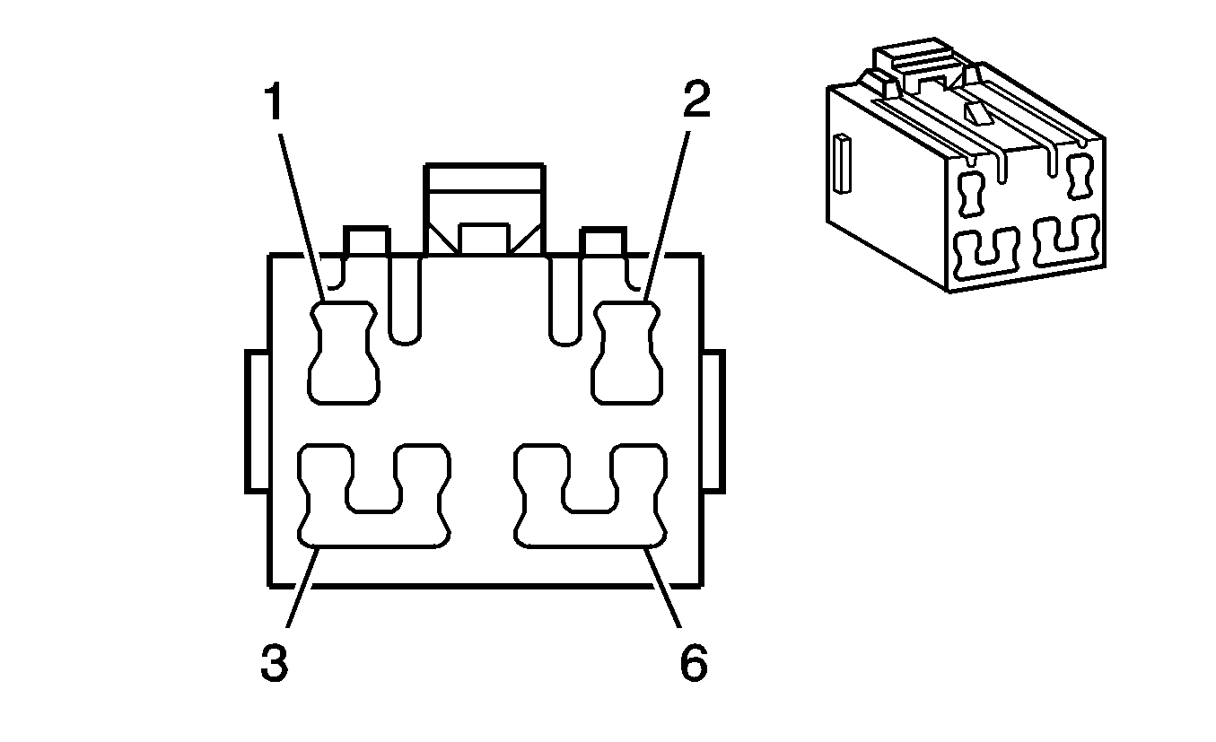
Automatic Transmission Control Position Indicator Lamp


Object Number: 1356106  Size: CH

Connector Part Information

    • E105
    • 2-Way Bulb Socket

Pin

Wire Color

Circuit No.

Function

A

BN/WH

32

Instrument Panel Lamps Fuse Supply Voltage

B

GY

230

Instrument Panel Lamps Dimming Control

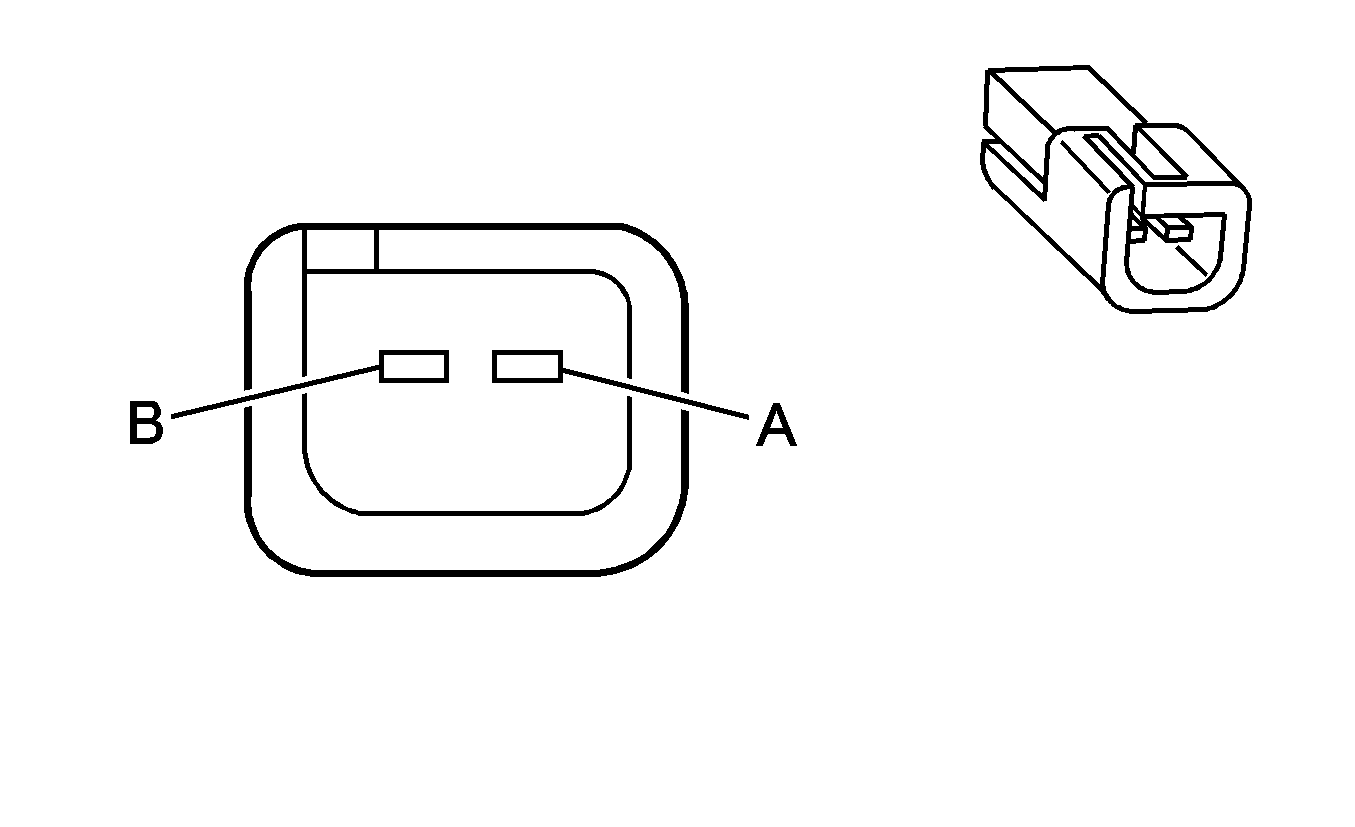
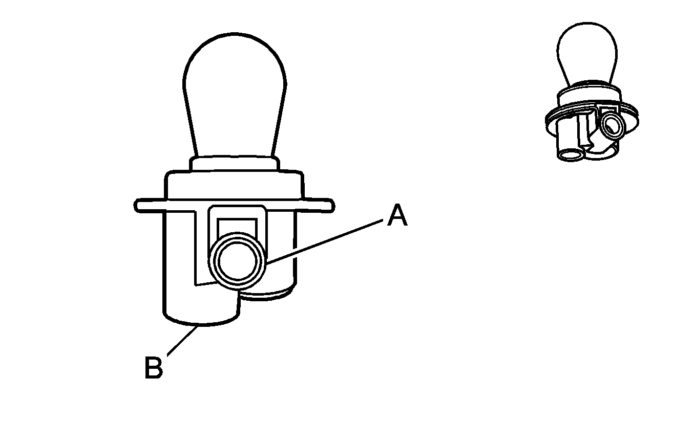
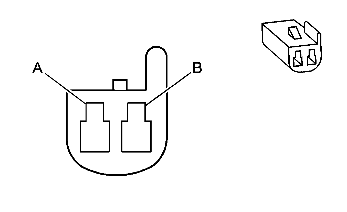
Backup Lamp - Left


Object Number: 1356154  Size: CH

Connector Part Information

    • E56
    • 2-Way Bulb Socket

Pin

Wire Color

Circuit No.

Function

A

L-GN

24

Backup Lamps Supply Voltage

B

BK/BU

650

Ground

Backup Lamp - Right


Object Number: 1356154  Size: CH

Connector Part Information

    • E56
    • 2-Way Bulb Socket

Pin

Wire Color

Circuit No.

Function

A

L-GN

24

Backup Lamps Supply Voltage

B

BK/BU

650

Ground

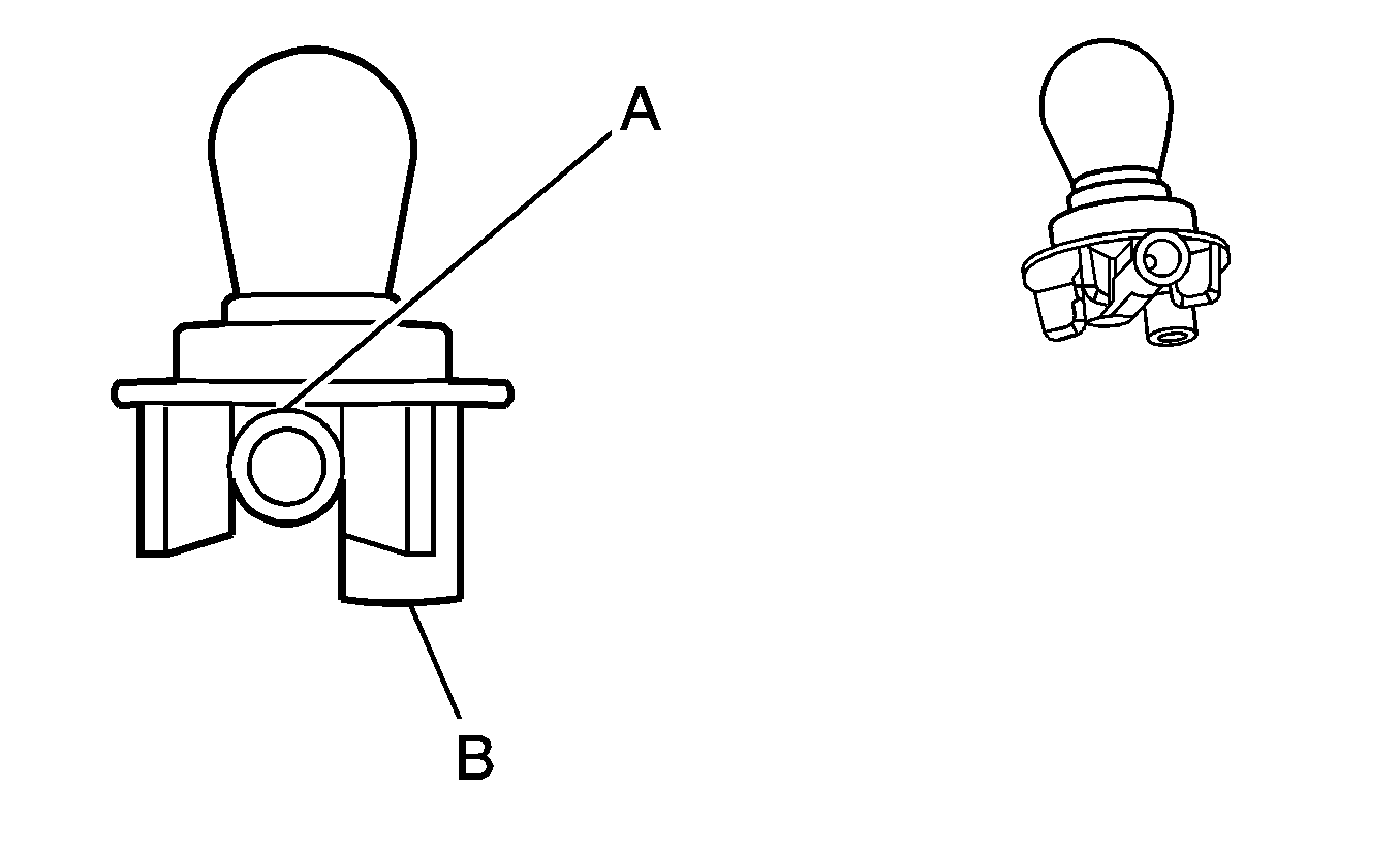
Backup Lamp Switch


Object Number: 1356221  Size: CH

Connector Part Information

    • 7229-3120
    • 2-Way F (WH)

Pin

Wire Color

Circuit No.

Function

A

BN/BU

239

Ignition 1 Voltage

B

L-GN

24

Backup Lamps Supply Voltage

Center High Mounted Stop Lamp Assembly


Object Number: 1356158  Size: CH

Connector Part Information

    • 7282-6161
    • 2-Way M (WH)

Pin

Wire Color

Circuit No.

Function

A

BU/RD

20

Stop Lamp Supply Voltage

B

BK/BU

650

Ground

Center High Mounted Stop Lamp Assembly (Spoiler)


Object Number: 1356152  Size: CH

Connector Part Information

    • 7282-6161
    • 2-Way M (WH)

Pin

Wire Color

Circuit No.

Function

A

BU/RD

20

Stop Lamp Supply Voltage

B

BK/BU

650

Ground

Courtesy Lamp - Console Compartment Lamp C1


Object Number: 365953  Size: CH

Connector Part Information

    • 12092133
    • 1-Way F (BK)

Pin

Wire Color

Circuit No.

Function

A

OG/BK

149

Courtesy Lamp Supply Voltage

Courtesy Lamp - Console Compartment Lamp C2


Object Number: 365953  Size: CH

Connector Part Information

    • 12092133
    • 1-Way F (BK)

Pin

Wire Color

Circuit No.

Function

A

BU

158

Console Compartment Lamp Switch Output

Courtesy Lamp - Left Door C1


Object Number: 365953  Size: CH

Connector Part Information

    • 12092133
    • 1-Way F (BK)

Pin

Wire Color

Circuit No.

Function

A

OG/BK

149

Courtesy Lamp Supply Voltage

Courtesy Lamp - Left Door C2


Object Number: 365953  Size: CH

Connector Part Information

    • 12092133
    • 1-Way F (BK)

Pin

Wire Color

Circuit No.

Function

A

WH/GN

660

Courtesy Lamp Output

Courtesy Lamp - Right Door C1


Object Number: 365953  Size: CH

Connector Part Information

    • 12092133
    • 1-Way F (BK)

Pin

Wire Color

Circuit No.

Function

A

OG/BK

149

Courtesy Lamp Supply Voltage

Courtesy Lamp - Right Door C2


Object Number: 365953  Size: CH

Connector Part Information

    • 12092133
    • 1-Way F (BK)

Pin

Wire Color

Circuit No.

Function

A

WH/GN

660

Courtesy Lamp Output

Courtesy Lamp - Left Footwell


Object Number: 1356106  Size: CH

Connector Part Information

    • 7141-5030-80
    • 2-Way Bulb Socket F (BN)

Pin

Wire Color

Circuit No.

Function

A

OG/BK

149

Courtesy Lamp Supply Voltage

B

WH/GN

660

Left Courtesy Lamp Control

Courtesy Lamp - Right Footwell


Object Number: 1356106  Size: CH

Connector Part Information

    • 7141-5030-80
    • 2-Way Bulb Socket F (BN)

Pin

Wire Color

Circuit No.

Function

A

OG/BK

149

Courtesy Lamp Supply Voltage

B

WH/GN

660

Left Courtesy Lamp Control

Daytime Running Lamps (DRL) Resistor


Object Number: 1356102  Size: CH

Connector Part Information

    • 9283-2694-41
    • 2-Way F (GY)

Pin

Wire Color

Circuit No.

Function

A

TN

12

Headlamp Low Beam Supply Voltage

B

PU

359

DRL Supply Voltage

Dome Lamp


Object Number: 1356156  Size: CH

Connector Part Information

    • 7123-1664-30
    • 4-Way F (BK)

Pin

Wire Color

Circuit No.

Function

1

YE/BU

328

Interior Lamp Switch Signal

2

PU

157

Courtesy Lamp Control

3

WH/GN

660

Left Courtesy Lamp Control

4

OG/GN

149

Courtesy Lamp Supply Voltage

Fog Lamp - LF


Object Number: 1356102  Size: CH

Connector Part Information

    • 7283-5369-30
    • 2-Way F (BK)

Pin

Wire Color

Circuit No.

Function

A

PU/WH

2234

Front Fog Lamps Control

B

WH/BU

2140

Battery Positive Voltage

Fog Lamp - RF


Object Number: 1356102  Size: CH

Connector Part Information

    • 7283-5369-30
    • 2-Way F (BK)

Pin

Wire Color

Circuit No.

Function

A

PU/WH

2234

Front Fog Lamps Control

B

WH/BU

2040

Battery Positive Voltage

Hazard Switch


Object Number: 1356185  Size: CH

Connector Part Information

    • 7283-1060
    • 6-Way F (WH)

Pin

Wire Color

Circuit No.

Function

1

--

--

Not Used

2

BN/WH

32

Instrument Panel Lamps Fuse Supply Voltage

3

BK/GN

151

Ground

4

BK/WH

1717

Hazard Switch Flasher Signal

5

BN

111

Hazard Switch Signal

6

GY

230

Instrument Panel Lamps Dimming Control

Headlamp - Left


Object Number: 1356108  Size: CH

Connector Part Information

    • 7283-5135-30
    • 4-Way F (BK)

Pin

Wire Color

Circuit No.

Function

1

L-GN

11

Headlamp High Beam Supply Voltage

2

TN

12

Headlamp Low Beam Supply Voltage

3

WH/BU

2140

Battery Positive Voltage

4

WH/BU

2140

Battery Positive Voltage

Headlamp - Right


Object Number: 1356108  Size: CH

Connector Part Information

    • 7283-5135-30
    • 4-Way F (BK)

Pin

Wire Color

Circuit No.

Function

1

L-GN

11

Headlamp High Beam Supply Voltage

2

TN

12

Headlamp Low Beam Supply Voltage

3

WH/BK

2040

Battery Positive Voltage

4

WH/BK

2040

Battery Positive Voltage

Headlamp Switch


Object Number: 1356186  Size: CH

Connector Part Information

    • 7283-1100
    • 10-Way F (WH)

Pin

Wire Color

Circuit No.

Function

1

BN/BU

239

Ignition 1 Voltage

2

WH/RD

103

Headlamp Switch Headlamps On Signal

3

--

--

Not Used

4

WH/BK

10

Headlamp Switch Signal/Headlamps Supply Voltage

5

BK

306

Headlamp Switch Headlamps Off Signal

6

PU/RD

1317

Fog Lamp Relay Control

7

WH

44

Instrument Panel Lamps Dimmer Switch Signal

8

BU

13

Headlamp Switch Park Lamps Signal

9

--

--

Not Used

10

GY

230

Instrument Panel Lamps Dimming Control

Ignition Lock Cylinder Lamp


Object Number: 1356111  Size: CH

Connector Part Information

    • 7141-5191-30
    • 2-Way F (BK)

Pin

Wire Color

Circuit No.

Function

A

OG/BK

149

Courtesy Lamp Supply Voltage

B

WH/GN

660

Left Courtesy Lamp Control

Courtesy Lamp - I/P Compartment Lamp C1


Object Number: 365953  Size: CH

Connector Part Information

    • 12092133
    • 1-Way F (BK)

Pin

Wire Color

Circuit No.

Function

A

OG/BK

149

Courtesy Lamp Supply Voltage

Courtesy Lamp - I/P Compartment Lamp Switch C1


Object Number: 365953  Size: CH

Connector Part Information

    • 12092133
    • 1-Way F (BK)

Pin

Wire Color

Circuit No.

Function

A

WH/BK

175

Courtesy Lamp Supply Voltage

Courtesy Lamp - I/P Compartment Lamp Switch C2


Object Number: 365953  Size: CH

Connector Part Information

    • 12092133
    • 1-Way F (BK)

Pin

Wire Color

Circuit No.

Function

A

BK/GN

151

Ground

Courtesy Lamp - Rear Compartment Lamp C2


Object Number: 365953  Size: CH

Connector Part Information

    • 12092133
    • 1-Way F (BK)

Pin

Wire Color

Circuit No.

Function

A

BU/WH

175

I/P Compartment Lamp Output

License Lamps


Object Number: 1356152  Size: CH

Connector Part Information

    • 7282-6161
    • 2-Way M (WH)

Pin

Wire Color

Circuit No.

Function

A

BN

9

Park Lamps Supply Voltage

B

BK/BU

650

Ground

Marker Lamp - LF


Object Number: 1356157  Size: CH

Connector Part Information

    • 9123-6184
    • 2-Way F (YE)

Pin

Wire Color

Circuit No.

Function

1

BN

9

Park Lamps Supply Voltage

2

BK/WH

550

Ground

Marker Lamp - RF


Object Number: 1356157  Size: CH

Connector Part Information

    • 9123-6184
    • 2-Way F (YE)

Pin

Wire Color

Circuit No.

Function

1

BN

9

Park Lamps Supply Voltage

2

BK/WH

550

Ground

Park/Neutral Position Switch


Object Number: 1356193  Size: CH

Connector Part Information

    • 9223-6722-30
    • 12-Way F (BK)

Pin

Wire Color

Circuit No.

Function

1

GY/BU

275

Park/Neutral Position Switch Park Signal

2

--

--

Not Used

3

YE

1479

A/T Neutral Signal

4

YE/RD

772

Transmission Range Switch Signal B

5

BU/WH

771

Transmission Range Switch Signal A

6

GY

773

Transmission Range Switch Signal C

7

BK/RD

450

Ground

8

WH

776

Transmission Range Switch Signal P

9

--

--

Not Used

10

L-GN

24

Backup Lamp Supply Voltage

11

BN/BU

239

Ignition 1 Voltage

12

GY

434

Neutral Safety Switch Signal

Park/Turn Signal Lamp - LF


Object Number: 1356159  Size: CH

Connector Part Information

    • 9123-6187
    • 3-Way F (WH)

Pin

Wire Color

Circuit No.

Function

1

BN

9

Park Lamps Supply Voltage

2

BK/WH

550

Ground

3

L-BU

1314

Left Front Turn Signal Lamp Supply Voltage

Park/Turn Signal Lamp - RF


Object Number: 1356159  Size: CH

Connector Part Information

    • 9123-6187
    • 3-Way F (WH)

Pin

Wire Color

Circuit No.

Function

1

BN

9

Park Lamps Supply Voltage

2

BK/WH

550

Ground

3

BU

1315

Right Front Turn Signal Lamp Supply Voltage

Courtesy Lamp - Rear Compartment Lamp C1


Object Number: 365953  Size: CH

Connector Part Information

    • 12092133
    • 1-Way F (BK)

Pin

Wire Color

Circuit No.

Function

A

OG/BK

149

Courtesy Lamp Supply Voltage

Courtesy Lamp - Rear Compartment Lamp C2


Object Number: 365953  Size: CH

Connector Part Information

    • 12092133
    • 1-Way F (BK)

Pin

Wire Color

Circuit No.

Function

A

BK/GN

737

Trunk Lamp Output

Stop Lamp Switch C1


Object Number: 1548106  Size: CH

Connector Part Information

    • 9123-4675-30
    • 2-Way F (BK)

Pin

Wire Color

Circuit No.

Function

A

OG/BU

640

Battery Positive Voltage

B

BU/RD

20

Stop Lamp Switch Signal

Stop Lamp Switch C2


Object Number: 1548107  Size: CH

Connector Part Information

    • 2977373
    • 4-Way F (BK)

Pin

Wire Color

Circuit No.

Function

A

TN/WH

816

A/T Shift lock Solenoid Supply Voltage

B

PK

139

Ignition  Voltage

C-D

--

--

Not Used

Stop Lamp Switch C3


Object Number: 1548108  Size: CH

Connector Part Information

    • 9123-6521
    • 4-Way F (BK)

Pin

Wire Color

Circuit No.

Function

A

PK

139

Ignition 1 Voltage

B

BN

86

Cruise Control Cancel Signal

C

GY

847

Extended Travel Brake Switch Signal

D

PK

439

Ignition  Voltage

Tail/Stop Lamp - Left


Object Number: 1356153  Size: CH

Connector Part Information

    • E48
    • 3-Way Bulb Socket

Pin

Wire Color

Circuit No.

Function

A

BU/RD

20

Stop Lamp Supply Voltage/Stop Lamp Switch Signal

B

BN

9

Park Lamp Supply Voltage

C

BN/WH

650

Ground

Tail/Stop Lamp - Right


Object Number: 1356153  Size: CH

Connector Part Information

    • E48
    • 3-Way Bulb Socket

Pin

Wire Color

Circuit No.

Function

A

BU/RD

20

Stop Lamp Supply Voltage/Stop Lamp Switch Signal

B

BN

9

Park Lamp Supply Voltage

C

BN/WH

650

Ground

Trailer Harness Connector


Object Number: 1356243  Size: CH

Connector Part Information

    • X109
    • 7-Way M (BK)

Pin

Wire Color

Circuit No.

Function

1

YE

1314

Left Turn Signal Lamp Supply Voltage

2

BK

1624

Trailer Backup Lamps Supply Voltage

3

OG

22

Ground

4

GN

5187

Right Turn Signal Lamp Supply Voltage

5

D-BU

47

Trailer Auxiliary Supply Voltage

6

RD

1620

CHMSL Supply Voltage

7

BN

2109

Trailer Park Lamps Supply Voltage

Trailer Harness Connector A


Object Number: 1356304  Size: CH

Connector Part Information

    • 7282-7166
    • 6-Way M (WH)

Pin

Wire Color

Circuit No.

Function

1

WH/BU

22

Ground

2

OG

22

Ground

3

GN/WH

5187

Right Turn Signal Lamp Supply Voltage

4

BK/WH

1624

Trailer Backup Lamps Supply Voltage

5

RD/WH

1620

CHMSL Supply Voltage

6

BN/WH

2109

Trailer Park Lamps Supply Voltage

Trailer Harness Connector B


Object Number: 1356305  Size: CH

Connector Part Information

    • 7283-7166
    • 6-Way F (WH)

Pin

Wire Color

Circuit No.

Function

1

WH

22

Ground

2

OG

22

Ground

3

GN

5187

Right Turn Signal Lamp Supply Voltage

4

BK

1624

Trailer Backup Lamps Supply Voltage

5

RD

1620

CHMSL Supply Voltage

6

BN

2109

Trailer Park Lamps Supply Voltage

Turn Signal Lamp - LR


Object Number: 1356105  Size: CH

Connector Part Information

    • E101
    • 2-Way Bulb Socket

Pin

Wire Color

Circuit No.

Function

A

L-BU

1314

Left Turn Signal Lamp Supply Voltage

B

BK/BU

650

Ground

Turn Signal Lamp - RR


Object Number: 1356105  Size: CH

Connector Part Information

    • E101
    • 2-Way Bulb Socket

Pin

Wire Color

Circuit No.

Function

A

L-BU

1315

Right Turn Signal Lamp Supply Voltage

B

BK/BU

650

Ground

Turn Signal/Multifunction Switch


Object Number: 1356213  Size: CH

Connector Part Information

    • 7119-3111
    • 11-Way Mixed (WH)

Pin

Wire Color

Circuit No.

Function

1

BU/YE

1969

Headlamps Relay Control

2

--

--

Not Used

3

WH/BK

10

Headlamps Supply Voltage

4

BK/GN

151

Ground

5

--

--

Not Used

6

L-BU

1314

Left Front Turn Signal Lamp Supply Voltage

7

--

--

Not Used

8

BK/GN

151

Ground

9

PU

27

Hazard Signal

10

BU

1315

Right Front Turn Signal Lamp Supply Voltage

11

--

--

Not Used

Vanity Mirror Lamp - Left


Object Number: 1356109  Size: CH

Connector Part Information

    • 7123-8328-30
    • 2-Way F (BK)

Pin

Wire Color

Circuit No.

Function

A

BK/BU

650

Ground

B

OG/BK

149

Courtesy Lamp Supply Voltage

Vanity Mirror Lamp - Right


Object Number: 1356109  Size: CH

Connector Part Information

    • 7123-8328-30
    • 2-Way F (BK)

Pin

Wire Color

Circuit No.

Function

A

BK/BU

650

Ground

B

OG/BK

149

Courtesy Lamp Supply Voltage