GM Service Manual Online
For 1990-2009 cars only
Table 1: Fuel Door Release Actuator
Table 2: Fuel Door Release Diode
Table 3: Fuel Door Release Switch
Table 4: Rear Compartment Lid Release Actuator
Table 5: Rear Compartment Lid Release Switch

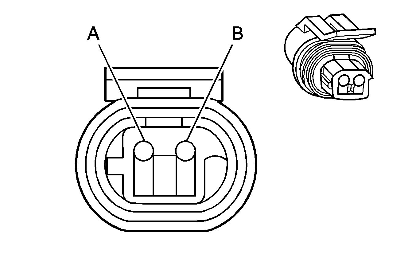
Fuel Door Release Actuator


Object Number: 1549396  Size: CH

Connector Part Information

    • 9123-7057-30
    • 2-Way (BK)

Pin

Wire Color

Circuit No.

Function

1

OG/PU

440

Battery Positive Voltage

2

--

--

Not Used

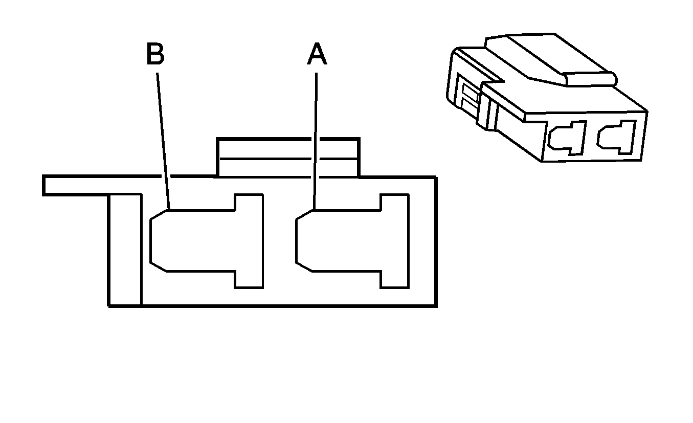
Fuel Door Release Diode


Object Number: 1356236  Size: CH

Connector Part Information

    • 7283-1223-30
    • 2-Way (BK)

Pin

Wire Color

Circuit No.

Function

A

PU/WH

1447

Fuel Door Release Switch Signal

B

OG/PU

440

Battery Positive Voltage

Fuel Door Release Switch


Object Number: 1356194  Size: CH

Connector Part Information

    • 7283-1261
    • 6-Way (WH)

Pin

Wire Color

Circuit No.

Function

1

--

--

Not Used

2

BN/WH

32

Instrument Panel Lamps Fuse Supply Voltage

3

BK/GN

151

Ground

4

--

--

Not Used

5

PU/WH

1447

Fuel Door Release Switch Signal

6

GY

230

Instrument Panel Lamps Dimming Control

Rear Compartment Lid Release Actuator


Object Number: 1356364  Size: CH

Connector Part Information

    • 7229-1029
    • 2-Way (WH)

Pin

Wire Color

Circuit No.

Function

A

RD/GN

56

Rear Compartment Lid Release Control

B

BK/BU

650

Ground

Rear Compartment Lid Release Switch


Object Number: 1356196  Size: CH

Connector Part Information

    • 9123-4577
    • 2-Way (WH)

Pin

Wire Color

Circuit No.

Function

A

BK/RD

1576

Rear Compartment Lid Release Switch Signal

B

BK/YE

251

Ground