GM Service Manual Online
For 1990-2009 cars only

Removal Procedure

  1. Remove the hinge pillar trim from the vehicle. Refer to Body Hinge Pillar Trim Panel Replacement in Interior Trim.

  2. Object Number: 1552652  Size: SH
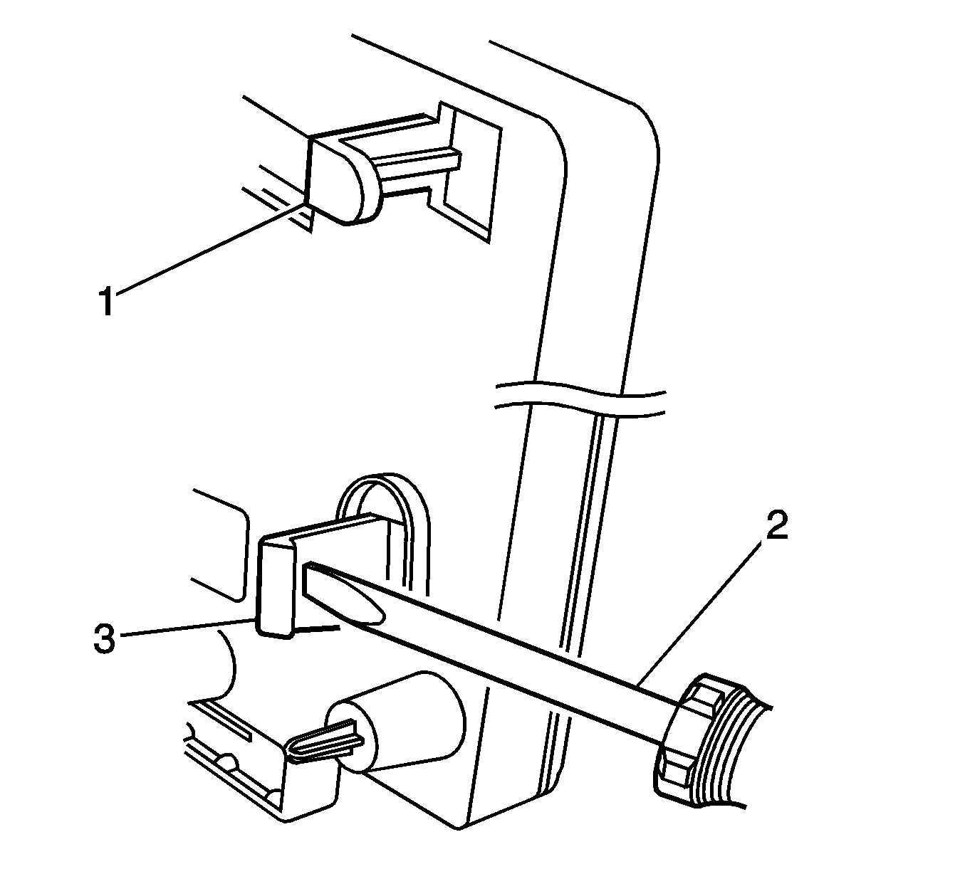
  3. Using a small screwdriver, depress the retaining tab (3).

  4. Object Number: 1552651  Size: SH
  5. Carefully pull the lower edge of the mounting bracket from the kick panel.
  6. Slide the mounting bracket downward to release the retainer, then remove the bracket.

  7. Object Number: 1552653  Size: SH
  8. Using a small screwdriver, pry the locking tab from the transmission control module (TCM) connector (2).
  9. Release the connector from the TCM.
  10. Remove the TCM from the mounting bracket.

Installation Procedure

  1. Position the TCM in the mounting bracket.
  2. Connect the TCM electrical connector to the TCM.

  3. Object Number: 1552653  Size: SH
  4. Install the locking tab onto the electrical connector.
  5. Position TCM mounting bracket on the lower kick panel, then push the bracket upward to position the upper retainer in place.
  6. Depress the mounting bracket at the bottom to secure the TCM in place.
  7. Install the hinge pillar trim on the vehicle. Refer to Body Hinge Pillar Trim Panel Replacement in Interior Trim.
  8. Connect the scan tool, then clear any TCM DTCs that may have set during the removal procedure.
  9. Important: It is recommended that transmission adaptive pressure (TAP) information be reset.

    Resetting the TAP values using a scan tool will erase all learned values in all cells. As a result, The ECM, PCM or TCM will need to relearn TAP values. Transmission performance may be affected as new TAP values are learned.

  10. Reset the TAP values. Refer to Transmission Adaptive Functions .