GM Service Manual Online
For 1990-2009 cars only

Tools Required

J 33163 Valve Tray Set


    Object Number: 1580996  Size: SH
  1. Position the control valve assembly on the work table so that the main valve body assembly is facing up.
  2. Remove 6 bolts (1) retaining the transmission fluid pressure (TFP) switch to the main valve body.

  3. Object Number: 1580997  Size: SH
  4. Remove the TFP switch (1) from the main valve body (3).
  5. Remove 2 bolts retaining the reverse signal pipe (2) to the main valve body (3).
  6. Remove the reverse signal pipe (2) from the main valve body (3).

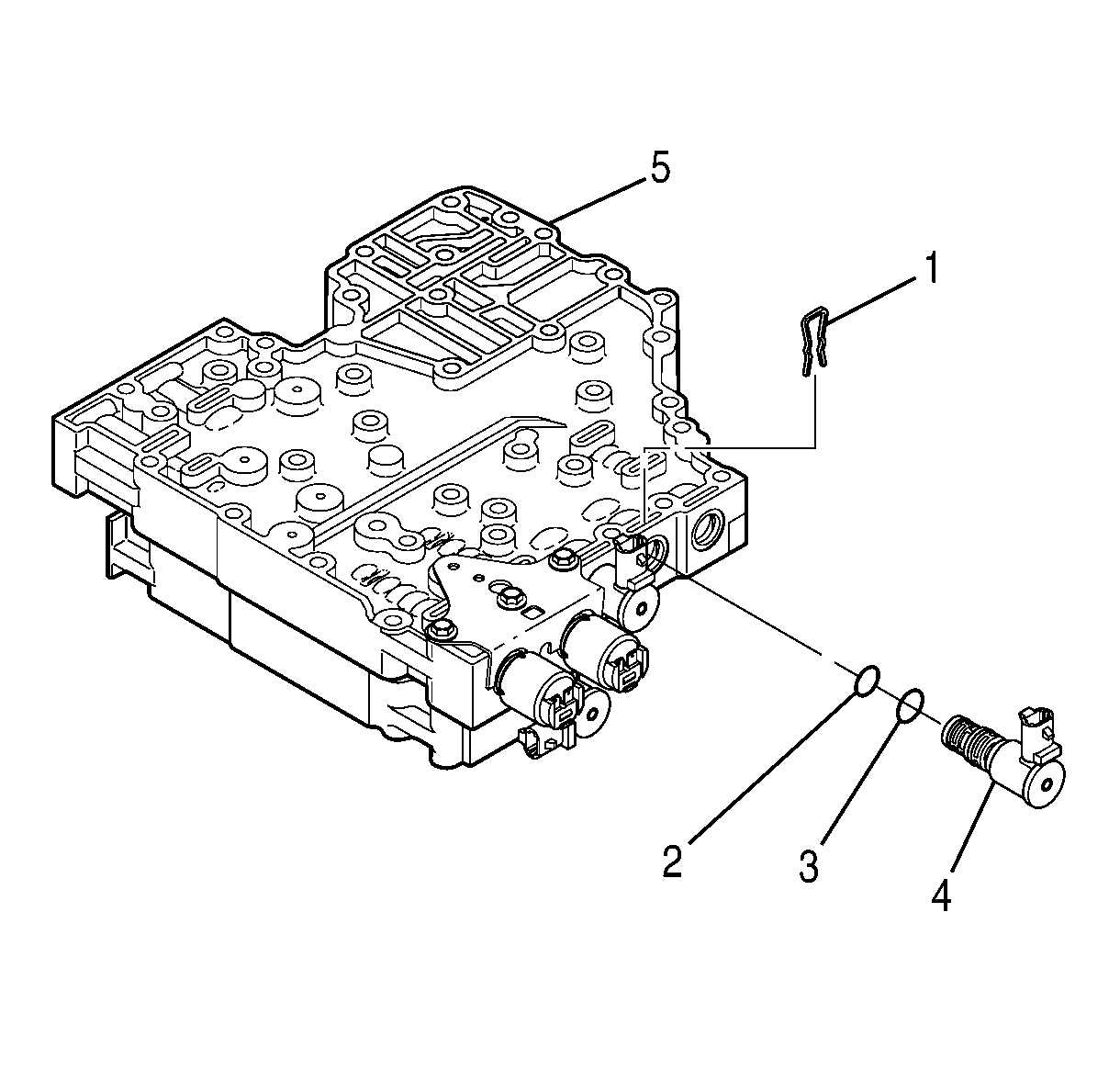
  7. Object Number: 1580999  Size: SH
  8. Remove 2 bolts (1) retaining the modulated main pressure solenoid valve body to the main valve body (3).
  9. Important: To help prevent confusing parts on assembly, use J 33163 to store the removed control valve assembly valves, springs, and stops.

  10. Remove the modulated main pressure solenoid valve body (2) and six speed tube.
  11. Remove the modulated main pressure (MAIN MOD) solenoid retainer (5) from the bottom of the valve body.
  12. Remove the MAIN MOD solenoid (3).
  13. Remove 2 O-rings (4) from the MAIN MOD solenoid (3).

  14. Object Number: 1581001  Size: SH
  15. Remove 1 bolt (1) retaining the torque converter clutch pressure control solenoid (TCC PCS) bracket to the main valve body.
  16. Remove the TCC PCS bracket (2).
  17. Remove the TCC PCS (7), valve (4), and spring (3).
  18. Remove the O-rings (5, 6) from the TCC PCS (7).

  19. Object Number: 1331377  Size: SH
  20. Remove the shift solenoid 2 (SS2) retainer (1).
  21. Remove the SS2 (4).
  22. Remove the O-rings (2, 3) from the SS2 (4).

  23. Object Number: 1331380  Size: SH
  24. Remove the shift solenoid 3 (SS3) retainer (1).
  25. Remove the SS3 (4).
  26. Remove the O-rings (2, 3) from SS3 (4).

  27. Object Number: 1331541  Size: SH
  28. Remove 3 bolts (1) that retain the PCS1 and PCS2 retaining bracket (2) to the main valve body (3).

  29. Object Number: 1581003  Size: SH
  30. Remove the PCS1 and PCS2 retaining bracket (1), 2 accumulator springs (2), and 2 accumulator plugs (3).
  31. Remove the PCS1 (15), valve (13), spring (12), valve (11), and spring (10).
  32. Remove the PCS2 (9), valve (7), valve (6), and spring (5).
  33. Remove the O-ring (14) from the PCS1 (15).
  34. Remove the O-ring (8) from the PCS2 (9).

  35. Object Number: 1581004  Size: SH
  36. Position the control valve body on the work table so that the shift valve body (1) is facing up.
  37. Remove the shift solenoid 1 (SS1) retainer (2).
  38. Remove the SS1 (5).
  39. Remove the O-rings (3, 4) from SS1 (5).

  40. Object Number: 1581007  Size: SH

    Notice: DO NOT damage the solenoids when turning over the control valve assembly.

  41. Position the control valve assembly so that the main valve body is facing up.
  42. Remove 7 of the 11 bolts marked (1) retaining the shift valve body and the main valve body together.
  43. Position the control valve body assembly on the work table so that the main valve body is on edge, sideways.
  44. Loosen the remaining 4 bolts marked (1) so that the bolts are partially threaded into the shift valve body and protrude from the main valve body.
  45. Gently tap the bolts until the assembly separates.

  46. Object Number: 1331397  Size: SH
  47. Position the control valve assembly on the work table so that the shift valve body (1) is facing up.
  48. Separate the shift valve body assembly (1), the separator plate (2), and the main valve body assembly (4).