GM Service Manual Online
For 1990-2009 cars only

CARPET SHORT AT FLOOR CONSOLE INSTALL NEW LEFT CONSOLE PANEL

VEHICLES AFFECTED: 1985-86 GRAND AM

CONDITION:

---------- On certain 1985 and early 1986 Grand Am's there may be a gap between the carpeting and drivers side console (see Figure 1).

CAUSE:

------ This condition is caused by the cut-out in the carpet for the console extension bracket being too large and may become more apparent as the carpet padding settles with use.

CORRECTION:

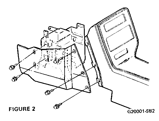
----------- To repair this condition replace the existing console left side panel with the new design panel part number 22534064. (See Figure 2).

NOTE: The new panel, available in black only, should be painted using the established procedures and labour times.


Object Number: 94160  Size: MF


Object Number: 92715  Size: SF

General Motors bulletins are intended for use by professional technicians, not a "do-it-yourselfer". They are written to inform those technicians of conditions that may occur on some vehicles, or to provide information that could assist in the proper service of a vehicle. Properly trained technicians have the equipment, tools, safety instructions and know-how to do a job properly and safely. If a condition is described, do not assume that the bulletin applies to your vehicle, or that your vehicle will have that condition. See a General Motors dealer servicing your brand of General Motors vehicle for information on whether your vehicle may benefit from the information.