GM Service Manual Online
For 1990-2009 cars only

DTC P0753 1-2 Shift Solenoid Circuit Electrical 2.4L VIN T

Table 1: Shift Solenoid State and Gear Ratio
Table 2: DTC P0753 1-2 Shift Solenoid Electrical

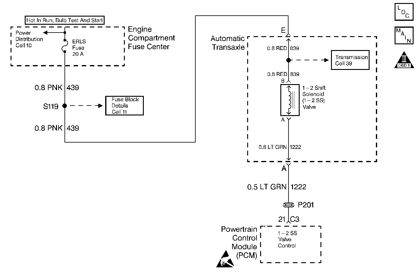
Object Number: 29644  Size: MF
Automatic Transmission Components
Automatic Transmission Controls Schematics
OBD II Symbol Description Notice
Handling ESD Sensitive Parts Notice

Circuit Description

The 1-2 Shift Solenoid Valve (1-2 SS Valve) controls the transmission fluid pressure on the 1-2 shift valve. The ERLS fuse provides ignition voltage to the solenoid. The Output Driver Module (ODM), within the Powertrain Control Module (PCM), provides ground. The PCM monitors voltage levels at the ODM. When you command the 1-2 SS Valve ON, the PCM receives low voltage. When you command the 1-2 SS Valve OFF, the PCM receives high voltage.

DTC P0753 sets if the received voltage is outside the calibration limits. DTC P0753 is a type A DTC.

Conditions for Setting the DTC

    • No System Voltage Malfunction DTC P0560
    • The ignition is ON.
    • The system voltage is more than 9.0 volts.
    • No open or short to ground exists for 4.3 seconds.

Action Taken When the DTC Sets

    • The PCM inhibits downshifts to 2nd gear if the vehicle speed is greater than 48 km/h (30 mph).
    • The PCM illuminates the Malfunction Indicator Lamp (MIL).

Conditions for Clearing the MIL/DTC

    • The PCM turns OFF the MIL after three consecutive ignition cycles without a failure reported.
    • A scan tool can clear the DTC from the PCM history. The PCM clears the DTC from the PCM history if the vehicle completes 40 warm-up cycles without a failure reported.
    • The PCM cancels the DTC default actions when the fault no longer exists and the ignition is OFF long enough in order to power down the PCM.

Diagnostic Aids

    • Inspect the wiring for poor electrical connections at the PCM. Inspect the wiring at the transmission 7-way connector. Inspect the wiring at the 1-2 SS Valve connector. Look for the following conditions:
       - A bent terminal
       - A backed out terminal
       - A damaged terminal
       - Poor terminal tension
       - A chafed wire
       - A broken wire inside the insulation
    • When diagnosing for an intermittent short or open condition, massage the wiring harness while watching the test equipment for a change.

Shift Solenoid State and Gear Ratio

Gear

1-2 Shift Solenoid

2-3 Shift Solenoid

Gear Ratio

1st

ON

ON

2.921:1

2nd

OFF

ON

1.568:1

3rd

OFF

OFF

1.000:1

4th

ON

OFF

0.705:1

Reverse

ON

ON

2.385:1

Test Description

  1. This step isolates the fault between the engine harness and the transmission harness.

  2. This step verifies that circuit 1222 is neither open nor shorted to power.

  3. This step verifies that the 1-2 shift solenoid has neither shorted across its windings nor increased its resistance.

DTC P0753 1-2 Shift Solenoid Electrical

Step

Action

Value(s)

Yes

No

1

Was the Powertrain On-Board Diagnostic (OBD) System Check performed?

--

Go to Step 2

Go to Powertrain On Board Diagnostic (OBD) System Check

2

  1. Install the scan tool (tech 1) ®.
  2. With the engine OFF, turn the ignition switch to the RUN position.
  3. Important: Before clearing the DTCs, use the scan tool in order to record the Freeze Frame and Failure Records for reference. The Clear Info function will erase the data.

  4. Record the DTC Freeze Frame and Failure Records.

Are DTCs P0758, P1860, and P1864 set?

--

Go to Step 3

Go to Step 6

3

  1. Remove the ERLS fuse.
  2. Inspect the fuse for an open.

Did you find and correct a problem?

--

Go to Step 4

Go to Step 5

4

Repair short to ground in circuit 439.

Refer to Troubleshooting Procedures, Section 8.

Did you find and correct a problem?

--

Go to Step 19

--

5

Repair the open in circuit 439.

Refer to Troubleshooting Procedures, Section 8.

Did you find and correct a problem?

--

Go to Step 19

--

6

  1. Turn the ignition switch OFF.
  2. Disconnect the transmission 7-way connector.
  3. Install the J 38835 Transmission Electrical Jumper on the engine harness connector.
  4. Connect a test lamp from terminal E to terminal A of the jumper.
  5. Important: Additional DTCs will set.

  6. With the engine OFF, turn the ignition ON.

Is the test lamp ON?

--

Go to Step 7

Go to Step 8

7

Inspect circuit 1222 for a short to ground.

Refer to Troubleshooting Procedures, Section 8.

Did you find and correct a problem?

--

Go to Step 19

Go to Step 18

8

  1. Select A/T Outputs, 1-2 Solenoid.
  2. Cycle the 1-2 solenoid ON and OFF three times.

Does the test lamp cycle ON and OFF as commanded?

--

Go to Step 12

Go to Step 9

9

Inspect circuit 1222 for an open.

Refer to Troubleshooting Procedures, Section 8.

Did you find and correct a problem?

--

Go to Step 19

Go to Step 10

10

Is the test lamp always OFF?

--

Go to Step 11

--

11

Inspect circuit 1222 for a short to power.

Refer to Troubleshooting Procedures, Section 8.

Did you find and correct a problem?

--

Go to Step 19

Go to Step 18

12

  1. Turn the ignition OFF.
  2. Disconnect the J 38835 Transmission Electrical Jumper from the engine harness.
  3. Connect the J 38835 Transmission Electrical Jumper to the 7-way transmission connector.
  4. Connect an ohmmeter from terminal E to terminal A of the jumper.

Is the measured resistance within the specified range?

19-31ohms

Go to Step 18

Go to Step 13

13

Is the resistance greater than the specified value?

100ohms

Go to Step 14

Go to Step 15

14

  1. Inspect the RED wire circuit 439 for an open.
  2. Inspect the GRN wire circuit 1222 for an open.

Refer to Troubleshooting Procedures, Section 8.

Did you find and correct a problem?

--

Go to Step 19

Go to Step 17

15

Connect the ohmmeter from terminal A of the jumper to ground.

Is the resistance less than the specified value?

100ohms

Go to Step 16

Go to Step 17

16

Inspect the GRN wire circuit 1222 for a short to ground.

Refer to Troubleshooting Procedures, Section 8.

Did you find and correct a problem?

--

Go to Step 19

--

17

Replace the 1-2 Shift Solenoid.

Refer to 1-2 Shift Solenoid Valve Replacement, in On-Vehicle Service.

Is the replacement complete?

--

Go to Step 19

--

18

Replace the PCM.

Refer to Powertrain Control Module/EEPROM Replacement/Programming , Section 6.

Is the replacement complete?

--

Go to Step 19

--

19

In order to verify your repair, perform the following procedure:

  1. Select DTC.
  2. Select Clear Info.
  3. Operate the vehicle under the following conditions:
  4. • The ignition switch is ON.
    • The engine speed is more than 500 RPM for more than 5 seconds.
    • The vehicle is not in fuel shut off.
    • The system voltage is greater than 9 volts.
    • Drive the vehicle through a 1-2 shift cycle.
    • No open or short to ground exists for more than 4.3 seconds in each solenoid state.
  5. Select Specific DTC. Enter DTC P0753.

Has the test run and passed?

--

System OK

Begin the diagnosis again. Go to Step 1

DTC P0753 1-2 Shift Solenoid Circuit Electrical 3.1L VIN M

Table 1: Shift Solenoid State and Gear Ratio
Table 2: DTC P0753 1-2 Shift Solenoid Electrical

Object Number: 29634  Size: MF
Automatic Transmission Components
Automatic Transmission Controls Schematics
OBD II Symbol Description Notice
Handling ESD Sensitive Parts Notice

Circuit Description

The 1-2 Shift Solenoid Valve (1-2 SS Valve) controls the transmission fluid pressure on the 1-2 shift valve. The ERLS fuse provides ignition voltage to the solenoid. The Output Driver Module (ODM), within the Powertrain Control Module (PCM), provides ground. The PCM monitors voltage levels at the ODM. When you command the 1-2 SS Valve ON, the PCM receives low voltage. When you command the 1-2 SS Valve OFF, the PCM receives high voltage.

DTC P0753 sets if the received voltage is outside the calibration limits. DTC P0753 is a type A DTC.

Conditions for Setting the DTC

    • No System Voltage Malfunction DTC P0560
    • The engine speed is greater than 500 RPM for more than 5 seconds.
    • Not in fuel shut off
    • No open or short to ground exists for 4.3 seconds.

Action Taken When the DTC Sets

    • The PCM inhibits downshifts to 2nd gear if the vehicle speed is greater than 48 km/h (30 mph).
    • The PCM illuminates the Malfunction Indicator Lamp (MIL).

Conditions for Clearing the MIL/DTC

    • The PCM turns OFF the MIL after three consecutive ignition cycles without a failure reported.
    • A scan tool can clear the DTC from the PCM history. The PCM clears the DTC from the PCM history if the vehicle completes 40 warm-up cycles without a failure reported.
    • The PCM cancels the DTC default actions when the fault no longer exists and the ignition is OFF long enough in order to power down the PCM.

Diagnostic Aids

    • Inspect the wiring for poor electrical connections at the PCM. Inspect the wiring at the transmission 7-way connector. Inspect the wiring at the 1-2 SS Valve connector. Look for the following conditions:
       - A bent terminal
       - A backed out terminal
       - A damaged terminal
       - Poor terminal tension
       - A chafed wire
       - A broken wire inside the insulation
    • When diagnosing for an intermittent short or open condition, massage the wiring harness while watching the test equipment for a change.

Shift Solenoid State and Gear Ratio

Gear

1-2 Shift Solenoid

2-3 Shift Solenoid

Gear Ratio

1st

ON

ON

2.921:1

2nd

OFF

ON

1.568:1

3rd

OFF

OFF

1.000:1

4th

ON

OFF

0.705:1

Reverse

ON

ON

2.385:1

Test Description

  1. This Step isolates the fault between the engine harness and the transmission harness.

  2. This Step verifies that circuit 1222 is neither open nor shorted to power.

  3. This step verifies that the 1-2 shift solenoid has neither shorted across its windings nor increased its resistance.

DTC P0753 1-2 Shift Solenoid Electrical

Step

Action

Value(s)

Yes

No

1

Was the Powertrain On-Board Diagnostic (OBD) System Check performed?

--

Go to Step 2

Go to Powertrain On Board Diagnostic (OBD) System Check

2

  1. Install the scan tool (tech 1) ®.
  2. With the engine OFF, turn the ignition switch to the RUN position.
  3. Important: Before clearing the DTCs, use the scan tool in order to record the Freeze Frame and Failure Records for reference. The Clear Info function will erase the data.

  4. Record the DTC Freeze Frame and Failure Records.

Are DTCs P0758, P1860, and P1864 set?

--

Go to Step 3

Go to Step 6

3

  1. Remove the ERLS fuse.
  2. Inspect the fuse for an open.

Did you find and correct a problem?

--

Go to Step 4

Go to Step 5

4

Repair short to ground in circuit 439.

Refer to Troubleshooting Procedures, Section 8.

Did you find and correct a problem?

--

Go to Step 19

--

5

Repair the open in circuit 439.

Refer to Troubleshooting Procedures, Section 8.

Did you find and correct a problem?

--

Go to Step 19

--

6

  1. Turn the ignition switch OFF.
  2. Disconnect the transmission 7-way connector.
  3. Install the J 38835 Transmission Electrical Jumper on the engine harness connector.
  4. Connect a test lamp from terminal E to terminal A of the jumper.
  5. Important: Additional DTCs will set.

  6. With the engine OFF, turn the ignition ON.

Is the test lamp ON?

--

Go to Step 7

Go to Step 8

7

Inspect circuit 1222 for a short to ground.

Refer to Troubleshooting Procedures, Section 8.

Did you find and correct a problem?

--

Go to Step 19

Go to Step 18

8

  1. Select A/T Outputs, 1-2 Solenoid.
  2. Cycle the 1-2 solenoid ON and OFF three times.

Does the test lamp cycle ON and OFF as commanded?

--

Go to Step 12

Go to Step 9

9

Inspect circuit 1222 for an open.

Refer to Troubleshooting Procedures, Section 8.

Did you find and correct a problem?

--

Go to Step 19

Go to Step 10

10

Is the test lamp always OFF?

--

Go to Step 11

--

11

Inspect circuit 1222 for a short to power.

Refer to Troubleshooting Procedures, Section 8.

Did you find and correct a problem?

--

Go to Step 19

Go to Step 18

12

  1. Turn the ignition OFF.
  2. Disconnect the J 38835 Transmission Electrical Jumper from the engine harness.
  3. Connect the J 38835 Transmission Electrical Jumper to the 7-way Automatic Transmission connector.
  4. Connect an ohmmeter from terminal E to terminal A of the jumper.

Is the measured resistance within the specified range?

19-31ohms

Go to Step 18

Go to Step 13

13

Is the resistance greater than the specified value?

100ohms

Go to Step 14

Go to Step 15

14

  1. Inspect the RED wire circuit 439 for an open.
  2. Inspect the GRN wire circuit 1222 for an open.

Refer to Troubleshooting Procedures, Section 8.

Did you find and correct a problem?

--

Go to Step 19

Go to Step 17

15

Connect the ohmmeter from terminal A of the jumper to ground.

Is the resistance less than the specified value?

100ohms

Go to Step 16

Go to Step 17

16

Inspect the GRN wire circuit 1222 for a short to ground.

Refer to Troubleshooting Procedures, Section 8.

Did you find and correct a problem?

--

Go to Step 19

--

17

Replace the 1-2 Shift Solenoid.

Refer to 1-2 Shift Solenoid Valve Replacement, in On-Vehicle Service.

Is the replacement complete?

--

Go to Step 19

--

18

Replace the PCM.

Refer to Powertrain Control Module Replacement/Programming , Section 6.

Is the replacement complete?

--

Go to Step 19

--

19

In order to verify your repair, perform the following procedure:

  1. Select DTC.
  2. Select Clear Info.
  3. Operate the vehicle under the following conditions:
  4. • The ignition switch is ON.
    • The engine speed is more than 500 RPM for more than 5 seconds.
    • The vehicle is not in fuel shut off.
    • Drive the vehicle through a 1-2 shift cycle.
    • No open or short to ground exists for more than 4.3 seconds in each solenoid state.
  5. Select Specific DTC. Enter DTC P0753.

Has the test run and passed?

--

System OK

Begin the diagnosis again. Go to Step 1